SIRIUS SEM51 Sem External Motor

BEFORE YOU INSTALL
This installation should only be performed by a qualified tradesperson. Where possible, use a trained Sirius recommended installer (see Siriusbrand.com). Sirius will not be held responsible for issues that occur due to installation of the product by an unqualified tradesperson.
WARNING
- The motor must be accessible for servicing purposes. If not, servicing may be refused unless access can be provided. Prior to install please check minimum & maximum installation details on the Sirius website, FAQ under the support tab. Service is offered during normal business hours only, also appliances to have a clear access in a serviceable area.
- The ducting of the rangehood must not be connected to ducting which is used for exhausting other fumes from appliances, such as central heating, boilers etc.
- For the external exhausting of the fumes, comply with the Australian building standards.
- Ventilate the room suitably according to the Australian building standards when the appliance is working together with gas or oil appliances.
- The SEM motor is powered by the range hood. Standard 10AMP GPO at the point of rangehood required.
- Before connecting the rangehood to the mains supply, make sure that the voltage indicated in the rating plate corresponds to the mains voltage in the home.
- Before carrying out any sort of maintenance or cleaning operation, make sure that the appliance is disconnected from the electrical mains.
IMPORTANT INFORMATION
BEFORE INSTALLATION IN YOUR SIRIUS RANGEHOOD
FLASHING NOT INCLUDED
- Sirius has metal and tiled roof flashing available in various sizes from your retailer, or visit www.siriusbrand.com
Rangehood and SEM5 XS316 must be a minimum of 2 metres between rangehood and motor for noise reduction reasons. - Only use ducting that falls within the necessary minimum and maximum length requirements as specified in the installation guide.
- Try and minimise bends to the ducting for optimum performance.
- Use only suitable ducting as specified by Sirius. Under no circumstances is flexible ducting to be used as it creates unwanted noise, vibration and can place the motor under unnecessary stress resulting in premature failure of the SEM motor.
- Under no circumstances is the duct diameter to be reduced. A constant minimum diameter of 150mm for the SEM 5 must be maintained at all times.
- Read the mounting and operating instructions of the rangehood carefully.
- The manufacturer cannot be held responsible for a decrease in airflow or for an increase of noise level caused by non-compliance with the instructions above.
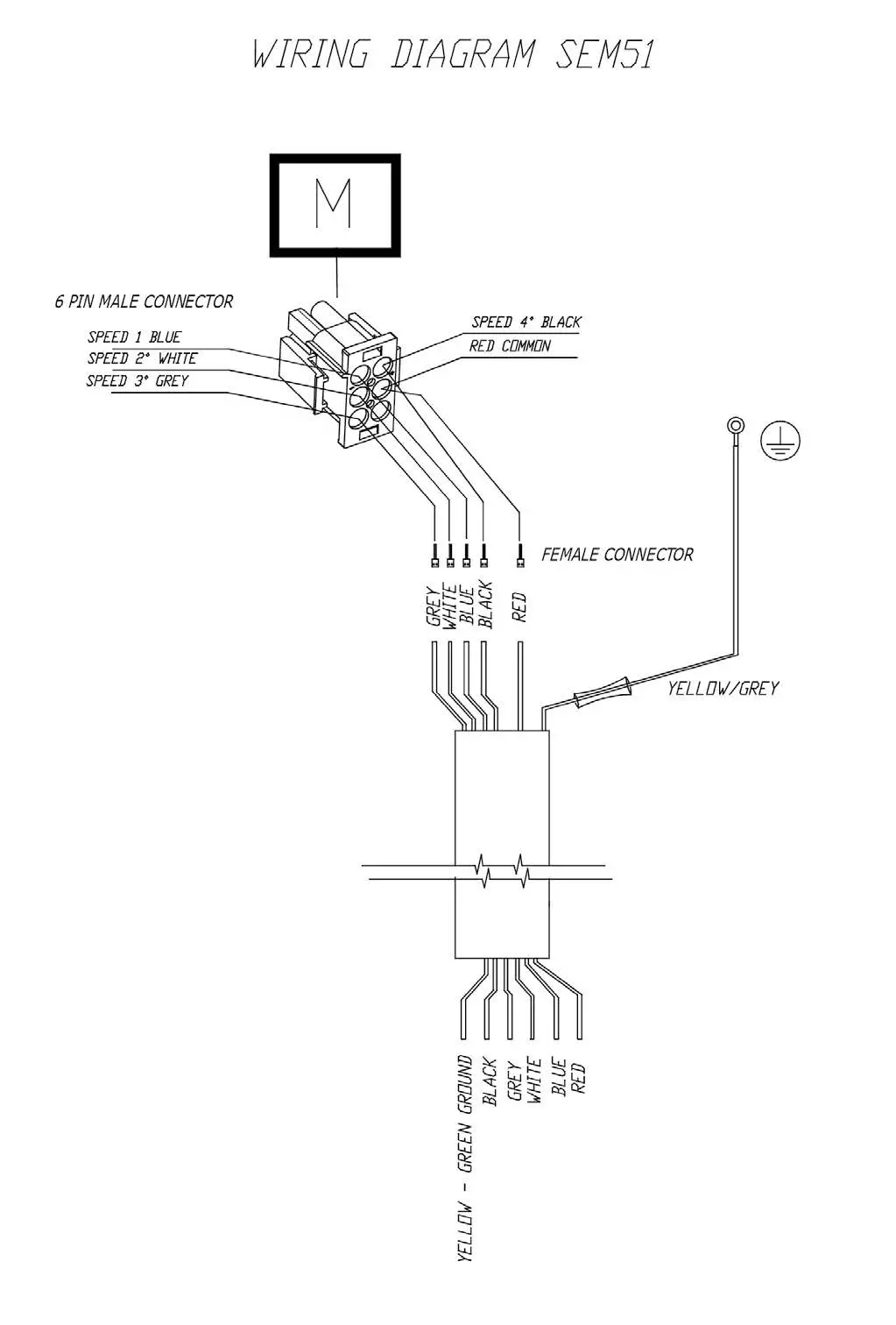
MOTOR WIRING CONNECTION
- Remove the four screws holding the front of the housing in place to expose the connections.
- Following the wiring chart on the front of the housing, connect each wire to the matching colour, making sure that this is done correctly before running power to the unit.
- Replace the cover and fix the four screws back into place.

BEFORE YOU INSTALL – DUCTING INFORMATION
Sirius warranty covers only Sirius product. If you choose to install a non-Sirius branded accessory such as flexible ducting, Sirius will only warrant the rangehood and motor. If installation is found to be the cause of failure or issue then charges will apply for service and parts. Flexible ducting is not permitted under any circumstances. Flexible ducting has been found to increase noise levels, increase vibration and reduce airflow. Sirius Semi-rigid or solid ducting can be used in lieu. There is a range available to suit any application.
WARNING
The appliance must be installed and connected to the power supply only by a qualified technician.
- There should be adequate ventilation of the room when the rangehood is used at the same time as appliances burning gas or other fuels (not applicable to appliances that only discharge the air back into the room)
- The details concerning the method and frequency of cleaning
- There is a fire risk if cleaning is not carried out in accordance with the instructions;
- Do not flambé under the range hood;
- CAUTION: Accessible parts may become hot when used with cooking appliances.
Ducting is available at www.siriusbrand.com
6 Year Warranty when Sirius Ducting is used. Full replacement warranty on parts and labour. See website for terms & conditions. A reduction in the duct diameter from stated ducting size will void warranty. If you are in doubt about the ducting, please contact Sirius on 1300 762 219 prior to installation.

The symbol on the product or on its packaging indicates that this product may not be treated as household waste. Instead it shall be handed over to the applicable collection point for the recycling of electrical and electronic equipment. By ensuring this product is disposed of correctly, you will help prevent potential negative consequences for the environment and human health, which could otherwise be caused by inappropriate waste handling of this product. For more detailed information about the recycling of this product, please contact your local city office, your household waste disposal service or the shop where you purchased the product. This appliance is marked according to the European directive 2002/96/EC on waste electrical and electronic equipment (WEEE).
NOTE
Please be aware for noise reasons the SEM51 motor is required to be a minimum of 2 meters from the location of the rangehood. 3-5 meters is the best practice installation. The motor has a 7-meter long control cable which cannot be lengthened under any circumstances. Any attempt to modify this product in any way will immediately void the manufacturer’s warranty.
INSTALLATION
- Pre-determine the exit point where the roof penetration will be and prepare a hole of 205 mm to accommodate the motor flue.
- Fix the Internal Bracket on the inside of the roof cavity using the 9 x 25mm Screws Supplied in the packaging. (Fig. 1) Please note that if there is no timber supports to hold the Internal bracket, horozontal timber supports (not supplied) may need to be fitted.

- Fit the roof flashing to the 200mm diameter steel pipe (as in Fig. 2) and insert the pipe through the roof penetration and internal bracket. Sirius Roof Flashing can be purchased through your retailer or at Siriusbrand.com. Metal roof flashing code: MRF G178, Tiled Roof Flashing code: TRF G075

- Fix the 200mm pipe to the internal bracket with the 8 x supplied 9.5mm screws. Please note that the 200mm pipe has no pre drilled holes and will need to be drilled at the desired height by the installer. A minimum of 100mm exposed section of 200mm pipe is required to accomodate the flashing. (Fig. 3)

- Once the 200mm pipe is securely fitted to the internal bracket, connect 150mm ducting to the motor. Please note, do not use screws to fix the ductwork to this section as it will prevent the nonreturn valves from opening during operation. Low-grade flexible ducting should not be used under any circumstances as it will void the manufacturer warranty. A minimum requirement semi-rigid ductwork can be used. See approved range of ducting at www.siriusbrand.com
- Feed the attached ductwork and power cable through the 200mm section of pipe into the roof cavity. (Fig. 4)

- Fix the motor to the exposed section of the 200mm pipe and secure in place with the supplied 8 x 5mm screws. Please note that the exit point on the motor needs to be positioned on the low side of the pitch on the roof. (Fig 5.).

- Run the motor power cable back to the location of the range hood and plug in the connections. Follow the MOTOR WIRING CONNECTION instructions on page 4 of this manual to connect the motor to the range hood.
IMPORTANT
Note: Never reduce the ducting diameter under any circumstances as it will severely affect the performance and increase the noise level of your range hood. A 150mm constant diameter duct run is required. Avoid abrupt changes in direction of your ductwork. For every 90 degrees bend, reduce your maximum duct length by 1 meter. Example: 2 x 90-degree bend, maximum duct length should not exceed 5 meters. - Run the ductwork from the motor location back to the location of the rangehood. Connect the ductwork to the plastic outlet collar on the range hood and secure in place. Please note, do not use screws to fix the ductwork to the rangehood as it will prevent the nonreturn valves from opening during operation.
- Plug the range hood into a 10 amp GPO located within 1 Metre of the range hood. Press the red reset button until you feel a click, you will now have power to the hood and motor and can begin operation of your Sirius Rangehood.
IMPORTANT
Sirius strongly recommends that the installation of the SEM51 motor should only be performed by a suitably qualified tradesperson. Sirius will not be held responsible for any ongoing issues due to incorrect or sub standard installation by an unqualified installer.
BAL40 MESH OPTIONAL Part number: SPS-75105000598
Remove the 4 screws holding the existing ventillation cover in place and take off. Fit the BAL40 mesh into place and replace the 4 screws. Refer to Fig. 6.
BRACKET AND INTERNAL PIPE DIMENSIONS

SEM51 MOTOR WIRING DIAGRAM

WARRANTY INFORMATION
Dear Customer, Thank you for choosing this Sirius Rangehood. We are sure that it will provide you with many years of excellent service. At Arisit Pty Limited we are dedicated to ensuring that our customers receive the best possible after-sales care. The Sirius ‘Protection Plan’ has been devised to give you added peace of mind. Should you encounter any problems with your appliance, our nationwide team of specially trained technicians will deal with your call swiftly and efficiently.
PRIORITY SERVICE, ACCESSORIES & SPARE PARTS
AUSTRALIA
- ARISIT PTY LIMITED
- 40-50 Mark Anthony Drive, Dandenong South, VIC 3175, Australia
- Phone: 1300 762 219
- Email: [email protected]
Warranty
By registering your ownership NOW, you qualify for Sirius’s Total Peace of Mind Protection Plan. Australian & New Zealand 3 / 6 Year Protection Plan. This guarantees your appliance for a full 3 years parts and labour & 10 years for the off-board motors (covering manufacturing defects only) from the date of purchase, subject to the Terms and Conditions overleaf. 3-year warranty is extended to a 6 year period only when Sirius ducting is installed.
Your Warranty
Register now to qualify
Terms & Conditions
These Terms and Conditions apply only to Sirius products distributed in Australia and New Zealand by Arisit Pty Limited.
- This warranty applies for a period of 3 years on all products.
- Warranty is extended to a 6 year period when Sirius ducting is installed.
- All off-board motors are covered under warranty for a 10 year period for manufacturing defects only.
- Warranty applies for parts and labour in Australia and New Zealand, commencing from date of purchase.
- This warranty applies only to the original purchaser/hire purchaser of this appliance and cannot be assigned or transferred. Failure to produce documentary proof of the date of original acquisition by the original purchaser will result in a charge being levied for work done, labour and parts supplied.
- This warranty does not apply to:
- Consumable items such as filters, fuses, and light bulbs.
- Damage to body work, paint work, glass, and plastic items (such as, but not limited to windows, covers, baskets, trays, worktops, door handles, control and kick panels.)
- Corrosion & rust damage. A fee may be charged following warranty claims where no fault is found with the appliance.
- This warranty will not apply where:
- The fault is caused by accident, misuse, an infestation of insect and or vermin, fire, flood or the use of products not approved by Arisit Pty Limited.
- There has been a failure to comply with the manufacturer’s operating and installation instructions.
- Service, modification or repair has been carried out by anybody other than an approved Arisit Service Technician.
- The appliance has been used/installed anywhere other than a private dwelling, or where it has been used other than for domestic use.
- The appliance is subject to a rental agreement.
- Any defective part that has been replaced becomes the property of Arisit Pty. Limited.
- This warranty applies only to Sirius appliances purchased and installed in Australia and New Zealand.
- Loss of use of the appliance or consequential loss of any nature is not covered.
- A charge may be levied at the discretion of Arisit Pty Limited if the call is deemed unnecessary or if the cause of failure is traced to external sourced such as, but not limited to: blown fused, power failure, faulty installation, customer misuse or negligence, etc
- Where the appliance, the subject of a warranty claim or repair, is used or installed more than TWENTY (20) kilometres from the nearest Arisit Service Division or Authorised Service Agent, the cost of delivery to the nearest Service Division or travel costs for a technician or Authorised Service Agent shall be for the account of the Purchaser. Where a built-in appliance is located or installed outside the Arisit Authorised Service Agent’s normal service area, additional travel and labour costs shall be the account of the Purchaser.
- Service is offered during normal business hours only, also appliances to have a clear access in a serviceable area
- Arisit Pty Limited shall not under any circumstances be responsible in terms of this warranty for the replacement or repair of any part of the equipment which may have been damaged in transit, during and after installation or imperfections after installation.
- Losses caused by act of God, failure to obtain spare parts, strikes or lockouts are not covered.
- External off board motors must be installed a minimum of 2 metres and maximum of 7 metres away from the rangehood. This is for optimum sound and performance.
- All motors must be accessible for servicing purposes and if installed above 2 metres from ground height additional cost will be incurred due to OH&S standards for service agents. Prior to install please check minimum & maximum installation details on the Sirius website, FAQ under support tab. We reserve the right to amend any of the above without prior notice.
- This warranty does not affect your statutory rights.
ARISIT PTY LIMITED (Australia)
- ABN 23 091 515 294
- 40-50 Mark Anthony Drive
- Dandenong South VIC 3175
- P: Sales & Service: 1300 762 219
- F: Sales & Service: (03) 9768 0838
- E: [email protected]
ARTIST PTY LIMITED (New Zealand)
1A Howe Street Newton, Auckland 1145 PO Box 68-140 Newton, Auckland 1145
- P: (09) 306 1020 – Fax: (09) 302 0077
- E: [email protected]
www.arisit.com www.siriusbrand.com
6 Year Warranty
when Sirius ducting is used. Full replacement warranty on parts and labour. Check website for T&Cs.
10-year warranty on SEM motors
Sirius Hoods and ducting products are only available from our select group of Sirius Professional Stockists nationwide. For the latest list of Sirius Stockists near you, please refer to www.siriusbrand.com All efforts have been made to ensure that the information provided in this brochure is correct at the time of printing. Due to continuous product improvement and ongoing development, Sirius reserves the right to make changes to the products and technical data without prior notice. Some products appearing in this brochure may be for illustrative purposes only. Diagrams are indicative measures only. Prior to commencing cabinetry cutouts the operating/installation instructions accompanying the product must be referred to at www.siriusbrand.com
























