MITSUBISHI ELECTRIC MAC-334IF-E System Control Interface

How to Use / How to Install
Before Installation
How to Use the SYSTEM CONTROL Interface.
Functions
Connecting with M-NET system
The room air conditioner can be managed centralized or individually by the system controller using M-NET communications control.

Used as wired remote controller
MA remote controller can be used as a wired remote controller.

Remote control
Contact signals enable inputting of ON/OFF, prohibiting/allowing operation, and heating/cooling.

Status indicator output
Signals of ON/OFF, error/normal, heater ON/OFF, and humidifier ON/OFF are output.

Sample System Configuration
- System controller, etc
- SYSTEM CONTROL Interface
- Indoor Unit
- MA remote controller
- Contract point
- Relay
- Coil
- Power supply unit for M-NET transmission line
- External power supply for12V DC
Function and electric wiring of interface each part

Dip Switch Details
This function cannot be used regardless of the setting of SW502-7 when any of System controller, ME remote controller, or MA remote controller
which are not compatible with Dual auto mode are connected to this interface unit. This function cannot be used regardless of the setting of SW502-7 when the air conditioner which is not compatible with Dual auto mode is set in the same group.V When you connect MA remote controller to an indoor unit, Dual auto mode is not available. (Set SW502-7 ON.) When you use this function, the operation mode cannot be set to automatic by the remote controller attached to the air conditioner
Parts

Connecting the SYSTEM CONTROL Interface to a room air conditioner
- Connect the interface unit 1 and the indoor control board of a room air conditioner using the connecting cable (5-core) that comes with the interface
unit 1 .
Warning
Securely fix the connecting cable in the designated place. Failure to do so may cause an electric shock, fire, or malfunction. - The connecting cable (5-core) connected to a room air conditioner should be wired according to the room air conditioner installation manual
Notes
- Extending or shortening the connecting cable (5-core) that comes out of the interface unit 1 cause it to malfunction. Also, keep the connecting cable (5-core) as far as possible away from the electrical wires and ground wire. Do not bundle them together.
- To prevent the board from being damaged by static electricity, always remove static electricity before starting work
Connecting the SYSTEM CONTROL Interface with each system
(For details on each system, see the relevant instruction manual.)
- Screw the mounting cord clamp 4~5 according to the thickness of the connecting cable used for each system. Fasten the cable tie 8 as shown in the figure to prevent undesirable movement of the connecting cable.

- The connecting cable (5-core) connected to a room air conditioner should be mounted at the room air conditioner or its vicinity
If the screw for the cable mount of the room air conditioner cannot be used, replace with the screw for mounting
Notes- If the connecting cable is not securely mounted, the connector may come off, break, or malfunction.
- The dip switch (SW500, SW502) and the rotary switch (SW501, SW510, SW580) on the interface unit 1 do not operate if they are not set correctly.
- Conduct the settings of the interface unit 1 dip switch (SW500, SW502) and rotary switch (SW501, SW510, SW580) before turning on the power.
Connecting with M-NET system
Connecting the SYSTEM CONTROL Interface to M-NET cable
The room air conditioner can be managed centralized or individually by the system controller using M-NET communications control

- To connect with the system controller and ME remote controller, connect the M-NET communication cable A or ME remote control cable B with
TB520. (It is unpolarized.) Connect 2 core communication cable with A1/B1 or A2/B2. (There will be no problems with connecting to either one.) - Cross the shield portion of each connecting cable using the S terminal only when cross wiring the communication cables A .
- After wiring is complete, mount securely with any of mounting cord clamp 4 to 6 , and fix with cable tie 8 as shown in the figure.

To prevent penetration by condensation, insects, etc., seal the opening well with putty.
Notes
- Electrical work should be performed in accordance with the Technical Standards Regarding Electrical Equipment and the Interior Wiring Standards.
- Connecting wires and remote control cables should be located as far away from other electrical wiring as possible. Placing them too closely
together could cause a malfunction. - To connect with the M-NET system and MA remote controller, connection is limited to only one unit of the MA remote controller.
- Do not put in the same group as City Multi or P series.
- Test run cannot be conducted from the ME remote controller or the system controller.
Setting when M-NET is connected

Connecting with MA remote controller
Connecting the SYSTEM CONTROL Interface to MA remote controller
A room air conditioner can be operated with the wired remote control.

- To connect with the MA remote controller, connect the MA remote control cable C with TB580. (It is unpolarized.)
- When more than one unit of room air conditioner is operated in a group, make a cross wire connection at TB580 with the MA remote control cable C .
- The MA remote controller can carry out simultaneous control of up to 16 sets of room air conditioners.
- Up to two MA remote controllers can be connected in one group. However, up to one can be connected when using PAR-CT0 MA.
- Wiring length from the interface at the refrigerant address “0” to the MA remote controller should be less than 10 m [33 ft.].
- To operate the room air conditioner in a group, make the total length of wiring for the MA remote controller less than 50 m [164 ft.].
Notes
- Be sure to set the “Auto Heating/Cooling Display Setting” of the MA remote controller OFF before use.
- For details on the “Auto Heating/Cooling Display Setting”, refer to the MA remote controller instruction manual.
- When the “Auto Heating/Cooling Display Setting” is ON, the remote controller display may differ from the actual operating status of the unit.
- A test run cannot be initiated using the test run switch on the MA remote controller.
- Group control with CITY MULTI is unable.
- When you use the PAR-CT0 MA with M-NET system, follow the restrictions below.
- Be sure to set “Brightness setting” of PAR-CT0 MA to “Low”.
- The wiring length from the interface at the refrigerant address “0” to the
PAR-CT0 MA should be less than 7 m [23 ft.]. Some room air conditioners cannot be used. - Make sure the room air conditioner can be used before installing it.
- Do not use the external output (CN104) of the indoor unit.
- If the indoor unit does not have the external output (CN104), you cannot use the PAR-CT0 MA with M-NET system.
- When you use the PAR-4 MA with M-NET system, follow either one of the restrictions below.
- Be sure to set “Brightness setting” of PAR-4 MA to “Low”.
- Do not use “Setting Signal Output” of this interface unit.
Group control

Notes
- Set a different refrigerant address for each room air conditioner even when a MULTI type unit is connected.
- When connected to the M-NET system and group control is executed using the MA remote controller, the group setting needs to be set on the M-NET system controller side.
Setting when MA remote controller is connected
Setup of an refrigerant address

Setup of Room temperature detector position

Setting when P series is mixed in the same group (only when running group operation using the MA remote controller)

Remote Control
Connecting the SYSTEM CONTROL Interface
You can turn room air conditioner on/off, prohibit/allow manual operations, or input of heating/cooling Vwith the ON/OFF switch.


- Connect CN591 with Switch1 and Switch2 as shown in figure above.
- Connect the supplied lead wires (3-core) 10 to the connector CN591 on the interface unit.
- Connect the supplied lead wires (3-core) 10 to the connecting cable D in the interface 1 as shown in the figure on the right side.
- Wiring length from the interface to the Switch1 and Switch2 should be less than 50m [164ft].
- Procure and wire locally the remote control part including the switches.
- For each connection pattern, refer to “Setting when using remote control.”
When using a Card key/Coin timer, make connections shown in the figure to the right.
Setting when using remote control (Select one between No.1 through 5 and set.)
*Set No.1, No.6, and No.7 when using the card key/coin timer

Setting operation (Valid only for No.1 and No.2. The following 2 functions can be used at the same time.)

Setting Signal Output
Connecting the SYSTEM CONTROL Interface
Each relay can be turned ON/OFF by synchronizing with the room air conditioner’s ON/OFF, error/normal, Heater ON/Heater OFF, and Humidifier ON/Humidifier OFF.

Notes
- Connecting terminal TB530 for power supply is polarized, so confirm proper polarity of the terminals before connecting.
- Do not connect 12V DC from the DC power supply to TB571.
- Confirm polarity when using a diode built-in relay. C of TB571 is electropositive potential +, and R1 and R2 are negative potential .
- For TB571 and TB530, insert wiring after inserting the flathead screwdriver into the terminal.
- Appropriate electric wire for TB571 and TB530 is as follows. Stranded wire: 0.3mm2 to 1.25mm2 [AWG22 to 16] Solid wire: ø0.4mm to ø1.2mm
[ø1/64in. to ø3/64in.] - Peeling dimension of the electric wire for TB571 and TB530 is 7mm to 10mm [9/32in. to 25/64in.].
- Wiring length from the interface to Relay 1 and Relay 2 should be less than 50m [164ft].
Setting when using Status Signal Output

Turn on/off with power
The room air conditioner turns on when power is supplied.
- When using for the first time, set to the operational status of your choice with the remote controller and leave the power off for 1 minute.
- When not used for a long period of time, you should set to the operational status of your choice again with the remote controller.

Notes
- The turn on/off with power function cannot be used when connected to multiple outdoor units.
- When starting two or more room air conditioners by using the turn on/off with power function, make the system so they do not recover simultaneously. (To avoid inrush current, start sequentially.)
Setting when using Turn on/off with power

Interface status monitor
You can check the status of the interface unit by the LED lamp on the interface unit 1 board.


Mounting the SYSTEM CONTROL Interface Unit
- The Interface unit 1 should be placed in a location where the connecting cable (5-core) from the interface unit 1 can reach an indoor unit.
- The device will not function properly the connecting cable is extended, so the connecting cable (5-core) should no be extended.
- Mount the interface unit 1 securely to a pillar or wall using 2 or more screws 2 .

Attach the connecting cable (5-core) of the interface unit 1 here. Store extra connecting cable (5-core) in the ductwork space behind the air conditioner. If there is any slack in the connecting cable (5-core), use a fastener 9 to keep it in place.
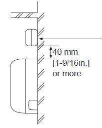
When Mounting Directly to a Wall
Mount the interface unit 1 case to the wall using the mounting screws 2

When the interface unit 1 is mounted above an indoor unit, it should be positioned 40 mm [1-9/16in.] or more away from the unit to ensure that ceiling grills can be removed

When mounting the interface unit inside a ceiling
When mounting the interface unit 1 inside a ceiling or wall, install an access door to facilitate maintenance

When mounting the interface unit 1 using a cushioning material 3 , be sure to mount it in a location where it will not fall.
Notes Regarding Use
The following control information should be thoroughly explained and provided to the users of this device. (Please provide these instructions to the
user once the installation is complete.) This Interface unit 1 operates room air conditioners using the controls of a City-Multi or P series, but there are several limitations imposed as a result of the functional differences between room air conditioners and packaged air conditioners.
- When operating the system using a System Controller, MA Remote Controller, or ME Remote Controller these operations will not appear on the
display of the wireless remote controller. - When original dehumidification mode is set with the remote controller attached to the room air conditioner, “Dry” is displayed because there is no
mode corresponding to dehumidification on the MA remote controller, ME remote controller, and the system controller. - Because the temperature range of the room air conditioners is broader than a System Controller, MA Remote Controller, or ME Remote Controller,
when the room air conditioners is set to lower than 17°C (63ºF) or higher than 30°C (87ºF), the temperature display on the a System Controller, MA
Remote Controller, or ME Remote Controller will show the minimum or maximum temperature that can be set. (For example, even if the room air
conditioner is set to cool a room to 16°C (61ºF), the display on a System Controller, MA Remote controller, or ME Remote Controller may read “17°C” (63ºF)). - Timer operations should be set using only the remote controller that came with the room air conditioners or the a System Controller, MA Remote
Controller, or ME Remote Controller. If both are used to set the timer to the same time, the timer will not function properly. - When “Manual operation prohibited” (ON/OFF, setting temperature, operation mode) is set with the system controller, the corresponding operation
by the remote controller attached to the room air conditioner is not accepted, but allowed operation is reflected. A beep sounds during operation to
confirm reception. - A part of functions including the operation of horizontal air blow direction cannot be used from the ME remote controller, the system controller, and
the MA remote controller. - “Manual operation prohibited” (filter sign, air direction, fan speed, timer) cannot be set by system controller.
Specifications




Notes


















