MITSUBISHI ELECTRIC MAC-883SG Air Deflector User Guide
Descriptions
The air outlet guide changes the direction of air from the outdoor unit and prevents short cycling.
Applicable Models
- MUZ-HJ25/35VA
- MUZ-BT20/25/35VG
- MUZ-DM25/35VA
- MUZ-HR25/35VF
Dimensions

Specifications
Exterior | Color (Munsell) | Ivory (3.0Y 7.8/1.1) |
| Surface treatment | Polyestel powder coating | |
Material | Electro-galvanized steel sheet | |
| Weight | 1.6 kg | |
Components
- Air outlet guide x1

- Screw M5 x 10 x4

How to Use / How to Install
Preparations
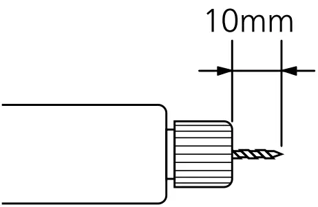
- Make a hole in the 4 concave parts indicated by ⇒ using a drill with a diameter of 4.0 mm.
- The length of the drill bit should be about 10 mm as shown in the figure below. If the drill bit is too long, it may damage the parts inside the outdoor unit.


Attaching the air outlet guide
Attach the air outlet guide to the outdoor unit with the 4 screws provided with the air outlet guide.
The air outlet guide is allowed to be installed in any of the following directions so that air blows upwards, to the left, or to the right.
* Do not install the air outlet guide in the downward direction, or it may cause short cycling.
Note: Tighten the screws securely.
A chattering sound could be produced due to vibration if the screws are loose.
* Tightening torque 2 upper screws 1.47 +0.196 N•m (15=2 kgf•cm)
2 lower screws 2.45 N•m (25 kgf•cm)























