USER MANUAL
DDP-200 88 KEYS DIGITAL PIANO
Welcome to Donner
Thank you for choosing Donner Digital Piano!
Please read this instruction manual carefully before using this product.
Be sure to save these instructions for future reference.
Warning:
TO REDUCE THE RISK OF FIRE OR ELECTRIC SHOCK, DO NOT EXPOSE THIS EQUIPMENT TO RAIN OR MOISTURE.
TO REDUCE THE RISK OF FIRE, ELECTRIC SHOCK AND ANNOYING INTERFERENCE, PLEASE USE ONLY
THE RECOMMENDED ACCESSORIES FOR UNINTERRUPTED SERVICE OF THIS DEVICE!
* DESIGN, ACCESSORIES, AND SPECIFICATIONS ARE SUBJECT TO CHANGE WITHOUT NOTICE.
WARNING
ELECTRIC SHOCK HAZARD DO NOT OPEN
PIANO ASSEMBLY
Electrical Piano Overall Assembly
Before you are ready to assemble the piano, please check if all parts are included in the package box.

- Piano Body
- Left Stand Board
- Right Stand Board
- Back Plate
- Pedal Box
- Corner Bracket
- Screw M6X30 (14PCS+2PCS For Replacement)
A. Use screws (M6x30) to fix the pedal box onto the left and right stand boards. (Make sure the direction is correct before installation.) Then install the anti-tilt corner bracket, the installation of corner brackets can be carried out according to your needs.

B. Use screws (M6x30) to fix the back plate onto the body leg which is finished in step (A).

C. Place the body on the installation step (B), and use the screws (M6x30) to lock the body from the bottom of the body to the holes.

D. After basic assembly, insert pedal cord into the bottom socket of the body and power cord to the back corresponding holes and power it on, then you can switch on the piano.

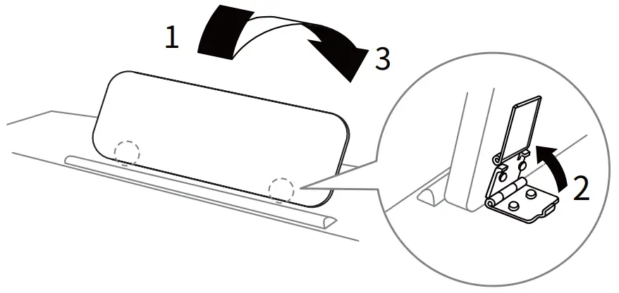
Key Cover
- Open the Key Cover
Lift the cover slightly, then push forward and slide it to the end. - Close the Key Cover
Pull the cover back toward you and gently put it down over the keys.

CAUTION:
- Hold the key cover with both hands when opening or closing it. Do not release it until it is fully opened or closed. Be careful to avoid catching fingers between the key cover and the main unit.
- Please do not put metal plate or paper on the key cover because small items may slip into the piano when the cover is opening. It may be difficult to get it out and lead to electric shock, short circuit, fire or terrible damage to the instrument.
- If you need to remove the piano, please be sure the key cover is closed.
- Please do not apply excessive force to the music stand when in use.
Music Stand
– Erect the Music Stand:
- Pull out the stand completely towards the front of the piano.
- Turn down two metal supports on each side of the rear of the stand.
- Lean the music stand against the metal supports.

– Put Down the Music Stand:
- Pull out the stand completely towards the front of the piano.
- Flick the metal supports (on the back of the music stand).
- Put the stand down lightly.

CAUTION:
Do not erect the stand vertically without a certain incline degree.
When putting down the stand, please do not release your hands before the stand is set flat.
PANEL INSTRUCTION
Control Panel

EXTERNAL CONNECTION
Power Cord Connecting
- Connect the power cord when using. Insert one end of the cord into the power socket behind the piano, and plug the other end of power adapter into the 100V-220V domestic power socket.
- Please unplug the power cord and save it in an appropriate way when it is not used for a long time.

Pedal Connecting
Three Pedals:
● Soft Pedal: Depressing this pedal softens the sound so that it can reduce its volume.
● Sostenuto Pedal: Depressing this pedal sustains the sound of only those notes that have been played.
● Sustain Pedal: Depressing this pedal sustains the sound after one’s hands have been lifted from the keyboard.

Headphones Connecting
When you need to practice alone or play at the midnight, you can insert the stereo headphones into the headphones output socket on the bottom of the piano.
Note:
Please avoid wearing headphones for a long time at high volume, preventing hearing damage.

Audio Devices Connecting
The input / output socket on the back panel can be used in connecting to stereo audio system, mixer, recorder or other audio devices.
Note: Please be sure the power supply of all the equipment have been turned off before connecting or disconnecting other devices.
Meanwhile, turn down the volume of all devices to a minimum before turn on the power of devices.

Computer Connecting
The USB socket of this piano is MIDI Jack that can be connected directly to the computer.
Insert one end of the connecting line of USB to this piano, and insert the other end to the USB socket of the computer to achieve two-way transmission of signals so that you can play the MIDI of the computer on this piano.
Note:
● When setting the software of the computer, do not set the USB audio device to Input & Output at the same time, or else the sound would overlap when you play.
● When using a USB connecting cable, do not use a USB hub.

AUTO POWER OFF
In standby mode, this piano will shut down automatically with no operation for 30 minutes. This capability can be enabled or disabled as needed.
FUNCTION INTRODUCTION
Operation Guide
At the same time as the [FUNCTION] button above, click the corresponding key to set the function of this piano.

Turn On the Power
- First, check if the power switch of the piano is turning off . If not, please turn off the power.
- Connect the power, insert the plug into the power socket behind the piano first, and then plug the opposite end of power adapter into the power socket.
- Before turning on the power, turn down the volume controller to the minimum first. Press the switch button and when the power button lights up, it indicates this piano is started.
- Before turning off the power of digital piano, turn down the volume controller to the minimum first, and press the button to turn it off.
Note:
Be sure the supply voltage is 12V, too high or too low will damage the piano.
Do not unplug the power cord from the power socket under the state of electrification.
NOTE
Please unplug the power plug when not in use or during a thunderstorm.

Master Volume Setting
Adjust the volume knob on the control panel to turn up & down the volume.
- Turn the knob right to increase the overall volume.
- Turn the knob left to decrease the overall volume.

Selecting & Playing TONE
● This piano has 6 pre-set authentic tones. (See Timbre sheet below for details.)
● In standby mode, press [ FUNCTION ] and [ #A2 ] / [ #C1 ] / [ #D1 ] / [ #F1 ] / [ #G1 ] / [ #A1 ] simultaneously to select the timbre.
● Press [ FUNCTION ] and adjust the encoder to enter the tone setting, press the encoder to confirm the sound and color selection, rotate the encoder to switch the sound and color, and press the encoder to confirm the current setting, then press the encoder to exit the function setting.
| NO. | Timbre | KEY |
| 1 | GRAND PIANO | #A2 |
| 2 | STAGE PIANO | #C1 |
| 3 | AMB PIANO | #D1 |
| 4 | STRING | #F1 |
| 5 | SLOW STRING | #G1 |
| 6 | ORGAN | #A1 |

SONG
● When the timbre is enabled, conduct related operation on SONG.
● Rotate the encoder to switch the music library, press the encoder to confirm the current setting, and press the encoder to exit the function setting. The demo song is suspended after the function is disabled
| Key | Description |
| #C | SONG 1 |
| #D | SONG 2 |
| #F | SONG 3 |
| #G | SONG 4 |
| #A | SONG 5 |

Reverb Effect
● The piano has 5 reverb Effect. Through adjusting reverb effects, it can achieve the effect of playing in different occasions.
● The default setting of reverb Effect is OFF.
● Press [FUNCTION] and [#a1], to turn OFF the Reverb Effect.
● Press [FUNCTION] and [#c2] / [#d2] / [#f2] / [#g2] / [#a2] to choose Reverb Effect.
| Key | Reverb Effect |
| #a1 | OFF |
| #c2 | AUCOUSTIC |
| #d2 | LIGHT |
| #f2 | AMBIENT |
| #g2 | REAL |
| #a2 | BALLAD |

Metronome Switch
● If you are not sure about the beat, use this metronome and get tips about specific beat.
● Press [ FUNCTION ] and adjust the encoder to enter the metronome setting, press down the encoder to enter the metronome speed selection, increase and decrease the speed through rotating the encoder, and press the encoder to confirm the current setting, then press the encoder to exit the function setting.
● Press the [FUNCTION] and [ #c ], use this metronome and get tips about the specific beat.
Notes:
During MIDI recording, you can turn on the metronome, but it will not be recorded as recording data.
Metronome Type
● Press [ FUNCTION ] and [ #g ] / [ #a ] / [ #c1 ] / [ #d1 ] / [ #f1 ] / [ #g1 ]
● Adjustment range:1-4
| Key | Type |
| #g | 4-Jan |
| #a | 4-Feb |
| #c1 | 4-Mar |
| #d1 | 4-Apr |
| #f1 | 8-Mar |
| #g1 | 8-Jun |

Metronome Speed
● Adjust the beat speed according to needs.
● Adjustment range: 30~240, the default value: 120.
● Press [ FUNCTION ] and [ #d ], the metronome speed -1.
● Press [ FUNCTION ] and [ #f ], the metronome speed +1.

Bluetooth
● The default state of Bluetooth MIDI function is on.
● You can select the Bluetooth name of this piano in the MIDI setting interface of the external device or software compatible with this piano to complete the connection.
● The Bluetooth name of this piano: DONNER DDP-200
● Instructions for use of Bluetooth MIDI: Any app that can connect to Bluetooth MIDI and use the MIDI standard protocol for playback.
● It is both compatible with IOS and Android devices.
Product List
| Name | Quantity |
| Power Adapter | 1PC |
| Piano Body | 1PC |
| Pedal Box | 1PC |
| Left Stand Board | 1PC |
| Right Stand Board | 1PC |
| Screw M6x30 | 14PCS+2PCS For Replacement |
| Corner Bracket | 2PCS |
| Manual | 1PC |
Product Parameters
| Product Name | DDP-200 | ||
| Size/Weight | Product Size | 135.8×32.2×77.9 cm | |
| Product Weight | 35 KG | ||
| Package Size | 146×39.2×40 cm | ||
| Package Weight | 39.6 KG | ||
| Performance Control | Keyboard | Keys | 88 keys graded hammer action |
| Pedal | Quantity | 3 | |
| Function | Sustain/Sostenuto/Soft | ||
| Body | Key Cover Type | Cover Type | |
| Music Stand | YES | ||
| Function | Polyphony | Polyphonies (Max) | 128 |
| Sound Resource | DONNER DSP | ||
| Pre-setting | Piano Demo Song | 5 | |
| Metronome | Type | 6 | |
| Beat Speed | 30-240 BPM | ||
| Tone | 6 | ||
| Effects | Reverb (5 types, switchable & adjustable) | ||
| Wireless | Bluetooth | DONNER DDP-200 | |
| Connecting Sockets | Power Socket | DC 12V 3A | |
| Headphone Socket | 2 x headphone sockets | ||
| AUX OUT Socket | YES | ||
| USB-MIDI Socket | YES | ||
| Pedal Socket | Sustain pedal sockets | ||
| Sound System | Amplifier | 15W x 2 | |
PIANO MAINTENANCE
Conscientiously do a good job in the maintenance and protection of this product. It plays an important role in prolonging the service life and reducing faults.
- In order to avoid deformation, discoloration, or more serious damage, do not store it in the following environments.
– Direct sunlight
– High temperature
– Excessive humidity
– Excessive dust
– Strong vibration - In order to avoid interference with other products such as televisions and radios, do not place the piano near the electrical devices.
- In order to avoid discoloration to the panel and keyboard, do not clean the piano with thinners, alcohol, or similar chemicals. Spots or dirt which is difficult to remove can be wiped off with a slightly water-dampened cloth.
- In order to avoid damage to the panel or internal electronic components, do not move the piano violently and place heavy objects on it.
SECURITY CONSIDERATION
WARNINGS/CAUTIONS
Power Adapter
– This product is available for the standard indoor wall socket.
– Please use only the power cord specified by this product.
– Please turn off the power supply and pull out the power cord when the product is not in use for an extended period of time.
Sign
In order to ensure that you use this product safely and correctly, prevent damage to the user and other people and the financial issue. The specification and the product are marked with a series of safety signs. All kinds of signs and their meaning are as follows:
Warning
This sign indicates that, if you ignore the flag and error operation of this product, there is a fire hazard or serious injury to personnel.
Attention
This sign indicates that, if you ignore the flag and the wrong operation of this product, there is a potential risk of injury or other financial damage caused by personnel.
Logo example
This triangle mark indicates that the user should pay attention to the matters.( Left case shows “Be careful electric shock.”)
The circular sign painting a slash said prohibited matters. The logo shows the specific content of the ban. (Left case shows “No Disassemble”.)
Blackdots indicate matters must be complied with. Icon in this sign indicates the specific content that must be followed. (Left case shows “The power plug must be pulled out of the socket.”)
Smoke, odor, overheating
– The following operations shall be carried out immediately to avoid the danger of fire and electric shock when the product is smoking, emitting odors, or overheating.
- Turn off the power supply.
- Pull the plug from the power outlet.
- Contact the local agency.
Power Supply and Power Line
– Improper use of power supply and power lines may cause the danger of fire and electric shock. The following precautions must be observed:
- Specified power lines for this product must be used.
- An AC power adaptor with output voltage within the household rated voltage must be used.
- Do not place the power cord near the heat and wet sources.
- Do not overload wall outlets and extension cords.
- Do not place heavy objects on the power lines.
- Do not twist and bend the power lines.
- Do not use wet hands to touch the power cord and plug.
- Unplug the power cord from the power outlet when not using the instrument or during a thunderstorm.
- Make sure that the power is off when connecting or cutting off the power cord.
- Children should not be allowed to contact the plug and power line when there is no adult supervision.
Water and Foreign Matter
– Please turn off the power supply and unplug the power cord so as to avoid the danger of fire and electric shock when water and other foreign matter into this product.
Dismantlement
– Please do not disassemble or modify this product so as to avoid the danger of fire and electric shock.
Handling and transportation
– Never apply excessive force to the controls, connectors, or other parts of the instrument.
– Grab the plug firmly while unplugging the cables, never pull the cables with force.
– Disconnect all cables before moving the instrument.
– Shocks caused by dropping, bumping the instrument, or placing heavy objects on top of it, can result in scratches and even more severe damage.
Placement
– Please do not place this product on an uneven surface or any other unstable place so as to avoid any falling damage.
Interface
– The interface of this product can only be connected to the specified equipment and devices. The connection of non-designated equipment or devices has the risk of fire and electric shock.
Plastic Bag
– Keep the plastic bag away from children to avoid suffocation
Volume
– Do not use the instrument at high volume for long periods of time. A high volume may damage your hearing.
Clean
– Please remove the power cord from the wall outlet before cleaning this product so as to avoid the danger of fire and electric shock.
TROUBLESHOOTING
| Issue | Reason | Solution |
| There was no sound on the keyboard. | 1.Volume controller set at minimum position. 2.Headphones or plug converters insert headphone jack. 3.The power supply is not connected, or the piano is off. | 1.Turn the volume to the right maximum volume. 2.Remove the original connector from the headphone jack. 3.Turn on the power supply and press the boot button. |
| The pedals don’t work. | 1.Connecting line jack of the pedal is not plugged into the piano. 2.Pedal plug loose. | 1.Plug the pedal cord into the piano socket. 2.Check to confirm whether the plug at one end of the pedal connection is loose or not, and then tighten it. |
| When the piano power is turned on or off there is a murmuring sound. | Normal phenomenon | This is a normal phenomenon, indicating that the current enters the machine at this time. |
| The piano is noisy when using a mobile phone. | Radio interference | The use of mobile phones in the vicinity of the piano produces radiation. To avoid this situation, you can turn off the mobile phone or use it away from the piano. |
| Abnormal tone or rhythm. | Power shortage | Power shortage. Check power stability. |
| It seems that all tones are pronounced or that the pronunciation seems to be cut off. | Normal phenomenon | The maximum number of simultaneous sounds on this instrument is 128 notes. If the dual tone mode is in use and the accompaniment or music is playing, some notes or sounds in the accompaniment or music will be default. |
| Under the same timbre, the quality of a note is different from that of a note. | Normal phenomenon | This is a normal phenomenon. This machine adopts AWM sound source mode. This kind of sound source is sampled and recorded in the whole keyboard area, so the quality of the two notes is slightly different. |
| Connecting computer and not recognized. | USB plug loose | No need to install extra drives. If the piano isn’t recognized by the computer, please check if the USB cords are connected securely or try to connect other USB sockets of the computer. . |
FCC STATEMENT
Changes or modifications not expressly approved by the party responsible for compliance could void the user’s authority to operate the equipment.
This equipment has been tested and found to comply with the limits for a Class B digital device, pursuant to Part 15 of the FCC Rules. These limits are designed to provide reasonable protection against harmful interference in a residential installation. This equipment generates uses and can radiate radio frequency energy and, if not installed and used in accordance with the instructions, may cause harmful interference to radio communications.
However, there is no guarantee that interference will not occur in a particular installation. If this equipment does cause harmful interference to radio or television reception, which can be determined by turning the equipment off and on, the user is encouraged to try to correct the interference by one or more of the following measures:
— Reorient or relocate the receiving antenna.
— Increase the separation between the equipment and receiver.
— Connect the equipment into an outlet on a circuit different from that to which the receiver is connected.
— Consult the dealer or an experienced radio/TV technician for help.
This device complies with part 15 of the FCC rules. Operation is subject to the following two conditions
- this device may not cause harmful interference, and
- this device must accept any interference received, including interference that may cause undesired operation.
This equipment complies with FCC radiation exposure limits setforth for an uncontrolled environment. This equipment should be installed and operated with minimum distance 20cm between the radiator & your body.
Email: [email protected]
Copyright © 2022 Donner Technology. All rights reserved.
Made in China![]()
U.S.A. Tel: 001 571 3705977
CANADA Tel: 001 613 4168166
U.K. Tel: 0044 2080 895 663
AUSTRALIA Tel: 0061 384004871
FRANCE Tel: 0033 970019475
JAPAN Tel: 0081 5052130367


















