K M 14960 Bass Saxophone Stand

Product Information
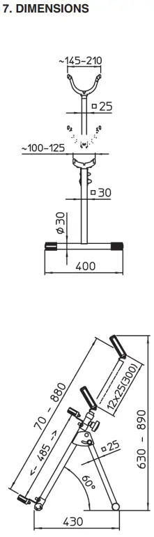
The K&M 14960 Bass Saxophone Stand is a sturdy and reliable stand designed to securely hold a bass saxophone. It has a footprint of 400 x 430 mm and can be adjusted in height from 630 to 890 mm. The stand weighs 3.3 kg and is made of durablematerials.
Product Usage Instructions
- Before setting up the stand, check that all components are present and in order.
- To set up the stand, pull apart the two foot tubes until they stop and place them on the floor. Adjust the compensation parquet protector to compensate for any unevenness in the floor.
- Position the extraction tube with support bracket. Note that the support bracket may need to be rotated or adjusted to fit properly.
- Attach the lower instrument rest securely.
- Adjustment options:
- To adjust the position of the lower instrument rest, loosen or remove the holder screw connection and reattach it in the desired position.
- To adjust the position of the support bracket top, slightly loosen the spring-loaded clamping knob. Pull the handle until the bolt disengages, then retract or extend the extension tube. Engage the bolt and tighten the handle.
- The shape of both brackets can be adjusted by bending the steel bands inside the rubber-like plastic coating. Carefully adjust them to fit the size of the bell of the saxophone.
- To hang up the instrument:
- Before use, ensure that the extension tube is extended far enough to prevent the instrument from touching the floor.
- Place the bell of the saxophone in the upper support bracket, close to the edge, to prevent it from slipping down.
- Place the instrument on the bottom of the lower instrument rest.
- Ensure there is an adequate gap between the floor and the instrument to avoid any slipping.
- Important Note: Carefully mount the instrument to avoid any slipping. Make sure there is a proper distance between the bell and the mounting bracket to prevent the instrument from slipping.
Thank you for choosing this product. Please follow these instructions carefully for safe installation and operation. Keep them for future reference.
INTENDED USE
- Extremely stable folding stand for holding bass saxophones of different sizes thanks to a wide range of setting options
FEATURES & CAPABILITIES
- Very solid and durable steel construction
- Wobble-free stand (e.g. through adjustable end cap)
- Unsurpassed ease of handling without the use of tools
- Suitable for rehearsal room, studio, stage and mobile use; the flat package is also suitable for transport and storage
- The flexible support brackets are completely encased in high-quality plastic, whose rubber-like properties protect the instrument from scratching
- Both brackets can be positioned independently of each other: the distance varies between 70 – 880 mm
- footprint W x D 400 x 430 mm, height 630 – 890 mm, weight 3.3 kg
Thank you for choosing this product. Please read and follow these instructions carefully. It informs you about all important steps necessary for safe installation and operation. We recommend that you keep them for future reference.
SAFETY INSTRUCTIONS
- Always carry out a visual inspection before use; damaged components must not be used any further.
- Ensure a suitable and level surface.
- Due to the nature of the moving parts trapping hazards can arise: therefore careful handling is indispensable during construction, operation and dismantling.
- Always pull the foot tubes apart as far as they will go.
- The bolt of the spring-loaded clamping knob has always to be engaged except during height adjustment.
- Place the instrument carefully in the stand.
- Before changing the height, we recommend that the instrument has to be removed from the stand.
- The parquet protectors are made of high-quality material and thus as far as technically possible free from plasticisers; for protection of very sensitive floors (possibly certain types of parquet) a non-slip underlay should be used if necessary
INSTALLATION INSTRUCTIONS
COMPONENTS
Please carry out a visual check that all parts are present and in order – as far as recognisable
- a Front part (base tube) with
- a.1 Foot tube with adjustable end cap and parquet protector
- a.2 Spring-loaded clamping knob, a.3 Joint angle
- b Extension tube with support bracket (offset by 180°)
- c Rear support with b
- c.1 Foot tube with parquet protectors (2x)
- d Instrument rest, retaining clip, 2 sets of screws
PREPARING the STAND
SET UP the STAND
- Pull apart the two foot tubes a.1, c.1 up to the stop and put it on the floor
- Possible unevenness of the floor by turning of the compensation parquet protector
POSITION the EXTRACTION TUBE with SUPPORT BRACKET
For packaging reasons:
- the support bracket d has been rotated by 180 mounted in the base tube, and
- the support bracket is attached on the rear
The conversion is easy:- 3.1a Remove spring-loaded clamping knob a.2 and
- 3.1.b …do not screw it back into place until after the bracket has been assembled (section 4)
- 3.2 Pull the bracket together with the extension tube b completely out of the base tube a – overcoming a small resistance at the end of the tube
- 3.3 Turn the extension tube by 180° and…
- 3.4 …reinsert it into the base tube.
ATTACH the LOWER INSTRUMENT REST
- This piece serves to hold the lower end of the instrument. It is attached to the front.
- It is not possible to pre-specify the possible position of the rest exactly.
- This position is geared toward the instrument’s geometry and balance and is – selected individually by the user.
- 4.1 Open the PE pouch d. Position the instrument rest and retaining clip around the front part (base tube) and screw them together. Use the M5 x 16 mm carriage bolts, 6.4/12 mm diameter washers, and M5 lock nuts to do this.
- 4.2 The instrument rest is generally attached above the joint angle.
- 4.3 The instrument rest can be angled up or down.
- 4.4 NOTE!
If you have a floor peg attached to your instrument for support, it must not be positioned inside the rest. This would create an insecure one-point position, with elevated risk of twisting. Recommended action: attach the instrument support above the floor peg.
USER INSTRUCTIONS / FUNCTION
ADJUSTMENT OPTIONS
- Always change settings in the unloaded state.
- 5.1 POSITION – LOWER INSTRUMENT REST Loosen or remove the holder screw connection and reattach the instrument rest in the desired position (see section 4).
- 5.2 POSITION – SUPPORT BRACKET TOP
- 5.2.1 Slightly loosen the spring-loaded clamping knob
- 5.2.2 Pull the handle until the bolt disengages
- 5.2.3 Retracting or extending the extension tube
- 5.2.4 Engage bolt and tighten handle
- 5.3 FORM & SHAPE OF BOTH BRACKETS Inside the rubber-like plastic (TE) coated stirrups are steel bands which can be bent open or closed a little bit.
If necessary, the respective bracket can be adjusted to the size of the bell by powerful yet gentle bending.
HANG UP the INSTRUMENT
- 6.1 CHECKING the SETTING
Before use, ensure that the extension tube is extended far enough to prevent the instrument from touching the floor - 6.2 PLACE the INSTRUMENT

- 6.2.1 Place the bell in the upper support bracket, close to the edge, in such a position that the instrument cannot slip down
- 6.2.2 Place the instrument on the bottom of the lower instrument rest
- 6.2.3 Now the bass saxophone is resting on the rest and in the bracket
- 6.2.4 Make sure there is an adequate gap between the floor and the instrument (or floor peg, if any)
- 6.3 NOTE
Danger of slipping due to careless mounting. Especially a distance between bell and mounting bracket could cause the instrument to slip. This must be avoided at all costs.
DIMENSIONS
MAINTAIN, CLEAN
- Always carry out maintenance in unloaded conditio
- Regularly check:
- a. proper condition of the components defective parts must be replaced or repaired
- b. Tight fit of all screw connections
- Pay attention to possible hazards during maintenance work like bumping, overturning, squeezing
- It is best to use a slightly damp cloth for cleaning and use non-abrasive cleaning agent
FAULT-FINDING (F) and REPAIR (R)
- F: Stand wobbles
- R: Check the substrate or put it in order
- R: Adjust the adjustable end cap
- R: Make sure that both foot tubes are extended to the stop
- R: Tighten the screw connection of the rear support
- F: Instrument wobbles
- R: Bending the support bracket
- R: Optimise the position of the lower support bracket
TECHNICAL DATA
|
Material | Tubes, sheet metal parts, screws: – steel, powdered, black Screws, washers, threads: – steel, galvanized Bushings, caps, handles, holders: – PA, PE, POM, black Bracket covers, parquet protectors: – TPE, black |
| Dimensions | Footprint: W x D 400 x 430 mm Height: 630 – 890 mm |
| Weight | 3.3 kg |
| Box | 685 x 410 x 150 mm |
| Carrying case | K&M 11450-000-00 |
KÖNIG & MEYER GmbH & Co. KG
Kiesweg 2, 97877 Wertheim, www.k-m.de
14960-000-55 Rev.04 03-80-960-00 5/23





















