YDS-120 Digital Saxophone
Product Information: Yamaha Digital Saxophone YDS-120
The Yamaha Digital Saxophone YDS-120 is a musical instrument that can be used for playing and practicing at home. It comes with a mouthpiece set, keys, bell, 5V DC-IN/USB TO HOST terminal, and a PHONES jack. The instrument is equipped with advanced and convenient functions that can enhance the playing experience of the user.
Precautions
Before using the instrument, please read the precautions carefully to avoid serious injury or damage to the instrument. The basic precautions include:
- Do not open the product
- Do not attempt to recharge batteries that are not designed to be charged
- Always turn off the power when the instrument is not in use
- Discard used batteries according to local regulations
Usage Instructions
Follow the below instructions to use the Yamaha Digital Saxophone YDS-120:
- Connect the mouthpiece set to the instrument
- Turn on the power using the [ ] (Standby/On) switch
- Adjust the volume using the PHONES jack or built-in speakers
- Use the keys to play the desired notes. Refer to the Fingering Chart on page 20 of the manual for assistance.
- After playing, drain water condensation and excess breath moisture from the bell through the water drain.
- When not in use, turn off the power and unplug the power cord from the wall AC outlet.
Note: Yamaha cannot be held responsible for damage caused by improper use or modifications to the instrument, or data that is lost or destroyed. When disposing of the product, please contact the appropriate local authorities.
PRECAUTIONS
PLEASE READ CAREFULLY BEFORE PROCEEDING
Please keep this manual in a safe and handy place for future reference.
WARNING
Always follow the basic precautions listed below to avoid the possibility of serious injury or even death from electrical shock, short-circuiting, damages, fire or other hazards. These precautions include, but are not limited to, the following:
Power
- Do not place the USB cable near heat sources such as heaters or radiators. Also, do not excessively bend or otherwise damage the cord, or place heavy objects on it.
- Do not touch the product or the power plug during an electrical storm.
- Use only the correct voltage specified for the product. The required voltage is printed on the name plate of the product.
- Use the specified AC adaptor (page 10).
- Check the power plug periodically and remove any dirt or dust which may have accumulated on it.
- Insert the power plug firmly all the way into the AC outlet. Using the product when it is not plugged in sufficiently can cause dust to accumulate on the plug, possibly resulting in fire or skin burns.
- When setting up the product, make sure that the AC outlet you are using is easily accessible. If some trouble or malfunction occurs, immediately turn off the power switch and disconnect the plug from the outlet. Even when the power switch is turned off, as long as the power cord is not unplugged from the wall AC outlet, the product will not be disconnected from the power source.
- Do not connect the product to an electrical outlet using a multi-plug outlet extender. Doing so can result in lower sound quality, or possibly cause overheating in the outlet.
- When disconnecting the power plug, always hold the plug itself and not the cable. Pulling by the cable can damage it and cause electric shocks or a fire.
- If not using the product for long periods of time, be sure to pull the power plug from the AC outlet.
Do not open
- This product contains no user-serviceable parts. Do not attempt to disassemble the internal parts or modify them in any way.
Water warning
- Do not expose the product to rain, use it near water or in damp or wet conditions, or place on it any containers (such as vases, bottles or glasses) containing liquids which might spill into any openings or places where water may drop. A liquid such as water getting into the product may cause a fire, electric shocks, or malfunctions.
- Never insert or remove an electric plug with wet hands.
Fire warning
- Do not place any burning items or open flames near the product, since they may cause a fire.
Influences on electro-medical devices
- Magnetism from this product may affect electro-medical devices, such as a heart pacemaker implant or defibrillator implant.
- Keep the product away from a heart pacemaker implant or a defibrillator implant.
Battery
- Do not dispose of a battery in a fire.
- Do not expose the battery to conditions of extreme low air pressure, cold or heat (such as in direct sunlight or a fire) or excessive dust or humidity.
- Doing so may result in the battery bursting, causing a fire or injury.
- Follow the precautions below. Failure to do so might result in battery fluid leakage. If the contents of the battery gets on your hands or in your eyes, it can cause blindness, chemical burns, and damage of the product.
- Use the specified battery type (page 15) only.
- Do not use new batteries together with old ones.
- Do not mix battery types.
- Always make sure all batteries are inserted in conformity with the +/- polarity markings.
- Do not disassemble a battery.
- When the batteries run out, or if the product is not to be used for a long time, remove the batteries from the product.
- Do not attempt to recharge batteries that are not designed to be charged.
- If the batteries do leak, avoid contact with the leaked fluid. If the battery fluid should come in contact with your eyes, mouth, or skin, wash immediately with water and consult a doctor. Battery fluid is corrosive and may possibly cause loss of sight or chemical burns.
- Never charge when the product is wet. Doing so may cause electric shock, fire, or malfunction due to short-circuiting.
- When using rechargeable batteries, follow the instructions that came with the batteries. Use only the specified charger device and within the specified charging temperature range when charging.
- Charging with an unspecified charger or at a temperature outside the range may cause leakage, overheating, explosion, or malfunction.
- Keep batteries away from children. A child could accidentally swallow a battery. Failure to observe this may also cause inflammation due to battery fluid leaks.
- Do not put batteries in a pocket or bag, or carry or store them together with pieces of metal. Batteries kept in such condition could short, burst, or leak, causing a fire or injury.
If you notice any abnormality
- If any of the following problems occur, immediately turn off the power switch and remove all connected cables. If you are using batteries, remove all batteries from the product. Finally have the device inspected by Yamaha service personnel.
- The USB cable or plug becomes frayed or damaged.
- Unusual smells or smoke are emitted.
- Some object, or water has been dropped into the product.
- There is a sudden loss of sound during use of the product.
- Cracks or other visible damage appear on the product.
CAUTION
Always follow the basic precautions listed below to avoid the possibility of physical injury to you or others, or damage to the instrument or other property. These precautions include, but are not limited to, the following:
Location
- Do not place the product in an unstable position or a location with excessive vibration, where it might accidentally fall over and cause injury.
- Before moving the instrument, remove all connected cables, to prevent damage to the cables or injury to anyone who might trip over them.
Connections
- Before connecting the product to other electronic components, turn off the power for all components. Before turning the power on or off for all components, set all volume levels to minimum.
- Be sure to set the volumes of all components at their minimum levels and gradually raise the volume controls while playing the instrument to set the desired listening level.
Handling
- Do not insert a finger or hand in any gaps on the product.
- Do not insert foreign materials such as metal or paper into any openings or gaps of the product. Failure to observe this may cause a fire, electric shocks, or malfunctions.
- Do not rest your weight on, or place heavy objects on the product, and do not use excessive force on the buttons, switches or connectors.
- Keep small parts out of the reach of infants. Your children may accidentally swallow them.
- Do not use the product or headphones for a long period of time at a high or uncomfortable volume level, since this can cause permanent hearing loss.
- If you experience any hearing loss or ringing in the ears, consult a physician.
- When using a strap, make sure the strap is securely attached to the instrument.
- Do not lift the instrument by the strap. It can cause serious injury or damage to the instrument.
- Do not treat the instrument in a rough manner such as swinging it about, etc. The strap on the instrument may detach causing unexpected accidents such as the instrument dropping, etc., or injuring persons close by.
- Remove the power plug from the AC outlet before cleaning the unit. Failure to observe this may cause electric shocks.
Yamaha cannot be held responsible for damage caused by improper use or modifications to the instrument, or data that is lost or destroyed. Always turn the power off when the instrument is not in use. Even when the [ ] (Standby/On) switch is in standby status (power lamp is off), electricity is still flowing to the instrument at the minimum level. When you are not using the instrument for a long time, make sure you unplug the power cord from the wall AC outlet. Make sure to discard used batteries according to local regulations.
NOTICE
To avoid the possibility of malfunction/ damage to the prod-uct, damage to data, or damage to other property, follow the notices below.
- Do not connect this product to public Wi-Fi and/or Internet directly. Only connect this product to the Internet through a router with strong password protections. Consult your router manufacturer for information on security best practices.
- Do not use the instrument in the vicinity of a TV, radio, stereo equipment, mobile phone, or other electric devices. Otherwise, the instrument, TV, or radio may generate noise. When you use the instrument along with an application on your smart device such as a smartphone or tablet, we recommend that you enable “Airplane Mode” on the device to avoid noise caused by communication.
- Do not expose the instrument to excessive dust or vibrations, or extreme cold or heat (such as in direct sunlight, near a heater, or in a car during the day) to prevent the possibility of panel disfiguration, damage to the internal components or unstable operation. (Verified operating temperature range: 5° – 40°C, or 41° – 104°F.)
- Do not place vinyl, plastic or rubber objects on the instrument, since this might discolor the panel or key-board.
- Do not leave the instrument for a long period of time with a key pressed, since this might damage the key.
Maintenance
- When cleaning the instrument, use a soft cloth. Do not use paint thinners, solvents, alcohol, cleaning fluids, or chemical-impregnated wiping cloths.
Information
About this manual
- The illustrations and LED screen as shown in this manual are for instructional purposes only.
- The company names and product names in this manual are the trademarks or registered trademarks of their respective companies.
About disposal
When disposing of this product, please contact the appropriate local authorities.
Thank you for purchasing the Yamaha Digital Saxophone! This digital saxophone can be used for playing and practicing at home. We recommend that you read this manual carefully so that you can fully take advantage of the advanced and convenient functions of the instrument. We also recommend that you keep this manual in a safe and handy place for future reference.
Included Accessories
- Replacement O-ring × 1 set (3 pieces included)

- Owner’s Manual × 1
Controls and Functions
Front side
Left side
Back side
- Mouthpiece set
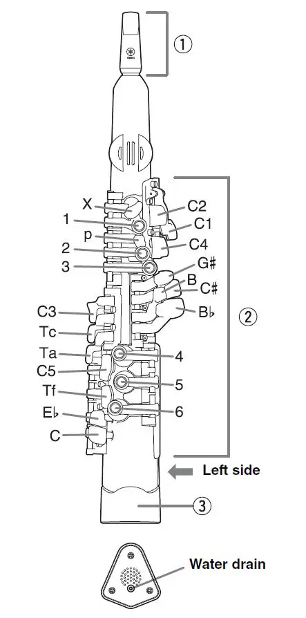
For use exclusively with this instrument. - Keys
(Fingering Chart: page 20) - Bell
There is a water drain inside the bell. Water condensation and excess breath moisture can be drained from here. - 5 V DC-IN/USB TO HOST terminal
Micro USB Type-B terminal. For connection to a USB power adaptor, USB mobile battery, or PC with a USB cable.
NOTICE- Use a USB A to micro B cable of less than 3 meters. Do not use a USB 3.0 cable.
- PHONES jack
For connecting a pair of stereo headphones or other equipment with a mini stereo phone plug (3.5 mm). The instrument’s built-in speakers automatically stop pro-ducing sound when plugged in.
CAUTION- To prevent hearing loss, avoid using headphones at high volumes for extended periods of time.
- Before connecting the instrument to other elec-tronic components, turn off the power for all com-ponents. Before turning the power on or off for all components, set all volume levels to minimum. This can cause permanent hearing loss.
- AUX IN jack
For inputting the sound of an audio player and listening to it through the connected headphones. To adjust the input volume from the [AUX IN] jack, adjust the audio playback volume on the audio device.
CAUTION- To avoid possible damage, first turn on the power for the external device, and then for the instrument. When turning off the power, first turn off the power for the instrument, and then for the external device. This can cause permanent hearing loss.
NOTE - Use audio cables and adaptor plugs that have no series resistors.
- The input audio signals via the AUX IN jack and the USB TO HOST jack can only be heard on devices connected to the PHONES jack.
- To avoid possible damage, first turn on the power for the external device, and then for the instrument. When turning off the power, first turn off the power for the instrument, and then for the external device. This can cause permanent hearing loss.
- [
] (Standby/On) button
Press this button to turn on the instrument. - LED screen
Displays information such as the Voice number in alphanumeric characters. - VOICE [
]/[
] buttons
Changes the Voice each time a button is pressed - VOL [-]/[+] buttons
Raises or lowers the instrument volume each time a button is pressed. Press and hold a button to change the volume quickly.- Setting range: 0 to 15, od (Default: 13)
- Press the VOL [-] button and VOL [+] button simultaneously to restore the default volume setting.
- [Fn] (Function) button
Press specific keys while holding this button to call up various functions. This is also used to operate some functions. - Power lamp
- USB connection lamp
This lamp lights in orange when a USB cable is con-nected to the instrument. - Strap ring
Attach the included strap to this ring. - Thumb hook
Use this hook to support the instrument with your thumb when playing. Wrap your right thumb around the thumb hook to hold the instrument firmly. - Analog controller
Used to apply changes to the Voice.
How to attach the strap (sold separately)
Firmly attach the strap (sold separately) to the ring. You can easily change the length of the strap to adjust it to a length that is easy for you to use.
Laying the instrument down
When the instrument is not being played, place it on a flat surface as shown in the illustration below. Do not place the instrument on a chair, music stand, or another such unstable surface, as there is a risk of the instrument falling. Also, never lean the instrument up against a wall, etc.
NOTICE
- Do not stand the instrument up by itself. Doing so can cause damage to the instrument due to the impact if it falls down.
Before Playing
Power Requirements
This instrument can be powered in one of the two ways listed below. Determine which you intend to use, and follow the instructions for setting up.
NOTE
- If you connect the instrument to a commercially available USB power adaptor or USB mobile battery while batteries are in the instrument, priority is given to power from the USB cable.
Using batteries
This instrument requires four “AAA” size, alkaline (LR3) bat-teries or rechargeable nickel-metal hydride batteries
(rechargeable Ni-MH batteries).
- Make sure that the power of the instrument is off. The power lamp (
) will be off when the power is off. - Place the instrument upside-down on a soft cloth and remove the battery cover.
- Insert the four new batteries, being careful to fol- low the polarity markings on the inside of the compartment.

Remaining Battery Power
When the remaining battery power drops to about 5 or 10 minutes*, the POWER LED lamp (
) flashes. Further-more, when there is almost no remaining power, the POWER LED lamp turns off and the instrument enters standby mode.
- Varies depending on the usage environment.
NOTE- You should check the Power lamp frequently and take precautions that the battery does not run out during a performance.
Using a USB power adaptor or USB mobile battery (sold separately)
Connect the USB cable to a USB power adaptor or USB mobile battery (sold separately) in the order shown in the illustration. Follow the order shown here in reverse when disconnecting the USB cable.
Use only a USB power adaptor or USB mobile battery compatible with the USB standard for power supply.
- Output voltage 4.8 V to 5.2 V
- Output current 1.0 A or greater
CAUTION
- Before using a USB power adaptor or USB mobile battery, be sure to read the relevant precautions.
NOTICE
- Some USB mobile batteries automatically stop supplying power when connected to a device with low current consumption, such as this instrument. Use a USB mobile battery that has a low-current mode function, etc., and can supply power to devices with current consumption of 80 mA or less.
Turning on the Power / Setting to Standby
- Press the [
] (Standby/On) button to turn the power on.
The power lamp (
) is lit in red when the power is on. Adjust the volume as desired while blowing into the mouthpiece.
CAUTION- Do not use the instrument or headphones for a long period of time at a high or uncomfortable volume level, since this can cause permanent hearing loss.
NOTICE - While turning on the power, do not attempt any other operations, such as blowing into the mouthpiece. Doing so may cause the instrument to malfunction.
- Do not use the instrument or headphones for a long period of time at a high or uncomfortable volume level, since this can cause permanent hearing loss.
- Press and hold the [
] (Standby/On) button for longer than one second to enable standby mode.
CAUTION- Even when in standby mode, an electric current is still flowing in the instrument at the minimum level. When you are not using the instrument for a long time, make sure to disconnect the USB power adaptor from the AC outlet, or remove the batteries from the instrument.
Enabling / Disabling Auto Power Off
To prevent unnecessary power consumption, this instru-ment features an Auto Power Off function that automati-cally turns the power off if the instrument is not operated for a specified period of time (30 minutes). By default, it is set to On; however, this setting can be changed with the [Fn] button.
NOTICE
- If your instrument is connected to other equipment such as amplifiers and speakers but you do not intend to use it for 30 minutes, we recommend that you turn off all devices as described in the corresponding owner’s manuals. Doing so eliminates the risk of damage to the other equipment. If you do not want the instrument to turn off automatically when connected to other equip-ment, disable the Auto Power Off function.
Adjusting the Instrument Volume
The volume is increased by 1 each time VOL [+] is pressed. The volume is decreased by 1 each time VOL [-] is pressed. You can adjust the volume in a range of 0 to 15, od. The default value is 13.
* The “od” (overdrive) setting is the maximum volume, for the most powerful sound. Keep in mind that there may be dis-tortion in the sound for specific Voices and in the lower ranges.
Initialization
Perform this operation when you want to reset all settings to their factory defaults.
- If the power is on, turn the power off.
- Turn the power on while holding keys [1], [p], and

Playing the Instrument
Mouth Shape
Position the mouthpiece in your mouth with your upper front teeth resting about 1cm from the tip of the mouth-piece. Cover your lower teeth with your lower lip to keep your teeth from coming into direct contact with the mouthpiece.
With the mouthpiece resting on your lower lip, seal your mouth around the mouthpiece to keep air from leaking out of the corners of your mouth when blowing. Do not bite hard on the mouthpiece.
How to Play Sound
Put the mouthpiece into your mouth and blow. Blow strongly for a higher volume, and softly for a lower volume.
NOTE
Unlike an acoustic saxophone, changing the degree to which the mouthpiece is inserted into the neck will not change the pitch of the sound.
Selecting a Voice
It is possible to select a Voice and tonality you like, such as an alto saxophone, tenor saxophone, etc.
Press VOICE
The Voice number is displayed on the LED display. For the Voice names, refer to the Voice List on page 19.
The display on the LED screen has the following meanings.
NOTE
Press the VOICE [
]/[
] button while holding the [Fn] button to jump to a next/previous Voice group.
Using the Analog Controller
The analog controller has functions assigned by default depending on the selected Voice.
- Raising or lowering the pitch (Pitch Bend)
- Applying vibrato to the sound. (Modulation)
- Smoothing out the pitch slide between notes (Por-tamento)

For details about the functions assigned to the analog con-troller for each Voice, see the Voice List at the end of this document.
NOTE
Portamento is a playing technique that smoothly slides the pitch of the performance up and down. When using a Voice with portamento assigned to it, move the thumb controller to smoothly change the pitch.
Press specific keys while holding the [Fn] button to perform settings for the various functions of the instrument.
Basic operations
Use the following procedure to perform settings for each function.
- While holding the [Fn] button, press the key to which the function is assigned. Hold the [Fn] but-ton until you finish performing settings. If you release the button, the value at that moment is set and operation returns to the Voice selection screen.
Example: Tuning
- While holding the [Fn] button, press VOICE [
]/[
] and select the desired value.
NOTE
Press both VOICE [ ]/[ ] buttons simultaneously to restore the value to the factory default. - When you have finished selecting a value,
release the [Fn] button.
This will complete the setting and return the operation to the Voice selection screen.
Using the Dedicated App
You can use the dedicated app for this instrument to perform settings for the functions of this instrument more conveniently.
- Install the dedicated app for this instrument on your smart device.
- Connect this instrument and your smart device via the USB cable.
You can perform the following settings for this instrument on the app. For details, refer to the manual for the app.
- Editing user Voices / editing fingering information /enabling and disabling Voice selection shortcuts, etc.
Instrument Maintenance after Playing
After using this instrument, remove the mouthpiece from this instrument and wipe off any moisture near the bell and mouthpiece.
- Hold the mouthpiece firmly and turn it from side to side to slide it off from the neck.
NOTICE- When removing the mouthpiece, avoid applying a bend-ing force to the neck base. Excessive force applied to the neck can damage it.
- Rinse the mouthpiece out with clean water.
- Be careful not to damage the tip of the mouthpiece.
- After rinsing the mouthpiece out with clean water, remove fluid the mouthpiece by using a dry soft cloth or a slim cotton swab.

- Wipe this instrument and the mouthpiece with a dry, soft cloth.
NOTICE- Do not wash this instrument or the instrument interior with water. Doing so can result in damage to the instrument.
- Do not apply grease to the instrument neck. Doing so can result in damage to the neck.
Troubleshooting
- The sound does not stop.
- Try turning the power on again.
- Fluid remaining on the hole inside the mouthpiece joint may result in the sound not stopping. Remove fluid from the hole by using a slim cotton swab.

Specifications
- The contents of this manual apply to the latest specifications as of the publishing date. To obtain the latest man-ual, access the Yamaha website then download the manual file. Since specifications, equipment or separately sold accessories may not be the same in every locale, please check with your Yamaha dealer.
For electrical and electronic products using batteries.
Information for users on the collection and disposal of old equipment and used batteries:
These symbols on the products, packaging, and/or accompanying documents mean that used electrical and electronic products and batteries should not be mixed with general household waste. For proper treatment, recovery, and recycling of old products and used batteries, please take them to applicable collection points, in accordance with your national legislation. By disposing of these products and batteries correctly, you will help to save valuable resources and prevent any potential neg-ative effects on human health and the environment which could otherwise arise from inappropriate waste handling. For more information about the collection and recycling of old products and batteries, please contact your local municipality, your waste disposal service or the point of sale where you purchased the items.
For business users in the European Union:
If you wish to discard electrical and electronic equipment, please contact your dealer or supplier for further information.
Information on Disposal in other Countries outside the European Union:
These symbols are only valid in the European Union. If you wish to discard these items, please contact your local authorities or dealer and ask for the correct method of disposal.
Note for the battery symbol (bottom two symbol examples):
This symbol might be used in combination with a chemical symbol. In this case it complies with the requirement set by the EU Battery Directive for the chemical involved.
Voice List
Fingering Chart
This chart shows typical fingerings for saxophones. The music notation is the written pitch, and not the concert pitch.

Important Notice:
U.S. LIMITED WARRANTY for Customers in the United States For detailed information about this Yamaha product and warranty service, please either visit the following website address (printable file is available at our website) or contact Customer Service at the address or telephone number identified below.
Website Address:
https://usa.yamaha.com/support/warranty/index.html
Customer Service:
Yamaha Corporation of America
6600 Orangethorpe Avenue,
Buena Park, CA
90620-1273
Telephone: 800-854-1569







NOTE
NOTICE



















