
MUSIC LABORATORY SYSTEM
MLA-200
Owner’s Manual

FCC INFORMATION (U.S.A.)
- IMPORTANT NOTICE: DO NOT MODIFY THIS UNIT!
This product when installed as indicated in the instructions contained in this manual, meets FCC requirements. Modifications not expressly approved by Yamaha may void your authority, granted by the FCC, to use the product. - IMPORTANT: When connecting this product to accessories and/or another product use only high quality shielded cables. Cable/s supplied with this product MUST be used. Follow all installation instructions. Failure to follow instructions could void your FCC authorization to use this product in the USA
- NOTE: This product has been tested and found to comply with the requirements listed in FCC Regulations, Part 15 for Class “B” digital devices. Compliance with these requirements provides a reasonable level of assurance that your use of this product in a residential environment will not result in harmful interference with other electronic devices. This equipment generates/uses radio frequencies and, if not installed and used according to the instructions found in the users manual, may cause interference harmful to the operation of other electronic devices. Compliance with FCC regulations does not guarantee that interference will not occur in all installations. If this product is found to be the source of interference, which can be determined by turning the unit “OFF” and “ON” please try to eliminate the problem by using one of the following measures:
Relocate either this product or the device that is being affected by the interference.
Utilize power outlets that are on different branch (circuit breaker or fuse) circuits or install AC line filter/s.
In the case of radio or TV interference relocate/ reorient the antenna. If the antenna lead-in is 300 ohm ribbon lead, change the lead-in to coaxial type cable.
If these corrective measures do not produce satisfactory results, please contact the local retailer authorized to distribute this type of product. If you cannot locate the appropriate retailer, please contact Yamaha Corporation of America, 6600 Orangethorpe Ave. Buena Park CA90620, USA
The above statements apply ONLY to those products distributed by Yamaha Corporation of America or its subsidiaries.
COMPLIANCE INFORMATION STATEMENT (Supplier’s declaration of conformity procedure)
| Responsible Party : | Yamaha Corporation of America |
| Address : | 6600 Orangethorpe Ave., Buena Park, Calif. 90620 |
| Telephone : | 714-522-9011 |
| Type of Equipment: | Music Laboratory System |
| Model Name : | MLA-200 |
This device complies with Part 15 of the FCC Rules. Operation is subject to the following two conditions:
- this device may not cause harmful interference, and
- this device must accept any interference received including interference that may cause undesired operation.
(FCC SDoC)
CAN ICES-3 (B)/NMB-3(B)
(can_b_02)
Introduction
Thank you for purchasing the Music Laboratory System. In order to make full use of this product’s functions, we recommend that you read this Owner’s Manual thoroughly before use. Also, keep this guide in a safe place for reference after you have finished reading it.
Items included
- Owner’s Manual (this document)
- Mounting bracket
- Mounting screws (4 for installing the bracket, 2 for installing the product) Use when mounting the instrument. (Page 10)
- 4 Rubber feet Use when placing the instrument on a flat surface. (Page 11)
Manual types
The following manuals are available for this system.
- MLA-200 Owner’s Manual (this document)
This provides general information such as safety precautions as well as part names and functions. - Setup Guide
This provides details on the installation, connection and setup of the system. This information is intended mainly for designers and installers of the system. - ML Touch User’s Guide
This provides details on the operating procedures for the “ML Touch” application that controls the system. This information is intended mainly for instructors using the application.
PRECAUTIONS
PLEASE READ CAREFULLY BEFORE PROCEEDING
Please keep this manual in a safe place for future reference.
WARNING
Always follow the basic precautions listed below to avoid the possibility of serious injury or even death from electrical shock, short-circuiting, damages, fire or other hazards. These precautions include, but are not limited to, the following:
If you notice any abnormality
- If any of the following problems occur, immediately disconnect the Ethernet cable from this product.
– The Ethernet cable becomes frayed or damaged.
– Unusual smells or smoke are emitted. – Some object, or water has been dropped into the product.
– There is a sudden loss of sound during use of the product.
– Cracks or other visible damage appear on the product. Then have the product inspected or repaired by qualified Yamaha service personnel.
Power supply
- Use a CAT5e or higher grade cable. Failure to observe this precaution could result in a fire or malfunction.
Do not open
- This product contains no user-serviceable parts. Do not attempt to disassemble the internal parts or modify them in any way.
Water warning/Fire warning
- Do not expose the product to rain, use it near water or in damp or wet conditions, or place on it any containers (such as vases, bottles or glasses) containing liquids which might spill into any openings.
- Never insert or remove an electric plug with wet hands.
- Do not place any burning items or open flames near the product, since they may cause a fire.
Hearing loss
- Before connecting the product to other devices, make sure that all volume levels are set to the minimum. Failing to do so may result in hearing loss, electric shock, or device damage.
- Do not use headphones for a long period of time at a high or uncomfortable volume level, since this can cause permanent hearing loss. If you experience any hearing loss or ringing in the ears, consult a physician.
- Use headphones with an impedance of 40 or more. Using headphones with an impedance of less than 40 may cause oscillation, extremely loud noises or hearing loss.
(PA_en_10 1/2)
CAUTION
Always follow the basic precautions listed below to avoid the possibility of physical injury to you or others. These precautions include, but are not limited to, the following:
Location and connection
- Do not place the product in an unstable position where it might accidentally fall over and cause injuries.
- Do not place the product in a location where it may come into contact with corrosive gases or salt air. Doing so may result in malfunction.
- Before moving the product, remove all connected cables.
Maintenance
- Remove the Ethernet cable from this product when cleaning the product. Otherwise, electric shocks may occur.
Handling caution
- Do not apply excessive force to switches or connectors.
- Do not rest your weight on the product or place heavy objects on it.
Yamaha cannot be held responsible for damage caused by improper use or modifications to the product.
(PA_en_10 2/2)
The model number, serial number, power requirements, etc., may be found on or near the name plate, which is at the rear of the unit. You should note this serial number in the space provided below and retain this manual as a permanent record of your purchase to aid identification in the event of theft.
Model No.
Serial No.
(rear_en_01)
NOTICE
Handling and maintenance
- Do not use the product in the vicinity of a TV, radio, or other electric products. Otherwise, the product, TV, or radio may generate noise.
- Do not expose the product to excessive dust or vibration, or extreme cold or heat (such as in direct sunlight, near a heater, or in a car during the day), in order to prevent the possibility of panel disfiguration, unstable operation, or damage to the internal components.
- Do not install in locations where temperature changes are severe. Otherwise, condensation may form on the inside or the surface of the product, causing it to break.
- If there is reason to believe that condensation might have occurred, leave the product for several hours without turning on the power until the condensation has completely dried out, in order to prevent possible damage.
- Do not place vinyl, plastic or rubber objects on the product, since this might cause alteration or discoloration of the panel.
- When cleaning the product, use a dry and soft cloth. Do not use paint thinners, solvents, cleaning fluids, or chemical-impregnated wiping cloths, since this might cause alteration or discoloration.
Information
About functions/data bundled with the product
- This product uses Dante Ultimo.
Refer to the Audinate website (English) for details on the open-source licenses for the particular software. https://www.audinate.com/software-licensing - A 1000BASE-T connection will require an Enhanced Category 5 (CAT5e) or better LAN cable.
About this manual
- The illustrations as shown in this manual are for instructional purposes only.
- The company names and product names in this manual are the trademarks or registered trademarks of their respective companies.
About disposal
- This product contains recyclable components.
When disposing of this product, please contact the appropriate local authorities.
European models
- Purchaser/User Information specified in EN55103-2:2009.
Conforms to Environments: E1, E2, E3 and E4
Part names and functions
Front panel
- [MAIN] jack/[DUO] jack
Connect a microphone headset or headphones. When used by one person, use only the MAIN jack. - [MY VOL.] knob
Adjust the volume of your instrument or microphone. The more the knob is turned to the right, the louder your volume will be. When the knob is turned to the 3 o’clock position, your volume will be the same as that of other instruments. - [MASTER VOL.] knob
Adjust the overall volume.
NOTE
A faint sound may be heard even when the [MY VOL.] knob (2) and [MASTER VOL.] knob (3) are set to “MIN”. - [MIC] button
Turn on/off the microphone of the microphone headset. When turned on, the button lights up. Automatically turned on during conversations with the instructor. - [CALL] button
Press to call the instructor. When the button is pressed, the instructor is called, and the button flashes. While the instructor is being called, press the button again to stop calling. When the instructor answers and during the conversation, the button lights up. The conversation is ended from the instructor’s application. - [STATUS] indicator
Displays the operating status of the MLA-200. Lights up during normal operation. Flashes or goes off if an error occurred. In that case, immediately contact the instructor or person in charge of the system.
Side panel
- [Dante] port
Connect to a network. The MLA-200 is supplied power from the PoE Ethernet switch or injector. In order to prevent electromagnetic interference, use STP (Shielded Twisted Pair) cables.
NOTE
Unplugging and plugging in the Ethernet cable in rapid succession may cause a malfunction. After unplugging the Ethernet cable and turning off the MLA-200, wait at least 5 seconds before plugging in the cable again.
Part names and functions - [I/O] port
Connect an instrument. MIDI information is sent to and received from the application and other instruments. Use for the guide lamp feature with model songs and for receiving song data from the application.
NOTE
Use a USB cable of 3 m or less. - [INPUT] jack
Connect with the PHONES (headphones) jack on the instrument. This is a standard stereo headphones input. - [INPUT GAIN] switch
Switch the input gain for the [INPUT] jack to one of two settings. This switch is normally set to “0 dB”. When connecting an instrument with a low output, set the switch to “+10 dB”.
Rear panel
- DIP switch
Set the unit ID for the MLA-200. Also use to initialize the MLA-200. Be careful not to change the DIP switch settings except when configuring or changing system settings. Be sure to consult with a system installer before operating the DIP switch. For details on the setting procedures, refer to the Setup Guide.
Sample setup

WARNING
Use a CAT5e or higher grade STP cable to connect the MLA-200 to the Ethernet switch.
WARNING
Use headphones with an impedance of 40 or more. Using headphones with an impedance of less than 40 may cause oscillation, extremely loud noises or hearing loss.
NOTE
- When used by one person, use the MAIN jack.
- Use headset-type headphones that are compatible with the CTIA standard.
Installing onto an instrument
CAUTION
Make sure that installation of the MLA-200 onto the instrument is performed by a professional installer.
For the installer:
For details on installing, be sure to refer to the Setup Guide.
Installation conditions
- Install so that the cables on the side panel face downward.
- Install so that there is no interference with headphones or connectors on the instrument.
- Be sure to use the included screws for the installation.
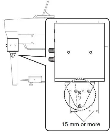
- Install the screws at least 15 mm inside the edge of the leg or stand of the instrument onto which the MLA-200 is mounted.
Installation examples
Mounted with screws at the top
Mounted with screws on the side
Mounted with screws at the bottom
When placed on a flat surface
When placed on a flat surface of the instrument, be sure to attach the included rubber feet to prevent slipping. The installation positions should be about 15 mm inside each edge as shown below. Be sure to attach all four.

General specifications
| Controls | MIC button CALL button MASTER VOL. knob MY VOL. knob INPUT GAIN switch (0 dB and +10 dB) |
| Analog input | Standard stereo jack x 1 |
| Headset input/output | TRRS mini jack (CTIA compliant) x 2 |
| Headphones compatible impedance | 400 |
| Maximum output level | 79 mW |
| Network input/output | RJ-45 (Dante, 1000BASE-T) x 1 |
| MIDI input/output | USB 1.1 (A type) |
| Power supply voltage | PoE (IEEE 802.3af compliant) |
| Power consumption | 6 W |
| Dimensions (W x H x D) | 158 x 44 x 152 mm |
| Weight | 1.0 kg |
| Operating environment temperature | 0 to 40 °C |
| Items included | Owner’s Manual (this document) Mounting bracket Mounting screws (4 for installing the bracket, 2 for installing the product) 4 Rubber feet |
* The contents of this manual apply to the latest specifications as of the publishing date. To obtain the latest manual, access the Yamaha website then download the manual file.
Information for users on collection and disposal of old equipment: This symbol on the products, packaging, and/or accompanying documents means that used electrical and electronic products should not be mixed with general household waste. For proper treatment, recovery, and recycling of old products, please take them to applicable collection points, in accordance with your national legislation.
By disposing of these products correctly, you will help to save valuable resources and prevent any potential negative effects on human health and the environment which could otherwise arise from inappropriate waste handling.
For more information about collection and recycling of old products, please contact your local municipality, your waste disposal service or the point of sale where you purchased the items.
For business users in the European Union:
If you wish to discard electrical and electronic equipment, please contact your dealer or supplier for further information.
Information on Disposal in other Countries outside the European Union:
This symbol is only valid in the European Union. If you wish to discard these items, please contact your local authorities or dealer and ask for the correct method of disposal.
Important Notice: Guarantee Information for customers in European Economic Area (EEA) and Switzerland
Important Notice: Guarantee Information for customers in EEA* and Switzerland
For detailed guarantee information about this Yamaha product, and Pan-EEA* and Switzerland warranty service, please either visit the website address below (Printable file is available at our website) or contact the Yamaha representative office for your country. * EEA: European Economic Area
http://europe.yamaha.com/warranty/
For details of products, please contact your nearest Yamaha representative or the authorized distributor listed below.
NORTH AMERICA
CANADA
Yamaha Canada Music Ltd.
135 Milner Avenue, Toronto, Ontario
M1S 3R1, Canada
Tel: +1-416-298-1311
U.S.A.
Yamaha Corporation of America
6600 Orangethorpe Avenue, Buena Park,
CA 90620, U.S.A.
Tel: +1-714-522-9011
DMI26
Head Office/Manufacturer: Yamaha Corporation
10-1, Nakazawa-cho, Naka-ku, Hamamatsu, 430-8650, Japan (For European Countries) Importer: Yamaha Music Europe GmbH Siemensstrasse 22-34, 25462 Rellingen, Germany
YAMAHA CORPORATION
10-1 Nakazawa-cho, Naka-ku, Hamamatsu, 430-8650 Japan
18182 4000517700 https://www.yamaha.com.cn
10-1 18182
Yamaha Global Site https://www.yamaha.com/
Yamaha Downloads https://download.yamaha.com/
Manual Development Group © 2018 Yamaha Corporation
Published 02/2019 CREM-A1
VAY7010


















