

Any-Grid Series Hybrid
Inverter Charger
User Guide
Any-Grid Series Hybrid Inverter Charger
Phocos Any-Grid™ series
Any-Grid™ use with Lithium battery models: ZRGP ZR-FC series, Power Base X1 and Power Base Mate LV series
Applicable for Any-Grid™
PSW-H-5KW-230/48V, PSW-H-5KW-120/48V, PSW-H-6.5KW-120/48V and PSW-H-8KW-230/48V
Recommended battery settings guide
Introduction
This guide outlines the recommended settings and establishing communication for operation of one or more Any Grid™ PSW-H-5KW-230/48V, PSW-H-5KW-120/48V, PSW-H-6.5KW-120/48V or PSW-H-8KW-230/48V hybrid inverter chargers with the following ZRGP battery modules, referred to in this guide as “battery modules”:
| Battery module series | Battery model name |
| ZR-FC series | ZR-FC24200 |
| ZR-FC4850 | |
| ZR-FC48100 | |
| Power Base X1 | X1-48100 |
| Power Base Mate LV series | Mate LV_50 Series |
| Mate LV_100 Series |
Note that the charge/discharge settings are automatically negotiated with the battery if this guide is used and cannot be changed.
The Any-Grid must be installed according to the Any-Grid “User and Installation Manual” included with every Any Grid unit and available online at www.phocos.com. The battery terminals of the Any-Grid must be connected to the batteries according to the ZRGP battery installation manual at the appropriate step mentioned in the chapter “5.0
Battery Settings and Communication Cable Installation ” of this manual.
WARNING: Be sure to read and respect the warnings in the installation manuals of the Any -Grid, the battery modules and any other connected equipment. The installation must be conducted by a trained professional.
Requirements
The following is required to proceed with this guide:
- Any-Grid PSW-H-5KW-230/48V, PSW-H-5KW-120/48V, PSW-H-6.5KW-120/48V or PSW-H-8KW-230/48V
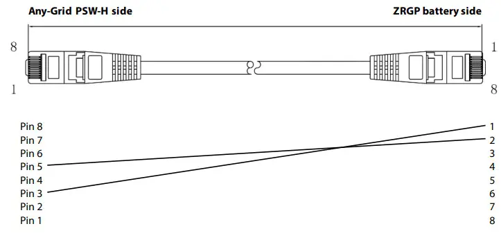
Note: the minimum display unit firmware version U2 must be 06.18 or later, with the corresponding U1 firmware for your Any-Grid PSW-H. - Battery communication cable with only the following pins connected:
Make sure the cable is correctly oriented between the battery and PSW-H unit when installing below.
WARNING: Do not use the inverter cable included with your ZRGP batteries. Wiring your own cable according to the pinout above must be done at your own risk. Any damage to the PSW-H or battery due to incorrect wiring, cable orientation or use of an incorrect cable is not covered by any warranty. - One of the battery module(s) defined in “1.0 Introduction” of this manual
System Overview

Battery Sizing
To maintain the full battery warranty, each battery module should be sized not to exceed 100 Adc continuous current (verify ZRGP manual for details). It is thus recommended to use at least 2 battery modules in parallel to deliver both sufficient continuous current and peak current for a single Any-Grid at full power. When using multiple Any-Grid units, be sure to increase the number of batteries accordingly to sustain the required currents. Using too few batteries per inverter may void your ZRGP battery warranty.
The batteries must be wired in parallel to form a single large battery bank when using multiple Any-Grids, with a nominal voltage of 48.0 ~ 51.2 Vdc, depending on the battery module(s) used. All Any-Grids must be connected to a single battery array.
Battery Settings and Communication Cable Installation
CAUTION: Before connecting the battery modules to the Any-Grid(s), please follow the installation instructions in this chapter step by step. The battery, AC input source, AC output loads and PV input must remain disconnected until instructed otherwise.
Any battery-related settings made will be over-written if the communication cable is used. If you wish to manually use settings at your own risk, then do not use the communication cable.
- Make the battery communication cable as described in chapter 2. This cable is designed specifically for connecting the Any-Grid PSW-H to ZRGP batteries.
- Ensure the battery modules are all turned off.
- Set the battery DIP switches as described in the battery manual, depending on the number and arrangement of batteries used.
- Ensure the battery modules are still turned off. Connect the Any-Grid(s) to the battery power (positive and negative) terminals with the correct polarity.
CAUTION: If the correct polarity of the battery is not observed, the Any-Grid and the battery may be damaged, this is not covered by warranty.
Connect the battery communication cable mentioned in chapter 2 to the master battery’s RS-485 port and the other end to the Any-Grid’s BMS port. Take care to connect the correct cable ends to the battery and Any-Grid:
- Ensure the battery modules are wired as outlined in the ZRGP battery manual. Turn on the batteries with their ON/OFF switch:

- Ensure the “ON/OFF” load power button of the Any-Grid(s) is in the ON position (depressed), but no loads are connected:
The Any-Grid(s) should now be running, the display(s) on. - Apply the following setting on the Any-Grid to which the ZRGP battery bank is connected with the communication cable. This setting refers to the Any-Grid manual, chapter Operation → Device Operation Settings → Settings menus.
• Battery type
Menu 05: User-defined battery (“USE”)
- Once the setting has been applied, exit the settings menu by pressing
to return to the main view. - Activate the circuit breakers or insert the fuses to energize the various inputs and outputs on the Any-Grid in the following order (skip any that are not connected):
a) AC input
b) PV input
c) AC output - If you are using more than one Any-Grid, this procedure ensures that the unit to which the ZRGP battery is
connected, will communicate with the ZRGP battery BMS. Automatically, the battery type of all other connected Any-Grid units will be set to “User-defined”, this is normal.
The commissioning and programming of the battery-related settings of the Any-Grid is now complete.
The content of this document is subject to change without notice.
Copyright © 2022 Phocos AG, all rights reserved.
Version: 20220224
Phocos AG
Magirus-Deutz-Str. 12
89077 Ulm, Germany
Phone +49 731 9380688-0
Fax +49 731 9380688-50
www.phocos.com
[email protected]
Make sure the cable is correctly oriented between the battery and PSW-H unit when installing below.

The Any-Grid(s) should now be running, the display(s) on.


















