
SP0524(S) SP0532(S)
SP0525(S) SP0533(S)
SP0527(S) SP0535(S)
SPX0525(S) SPX0533(S)
Underwater ColorLogic™ LED Lighting Fixtures
FOR SWIMMING POOLS AND SPAS
OWNER’S GUIDE
INSTALLATION AND OPERATING INSTRUCTIONS
GENERAL INFORMATION
FILE E39338

The Hayward® ColorLogic™ LED (light-emitting diode) underwater lighting fixture you have purchased is designed to mount into Hayward fixture housings (niches) manufactured 1993 and later. Hayward light fixtures may fit into other niches, but the installation will not carry a UL approval.
Hayward SP0524, SP0525, and SP0527 Series ColorLogic LED pool lights are UL listed under file number E39338 and, to be approved, must be used with Hayward models SP0600, SP0607, SP0604C, or SP0609C fixture housings (niches). Hayward SP0532, SP0533 and SP0535 Series ColorLogic LED spa lights are UL listed under file number E39338 and, to be approved, must be used with Hayward models SP0601, SP0608, SP0606C, or SP0610C fixture housings (niches). Installation of light and niche must be in accordance with Article 680 of the National Electric Code (NEC) and any applicable local codes. If non-metallic conduit is used, a #8 AWG grounding conductor must be run through the conduit and connected to the grounding connector on the inside of the niche. This connection must be encapsulated using a listed potting compound in accordance with NEC Article 680-20, such as 3M Scotch Cast Wet Niche Potting Compound No. 2135 (UL file E130394) or equivalent. The integral external connection on the niche should be connected to a #8 AWG bonding conductor also required by the NEC. Please refer to your niche instructions for details.
Except when the fixture is installed in an area of the swimming pool or spa that is not used for swimming and the lens is adequately guarded to keep any person from contacting it, the fixture must be installed in or on a wall of the pool or spa, with the top of the lens not less than 18 inches (46 cm) below the normal water level of the pool or spa.
Important Note When Installing Niches in Concrete/Guinite Pools
SP0600, SP0601 and SP0608 Niches: A cardboard cover and 2 screws are provided with the niche to protect the niche and mounting screw holes. Leave these in place during construction to prevent intrusion of concrete which may damage the niche or screw threads. REMOVE and discard both the screws and the protective cardboard cover when ready to install the light fixture.
SP0604C, SP0606C, SP0609C, and SP0610C Niches: A plastic cover is provided with the niche to protect the niche and mounting screw holes. Leave the cover in place during construction to prevent intrusion of concrete which may damage the niche or screw threads. Before applying plaster, the outer edge of the cover may be torn off to allow plastering up to the edge of the niche. REMOVE and discard the plastic cover when ready to install the light fixture. If the light fixture is installed in the niche before pool or spa construction, the plastic cover may be reversed and taped to the edge of the light’s face plate to protect the light from concrete during construction.
GIVE THESE INSTRUCTIONS TO POOL/SPA OWNER AFTER INSTALLATION
092153A
IMPORTANT SAFETY INSTRUCTIONS
RISK OF ELECTRIC SHOCK

1. Read and follow all instructions. When installing and using this electrical equipment, basic safety precautions should always be followed. Failure to follow instructions may result in injury.
2. Risk of electric shock. Do not open. Light has no user serviceable parts inside.
3. To reduce the risk of injury, do not permit children to use this product unless they are closely supervised at all times.
4. Disconnect electrical power before installing or servicing this equipment.
5. Improper installation may result in death or serious injury to bathers or service personnel or others by way of electric shock.
![]()
6. This swimming pool or spa light is UL listed for permanently installed pools or spas only. It is not listed for storable pools or spas. Permanently installed pools and spas are those constructed in or partially in the ground and all others capable of holding water in a depth greater than 42 in (1.07 m). Storable pools and spas are those constructed on or above the ground and capable of holding water to a maximum of 42 in (1.07 m).
7. This light fixture must be installed by qualified personnel in compliance with the National Electric Code (NEC) and any applicable local codes and/or regulations.
SAVE THESE INSTRUCTIONS
PRODUCT ILLUSTRATIONS

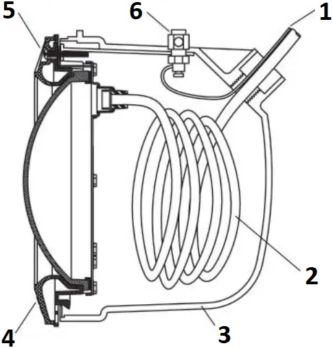
- #8 AWG GROUND WIRE
- POWER CORD
- FIXTURE HOUSING (NICHE)
- LIGHT FIXTURE
- MOUNTING SCREW
- BONDING-MOUNTING CONNECTOR
SP0524(S) / SP0525(S) / SP0527(S) POOL LIGHT INSIDE HAYWARD SP0600U NICHE

- #8 AWG GROUND WIRE
- BONDING-MOUNTING CONNECTOR
- MOUNTING SCREW
- LIGHT FIXTURE
- FIXTURE HOUSING (NICHE)
- POWER CORD
SP0532(S) / SP0533(S) / SP0535(S) SPA LIGHT INSIDE HAYWARD SP0601U / SP0608U NICHE

- MOUNTING SCREW
- LIGHT FIXTURE
- FIXTURE HOUSING (NICHE)
- POWER CORD
- BONDING-MOUNTING CONNECTOR
- #8 AWG GROUND WIRE
SP0524(S) / SP0525(S) / SP0527(S) POOL LIGHT INSIDE HAYWARD SP0604C / SP0609C NICHE
Hayward ColorLogic Pool and Spa lights are UL listed with Hayward fixture housings (niches) only. See chart below:
Model # | Voltage (VAC) | Wattage (W) | Wire Size (AWG) | For Use With Niches | For Country | |
| POOL | SP0524(S)LED | 12 | 50 | 12 | SP0600U, SP0607U, SP0604C, SP0609C | United States |
SP0525(S)LED | 120 | 50 | 16 | SP0600U, SP0607U, SP0604C, SP0609C | United States | |
SP0527(S)LED | 120 | 95 | ||||
| SPA | SP0532(S)LED | 12 | 25 | 16 | SP0601U, SP0606C, SP0610C, SP0608U | United States |
SP0533(S)LED | 120 | 25 | 16 | SP0601U, SP0606C, SP0610C, SP0608U | United States | |
SP0535(S)LED | 120 | 40 | ||||
| POOL | SP0524CLED | 12 | 50 | 14 | SP0600U, SP0607U, SP0604C, SP0609C | Canada |
SP0525CLED | 120 | 50 | 14 | SP0604C, SP0609C | Canada | |
SP0527CLED | 120 | 95 | ||||
| SPA | SP0532CLED | 12 | 25 | 14 | SP0601U, SP0606C, SP0610C, SP0608U | Canada |
SP0533CLED | 120 | 25 | 14 | SP0606C, SP0610C, SP0608U | Canada | |
SP0535CLED | 120 | 40 |
INSTALLATION INSTRUCTIONS
[1]

- 18 in (46 cm) (MINIMUM)
NOTE: For installation of Hayward fixture housings (niches), see installation instructions provided with the fixture housing.
1. INSTALL FIXTURE HOUSING
The light fixture must be installed in or on a wall of the pool or spa with the top of the lens opening not less than 18 inches (46 cm) below the normal water level of the pool except when the fixture is installed in an area of the swimming pool that is not used for swimming and the lens is adequately guarded to prevent any person from contacting it. Select a location for the light fixture(s) that will give optimum light dispersion for the pool or spa design.
[2]

- 48 in (1.22 m) (MINIMUM)
- TO OTHER JUNCTION BOX(ES) (OPTIONAL)
- TO POWER SUPPLY & SWITCH
2. INSTALL JUNCTION BOX AND CONDUIT
Select a suitable location for the junction box (Hayward SP680, SP681, or UL-listed equivalent) not less than 48 inches (1.22 m) from the edge of the pool or spa. Run conduit from the niche up to the junction box such that the junction box is not less than 8 inches (20 cm) above the maximum pool or spa water level, or not less than 4 inches (10 cm) above the ground, whichever is greater. Additional conduit should be run from the junction box to the power supply, switch panel, pool/spa controller, etc.
Snake the 3-conductor cord, and a #8 AWG copper ground wire (when non-metallic conduit is used) through the conduit outlet of the fixture housing (niche), into the conduit, and up to the junction box. DO NOT CUT EXCESS CORD. Leave adequate cord coiled up in the niche so that the light fixture will be able to be raised to the pool deck for servicing. Cut off extra cord at the junction box.
[3]

- ENCAPSULATE
- #8 AWG COPPER WIRE
- PLASTIC NICHES

- ENCAPSULATE
- #8 AWG COPPER WIRE
- STAINLESS NICHES
3. CONNECT GROUND WIRE TO NICHE (IF NECESSARY)
If non-metallic conduit is used, connect the #8 AWG copper ground wire to the grounding connector inside the fixture housing (niche). This termination must be encapsulated using a listed potting compound* to a thickness of at least 1/8 inch (4 mm) in accordance with Article 680 of the NEC.
* 3M Inc. Scotch Cast Wet Niche Potting Compound No. 2135 (UL File E130394) or equivalent.
[4]

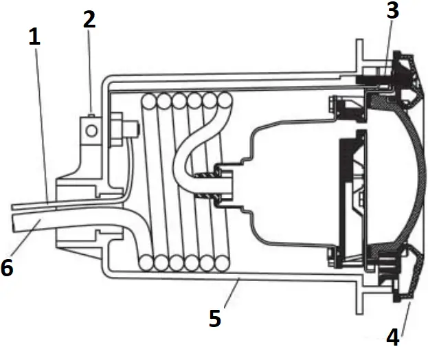
4. MOUNT THE LIGHT FIXTURE
Coil up the extra cord and insert it in the fixture housing (niche) behind the light fixture. To mount the light fixture, insert the fixture into the niche with the mounting screw at the top (12 o’clock position). Place the bottom hook in first (6 o’clock position), then tilt the top of the fixture up and secure it with the mounting screw. Be sure the hook on the bottom catches on the niche. When removing the fixture from the niche, unscrew the mounting screw, tilt the top of the fixture out, and lift it up and out.
NOTE: When installing the light into the Hayward SP0607U fixture housing, you must use the brass spacer (included). The mounting screw must pass through the spacer before threading into the mounting hole in the fixture housing.
[5]

- JUNCTION BOX
- TO OTHER JUNCTION BOX(ES) (OPTIONAL)
- TO POOL/SPA LIGHT
- TO POWER SUPPLY & SWITCH
5. INSTALL FIELD-INSTALLED WIRING
Run conduit from the junction box to the power supply, pool/spa controller, or switch box. Snake 3 wires (match to wire gauge of light cord, or larger) through the conduit from the junction box to the power supply, pool/spa controller, or switch box. If multiple lights are being installed, run additional conduit/wires from the junction box to the additional junction box(es). When wiring multiple lights to the same branch circuit, care should be taken to size the wiring adequately based on the total wattage of all lights connected to the circuit. Use wire nuts to connect the field-installed wiring to the light fixture cord in the junction box. Connect the ground wires to the ground terminal connections inside the junction box.
[6a]

- SWITCH
- POWER SUPPLY (LOAD CENTER)
- TO OTHER JUNCTION BOX(ES) (OPTIONAL)
- TO POOL/SPA LIGHT
- JUNCTION BOX
6a. CONNECTING THE LIGHT TO CONTROLS – 120V
In accordance with NEC Article 680-22, all 120v underwater light fixtures must have a GFCI protector. If multiple Hayward ColorLogic lights are installed, they may be synchronized. To enable light synchronization, wire all lights to the same switch or relay. The Hayward ColorLogic lights are controlled via power-cycling. No special controller is required to activate the light and switch it through different modes. The light fixture can be switched with any basic on/off switch (must not be used with a dimmer).
If a Hayward PSC2100 Series Pool/Spa Control System is being used, wire the LED light fixture to either the main “LIGHT” circuit, or the “AUX 4” circuit. The Hayward PSC2100 controller has an integral GFCI for these circuits and an additional GFCI need not be installed. Please note that if the “LIGHT” circuit on the PSC controller is used, the controller must be configured for a non-dimming light (dip switch #1 down). The Hayward ColorLogic LED light fixtures are also compatible with a variety of other pool/spa controllers that control devices through simple on/off switching; refer to your controller’s instruction manual for details.
For troubleshooting, please see the operating instructions part of this manual.
[6b]

- SWITCH
- POWER SUPPLY (LOAD CENTER)
- TO OTHER JUNCTION BOX(ES) (OPTIONAL)
- TO POOL/SPA LIGHT
- JUNCTION BOX
- TRANSFORMER
6b. CONNECTING THE LIGHT TO CONTROLS – 12V
A suitable transformer must be installed which is rated for low-voltage landscape and swimming pool and spa lights (Intermatic model PX100, PX300, or equivalent). The transformer must be rated at or above the total wattage used by all light fixtures attached. Follow the transformer manufacturer’s instructions for wiring it correctly. If multiple Hayward ColorLogic lights are installed, they may be synchronized. To enable light synchronization, wire all lights to the same switch.
The Hayward ColorLogic lights are controlled via power-cycling. No special controller is required to activate the light and switch it through different modes. The light fixture can be switched with any basic on/off light switch (must not be used with a dimmer).
If a Hayward PSC2100 Pool/Spa Control System is being used, wire the LED light fixture to either the main “LIGHT” circuit, or the “AUX 4” circuit. Please note that if the “LIGHT” circuit on the PSC controller is used, the controller must be configured for a non-dimming light (dip switch #1 down). The Hayward LED light fixtures are also compatible with a variety of other pool/spa controllers that control devices through simple on/ off switching; refer to your controller’s installation manual for details.
For troubleshooting, please see the operating instructions part of this manual. If the total wire length from the transformer to the light exceeds 60 feet, the use of a higher voltage transformer is recommended; see the table on the back cover of this manual for details.
OPERATING INSTRUCTIONS
GETTING STARTED
Congratulations on your purchase of a Hayward ColorLogic LED Light. Welcome to a more colorful world brought to you by Hayward and Chromacore, (R) patented technology that generates colored light and effects using a microprocessor to control red, green, and blue LED’s.
Your Hayward ColorLogic underwater pool or spa light has these features:
- Long-lasting LED’s (light-emitting diodes) which can last up to 10 times longer than current incandescent, halogen, or metalhalide pool and spa lights.
- Multicolor capability without any color wheels or moving parts to wear out.
- Multicolor program capability which allows you to select any one of 12 different programs, 5 fixed colors, and 7 color shows.
- Low power consumption. Uses approximately half of the power needed for an ordinary 100 watt light.
OPERATING THE LIGHT
Your Hayward ColorLogic light is operated through power-cycling: a method of changing modes which requires no special controller or interface. To activate the light, simply turn on the switch. To deactivate the light, turn off the switch. To advance to the next program, turn the switch off, then back on within 10 seconds. Whenever the light has been off for over 60 seconds, and is first turned on, it will come on to white for 15 seconds for quick clear view of your pool, then go to the last fixed color or color show it was running.
LIGHT SYNCHRONIZATION
If your pool or spa has multiple Hayward ColorLogic LED lights, they may be operated independently, or they can be easily synchronized so they will all display the same colors and shows at the same time. For light synchronization, all lights must be wired to the same switch. Once installed, all lights should be automatically synchronized, however, if they get out of sync, they can be re-synchronized easily. To re-synchronize your lights, turn the switch on, then back off, then wait between 11 and 14 seconds and turn the switch back on. When the lights come back on, they should enter program #1, and be synchronized.
PROGRAMS
Your Hayward ColorLogic light has the capability to display 12 different programs. These programs are advanced using power-cycling. The programs are:
- Show- Voodoo Lounge – Fast Color Wash
- Fixed – Deep Blue Sea
- Fixed – Afternoon Skies
- Fixed – Emerald
- Fixed – Sangria
- Fixed – Cloud White
- Show- Twilight – Slow Color Wash
- Show- Tranquility – Blue/Cyan/White Fade
- Show- Gemstone – Blue/Green/Magenta Fade
- Show- USA! – Red/White/Blue Switch
- Show- Mardi Gras – Fast Random Fade
- Show- Cool Cabaret – Fast Random Fade
TROUBLESHOOTING
If you have a problem with your Hayward ColorLogic light, please try the following tips before calling for service:
PROBLEM: Light will not advance to the next show when it is power-cycled (turned “off” and then back “on”).
SOLUTION: Do not power-cycle the switch rapidly, leave it off for at least 1 second before turning it back on.
PROBLEM: Light goes to white whenever it is power-cycled (turned “off” and then back “on”).
SOLUTION: Be sure that you power-cycle the light for less than 10 seconds.
PROBLEM: Multiple lights are not correctly synchronized.
SOLUTION: Follow the steps in these instructions to re-synchronize the lights.
PROBLEM: Light will not come on.
SOLUTION: Check ground fault and reset if necessary.
PROBLEM: Light will not come on or cycles on and off.
SOLUTION: Automatic thermal switch may be cycling due to excessive temperatures. Check pool or spa water temperature.
PROBLEM: Light does not function properly, or does not function at all.
SOLUTION: Verify that your pool/spa controller is not “dimming” the light.
Hayward (R) is a registered trademark and ColorLogic (™) is trademark of Hayward Pool Products, Inc.
Chromacore (R) is a registered trademark of Color Kinetics, Inc.
All Rights Reserved.
Patents 6,016,038 and 6,150,774
European Patent 1,016,062
Other patents pending.
© 2004 Hayward Pool Products, Inc.
![]()
When installing low-voltage lights, the length of the cord has an effect on performance. To prevent performance problems with low-voltage lights, verify the transformer is providing the minimum required voltage according to the table below. To check this voltage, measure the voltage at the transformer while the light is “on” and operating in “white” mode. In some cases, a voltage greater than 12 volts is required due to a long cord run. Some transformers provide higher voltage taps for this purpose; check your transformer manufacturer’s installation instructions for details.
Product | Total Cord Length from Transformer to Light | Minimum Required Voltage at transformer |
| 12v LED Spa Light (USA & Canada) | 30ft | 12v |
60ft | 12v | |
| 90ft | 12v | |
120ft | 13v | |
| 150ft | 13v | |
200ft | 14v | |
| 12v LED Pool Light | 30ft | 12v |
60ft | 12v | |
| 90ft | 12v | |
120ft | 13v | |
| 150ft | 13v | |
200ft | 14v | |
| 12v LED Pool Light (Canada) | 30ft | 12v |
60ft | 12v | |
| 90ft | 13v | |
120ft | 14v | |
| 150ft | 15v | |
200ft | 16v |
Hayward Pool Products
Worldwide Locations
Hayward Corporate Headquarters
Hayward Pool Products, Inc.
620 Division Street
Elizabeth, NJ 07207, USA
Tel: 908 351 5400
Fax: 908 351 5675
Hayward Pool Products, Inc.
2875 Pomona Boulevard
Pomona, CA 91768, USA
Tel: 909 594 1600
Fax: 909 598 6905
Hayward Pool Products Canada, Inc.
2880 Plymouth Drive
Oakville, Ontario, CANADA, L6H 5R4
Tel: 905 829 2880
Fax: 905 829 3636
Hayward Pool Europe
Parc Industrial
de la Plaine de L’Aine
Alles Des Chenes
01150 Saint Vulbus
FRANCE
Tel: 33 1 39 30 91 00
Fax: 33 1 39 30 91 89
Hayward/IMG
International Marketing Group
2875 Pomona Boulevard
Pomona, CA 91768, USA
Tel: 909 594 0082
Fax: 909 444 0327

HAYWARD POOL PRODUCTS, INC.
620 DIVISION STREET, ELIZABETH, NEW JERSEY 07207 / Phone (908) 351-5400
LIMITED WARRANTY
To all original purchasers of its products, Hayward Pool Products, Inc., 620 Division Street, Elizabeth, New Jersey, warrants its products free from defects in materials and workmanship for a period of one year from the date of purchase.
Products which fail or become defective during the warranty period, except as a result of freezing, accident, negligence, improper installation, use, or care, shall be repaired or replaced at our option without charge, within ninety days of the receipt of defective product, barring unforeseen delays.
To obtain warranty replacements or repair, defective products should be returned, transportation paid, to the place of purchase, or to the nearest authorized Hayward service center. For further Hayward dealer or service center information, contact Hayward Technical Service Department.
Hayward shall not be responsible for cartage, removal and/or reinstallation labor, or any other such costs incurred in obtaining warranty replacements.
Some states do not allow a limitation on how long an implied warranty lasts, or the exclusion or limitation of incidental or consequential damages, so the above limitation or exclusion may not apply to you.
This warranty gives you specific legal rights, and you may also have other rights which vary from state to state.

FOR FURTHER INFORMATION OR CONSUMER TECHNICAL SUPPORT,
PLEASE CALL 866-772-2100 OR VISIT OUR WEB SITE AT www.haywardnet.com
092153A RevB















