STIGA HPS 550 R Instructions
2C1502504/ST1

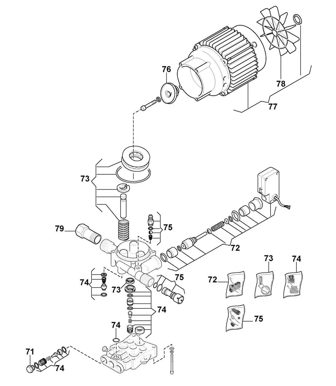
Spare parts list
- Use ST. S.p.A. Genuine Spare Parts specified in the parts list for repair and/or replacement.
- The contents described in the parts list may change due to improvement.
- The drawings of the spare parts are only indicative And might Not represent the part in question exactly.
- The indications “right” – “left” – “front” – “rear” refer to the position of the operator when using the machine.
- When placing orders of parts for repair And/Or replacement, make sure that the illustrated parts list Is the one applying to the machine’s year of manufacture, as shown on the identification plate attached to the machine.
All rights reserved. No part Of this material may be reproduced Or transmitted, in any form Or by any means, electronic Or mechanical, including photocopying, recording Or by any information storage And retrieval system, without permission in writing from ST. S.p.A.
High Pressure Cleaner




Electric Pump


Accessories


Accessories On Request


Copyright ST. S.P.A.
05/08/2021














