SAMSUNG NK36M3050PS-U1 Range Hood

What’s In The Box

Tools

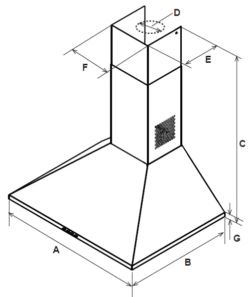
Dimension


Symbols used in this manual
WARNING
Hazards or unsafe practices may result in severe personal injury or death.
CAUTION
Hazards or unsafe practices may result in electric shock, personal injury, or property damage.
NOTE
Useful tips and instructions
These warning icons and symbols are here to prevent injury to you and others. Please follow them explicitly. After reading this section, keep it in a safe place for future reference.
Closely follow the instructions set out in this manual. All responsibility, for any eventual inconveniences, damages, or fires caused by not complying with the instructions in this manual, is declined. This appliance is intended to be used in households and similar applications such as:
- Staff kitchen areas in shops, offices, and other working environments;
- farmhouses;
- clients in hotels, motels, and other residential-type environments;
- bed and breakfast-type environments.
Safety Instructions
The hood can look different from that illustrated in the drawings in this booklet. The instructions for use, maintenance, and installation, however, remain the same.
- It is important to conserve this booklet for consultation at any moment. In the case of sale, cession or move, make sure it is together with the product.
- Read the instructions carefully: there is important information about installation, use and safety.
- Do not carry out electrical or mechanical variations on the product or on the discharge conduits.
- Before proceeding with the installation of the appliance verify that there are no damaged all components. Otherwise, contact your dealer and do not proceed with the installation.
Caution
- Before any cleaning or maintenance operation, disconnect the hood from the mains by removing the plug or disconnecting the mains’ electrical supply.
- Always wear work gloves for all installation and maintenance operations.
- This appliance can be used by children aged 8 years and above and persons with reduced physical, sensory or mental capabilities or lack of experience and knowledge if they have been given supervision or instruction concerning the use of the appliance in a safe way and understand the hazards involved.
- Children shall not be allowed to tamper with the controls or play with the appliance.
- Cleaning and user maintenance shall not be made by children without supervision.
- The premises where the appliance is installed must be sufficiently ventilated when the kitchen hood is used together with other gas combustion devices or other fuels.
- The hood must be regularly cleaned on both the inside and outside (AT LEAST ONCE A MONTH).
- This must be completed in accordance with the maintenance instructions provided. Failure to follow the instructions provided regarding the cleaning of the hood and filters will lead to the risk of fires.
- Do not flambé under the range hood.
- Do not remove filters during cooking.
- For lamp replacement use only the lamp type indicated in the Maintenance/Replacing lamps section of this manual.
The use of exposed flames is detrimental to the filters and may cause a fire risk, and must therefore be avoided in all circumstances. Any frying must be done with care in order to make sure that the oil does not overheat and ignite.
CAUTION:
Accessible parts of the hood may become hot when used with cooking appliances.
- Do not connect the appliance to the mains until the installation is fully complete.
- With regard to the technical and safety measures to be adopted for fume discharging it is important to closely follow the regulations provided by the local authorities.
- The air must not be discharged into a flue that is used for exhausting fumes from an appliance burning gas or other fuels.
WARNING!
Failure to install the screws or fixing devices in accordance with these instructions may result in electrical hazards.
- Do not use or leave the hood without the lamp correctly mounted due to the possible risk of electric shocks.
- Never use the hood without effectively mounted grids.
- The hood must NEVER be used as a support surface unless specifically indicated.
- Use only the fixing screws supplied with the product for installation or, if not supplied, purchase the correct screw type.
- Use the correct length for the screws which are identified in the Installation Guide.
- In case of doubt, consult an authorized service assistance center or similarly qualified person.
WARNING!
Do not use with a programmer, timer, separate remote control system or any other device that switches on automatically.
- This appliance is marked according to the European directive 2012/19/EC – UK SI 2013 No.3113 on Waste Electrical and Electronic Equipment (WEEE).
- By ensuring this product is disposed of correctly, you will help prevent potential negative consequences for the environment and human health, which could otherwise be caused by inappropriate waste handling of this product.
- The symbol on the product, or on the documents accompanying the product, indicates that this appliance may not be treated as household waste. Instead, it should be taken to the appropriate collection point for the recycling of electrical and electronic equipment. Disposal must be carried out in accordance with local environmental regulations for waste disposal.
- For further detailed information regarding the process, collection, and recycling of this product, please contact the appropriate department of your local authorities or the local department for household waste or the shop where you purchased this product.
An appliance designed, tested, and manufactured according to:
- Safety: EN/IEC 60335-1; EN/IEC 60335-2-31, EN/IEC 62233.
- Performance: EN/IEC 61591; ISO 5167-1; ISO 5167-3; ISO 5168; EN/IEC 60704-1; EN/IEC 60704-2-13; EN/IEC 60704-3; ISO 3741; EN 50564; IEC 62301.
- EMC: EN 55014-1; CISPR 14-1; EN 55014-2; CISPR 14-2; EN/IEC 61000-3-2; EN/IEC 61000-3-3. Suggestions for the correct use in order to reduce the environmental impact:
Switch ON the hood at minimum speed when you start cooking and kept it running for a few minutes after cooking is finished. Increase the speed only in case of a large amount of smoke and vapor and use boost speed(s) only in extreme situations. Replace the charcoal filter(s) when necessary to maintain good odor reduction efficiency. Clean the grease filter(s) when necessary to maintain good grease filter efficiency. Use the maximum diameter of the ducting system indicated in this manual to optimize efficiency and minimize noise.
For information on Samsung’s environmental commitments and product-specific regulatory obligations e.g. REACH, WEEE, and Batteries, visit:
samsung.com/uk/aboutsamsung/samsungelectronics/corporatecitizenship/data_corner. HTML
Use
The hood is conceived for the suction of cooking fumes and steam and is destined only for domestic use. The hood is designed to be used either for an exhausting or filter version.
Ducting version
The hood is equipped with a top air outlet B for the discharge of fumes to the outside (exhaust pipe and pipe fixing clamps not provided).
Attention! If the hood is supplied with a carbon filter, then it must be removed.
Using the tubes and discharge holes on walls with smaller dimensions will cause a diminution of the suction performance and a drastic increase in noise. Any responsibility in the matter is therefore declined.
Filter version
In the case of not being able to discharge the fumes and the steam of cooking outside, the hood in the filter version can be used to mount the F deflector on the flue and one or more carbon filters (on the basis of the model possessed). The fumes and steam are recycled into the kitchen through upper grill H.
Attention! If the hood is not supplied with a carbon filter, then it must be ordered and mounted.
Installation
The minimum distance between the supporting surface for the cooking equipment on the hob and the lowest part of the range hood must be not less than 50cm from electric cookers and 65cm from gas or mixed cookers. If the instructions for installation for the gas hob specify a greater distance, this must be adhered to.
Electrical connection
The main power supply must correspond to the rating indicated on the plate situated inside the hood. If provided with a plug connect the hood to a socket in compliance with current regulations and positioned it in an accessible area, after installation. If it is not fitted with a plug (direct mains connection) or if the plug is not located in an accessible area, after installation, apply a double pole switch in accordance with standards which assures the complete disconnection of the mains under conditions relating to over-current category III, in accordance with installation instructions.
WARNING!
Before re-connecting the hood circuit to the mains supply and checking the efficient function, always check that the mains cable is correctly assembled.
Mounting
Before beginning installation:
- Check that the product purchased is of a suitable size for the chosen installation area.
- Remove the charcoal (*) filter/s if supplied (see also relative paragraph). This/these is/are to be mounted only if you want lo use the hood in the filtering version.
- Check (for transport reasons) that there is no other supplied material inside the hood (e.g. packets with screws (*), guarantees (*), etc.), eventually removing them and keeping them.
Expansion wall plugs are provided to secure the hood to most types of walls/ceilings. However, a qualified technician must verify the suitability of the materials in accordance with the type of wall/ceiling. The wall/ceiling must be strong enough to take the weight of the hood.
Do not tile, grout or silicone this appliance to the wall. Surface mounting only.
Note: The parts marked with the symbol “(*)” are optional accessories supplied only with some models or otherwise not supplied, but available for purchase.
Maintenance
Cleaning
Clean using ONLY a cloth dampened with neutral liquid detergent. DO NOT CLEAN WITH TOOLS OR INSTRUMENTS. Do not use abrasive products. DO NOT USE ALCOHOL!
Always wear work gloves for all maintenance operations.
Grease filter
Traps cooking grease particles
The grease filter must be cleaned once a month using non-aggressive detergents, either by hand or in the dishwasher, which must be set to a low temperature and a short cycle. When washed in a dishwasher, the grease filter may discolor slightly, but this does not affect its filtering capacity.
To remove the grease filter, pull the spring release handle.
Charcoal filter (Optional)

It absorbs unpleasant odors caused by cooking.
The saturation of the charcoal filter occurs after more or less prolonged use, depending on the type of cooking and the regularity of cleaning of the grease filter.
In any case, it is necessary to replace the cartridge at least every four months.
The charcoal filter may NOT be washed or regenerated.
- Remove the grease filters.
- Fit the charcoal filters over the motor.
- Align the pins R on the cowl with the slots S, then turn the filter clockwise until it locks in place.
- Reverse the above procedure to remove the charcoal filters.
- Refit the grease filters.
- Buying charcoal filters
The Charcoal filter can be bought at the Samsung Service Website and Service Center. Please refer to the last page of the manual.
Replacing lamps
Disconnect the appliance from the electricity.
Warning! Prior to touching the light bulbs ensure they are cooled down.
- Replace the old light bulb with one of the same types as specified in the feature label or near the light lamp on the hood.
- Remove cover A to access lamp housing A.
- Remove the damaged light and replace it with a new one (see the table below):

If the lights do not work, make sure that the lamps are fitted properly into their housings before you call for technical assistance. Dismantling bulb at end of life: Please refer to the removal method above.
Operation

The hood is fitted with a control panel with aspiration speed selection control and a light switch to control cooking area lights.
B1.
Light ON/OFF
- Press the Light button and the lamps will turn on.
- Press the Light button again and the lamps will turn off.
B2.
Motor ON/OFF
Press the POWER button and the hood will be activated at default speed. Press again and the hood will be turned off.
B3.
Medium Speed
Press the button “C” and the hood will be activated at medium speed
B4.
High Speed
Press the button “D” and the hood will be activated at high speed.
Contact Information
| COUNTRY | CALL | OR VISIT US ONLINE AT |
| FRANCE | 01 48 63 00 00 | www.samsung.com/fr/support |
| GERMANY | 06196 77 555 77 | www.samsung.com/de/support |
| ITALIA | 800-SAMSUNG (800.7267864) | www.samsung.com/it/support |
| BULGARIA | *3000 Цена в мрежата 0800 111 31 , Безплатна телефонна линия | |
|
POLAND | 801-172-678* lub +48 22 607-93-33* Dedykowana infolinia do obsługi zapytań dotyczących telefonów komórkowych: 801-672-678* lub +48 22 607-93-33* * (koszt połączenia według taryfy operatora) |
|
| DENMARK | 70 70 19 70 | www.samsung.com/dk/support |
| FINLAND | 030-6227 515 | www.samsung.com/fi/support |
| SWEDEN | 0771 726 786 | www.samsung.com/se/support |
| NORWAY | 815 56480 | www.samsung.com/no/support |
| HUNGARY | 0680SAMSUNG (0680-726-7864) | www.samsung.com/hu/support |
| LUXEMBURG | 261 03 710 | www.samsung.com/be_fr/support |
| NETHERLANDS | 088 90 90 100 | www.samsung.com/nl/support |
| SPAIN | 0034902172678 | www.samsung.com/es/support |
| SWITZERLAND | 0800 726 78 64 (0800-SAMSUNG) | www.samsung.com/ch/support (German) www.samsung.com/ch_fr/support (French) |
| RUSSIA | 8-800-555-55-55 (VIP care 8-800-555-55-88) | www.samsung.com/ru/support |
| UKRAINE | 0-800-502-000 | www.samsung.com/ua/support (Ukrainian) www.samsung.com/ua_ru/support (Russian) |
| KAZAKHSTAN | 8-10-800-500-55-500 (GSM: 7799, VIP care 7700) | www.samsung.com/kz_ru/support |
| TURKEY | 444 77 11 | www.samsung.com/tr/support |
| BOSNIA | 055 233 999 | www.samsung.com/support |
| CROATIA | 072 726 786 | www.samsung.com/hr/support |
| MONTENEGRO | 020 405 888 | www.samsung.com/support |
| SERBIA | 011 321 6899 | www.samsung.com/rs/support |
| SLOVENIA | 080 697 267 | www.samsung.com/si/support |
References
Ürün Yardımı ve Destek | Samsung Türkiye
Samsung UK | Mobile | Home Electronics | Home Appliances | TV
Company Info | About Us | Samsung UK
Company Info | About Us | Samsung UK
Skånevik Ølen Kraftlag AS
Aide et assistance produit | Samsung Belgique
Помощ и поддръжка за продукти | Samsung България
Aide et support pour le produit | Samsung Suisse
Produkthilfe & Support | Samsung CH
Hilfe und Support für Samsung Produkte | Samsung DE
Produkt Hjælp & Support | Samsung DK
Ayuda y soporte del producto | Samsung ES
Tuoteohjeet ja tuki | Samsung Suomi
Aide et assistance produit | Samsung France
Pomoć i podrška za proizvode | Samsung Hrvatska
Terméktámogatás | Samsung Magyarország
Aiuto e servizio di assistenza per i prodotti | Samsung Italia
Справочная документация по продукции и службы поддержки | Samsung Казахстан
Hulp en ondersteuning voor producten | Samsung Nederland
Produkt Hjelp og støtte | Samsung Norge
Pomoc dotycząca produktu | Samsung PL
Pomoć i podrška za proizvode | Samsung Srbija
Справка и поддержка по продукту | Samsung РОССИЯ
Produktdesign och Support | Samsung Sverige
Pomoč in podpora za izdelek | Samsung Slovenija
Support Home | Official Samsung Support US
Ürün Yardımı ve Destek | Samsung Türkiye
Bir Samsung Destek Merkezi Bulun | Samsung Türkiye
Довідка та підтримка по продукту | Samsung UA
Довідка та підтримка по продукту | Samsung UA
SERBİS
e-Devlet Kapısı



















