Range Hood
Installation Instructions Guide
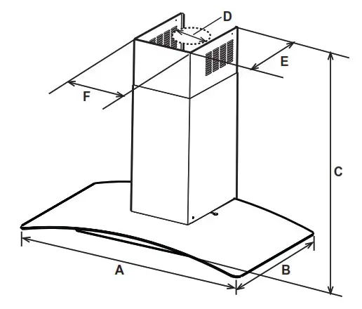
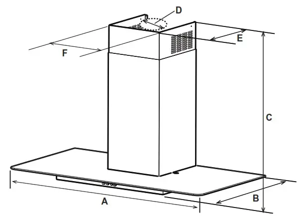
NK36M5070FS/UR NK36M5070CS/UR
NK24M5070FS/UR NK24M5070CS/UR
Instruction on mounting and use
NK24M5070FS Range Hood


| NK36M5070CS/UR | NK24M5070CS/UR | |
| A | 90 cm | 60 cm |
| B | 45 cm | |
| C | ||
| D | 15 cm | |
| E | 25 cm | |
| F | 24 cm | |
NK36M5070CS/UR (net weight – gross weight) : 14,7 Kg – 17,5 Kg
NK24M5070CS/UR (net weight – gross weight) : 13,5 Kg – 16,2 Kg

| NK36M5070FS/UR | NK24M5070FS/UR | |
| A | 89.8 cm | 59.8 cm |
| B | 45 cm | |
| C | ||
| D | 15 cm | |
| E | 25 cm | |
| F | 24 cm | |
NK36M5070FS/UR (net weight – gross weight) : 15,7 Kg – 20,4 Kg
NK24M5070FS/UR (net weight – gross weight) : 14,9 Kg – 19 Kg







Symbols used in this manual
WARNING
Hazards or unsafe practices that may result in severe personal injury or death.
CAUTION
Hazards or unsafe practices that may result in electric shock, personal injury, or property damage.
NOTE
Useful tips and instructions
These warning icons and symbols are here to prevent injury to you and others.
Please follow them explicitly. After reading this section, keep it in a safe place for future reference.
Closely follow the instructions set out in this manual. All responsibility, for any eventual inconveniences, damages or fires caused by not complying with the instructions in this manual, is declined. This appliance is intended to be used in household and similar application such as: – staff kitchen areas in shop, offices and other working environments; – farm houses; – by clients in hotels, motels and other residential type environments; – bed and breakfast type environments.
The hood can look different to that illustrated in the drawings in this booklet. The instructions for use, maintenance and installation, however, remain the same.
- It is important to conserve this booklet for consultation at any moment. In the case of sale, cession or move, make sure it is together with the product.
- Read the instructions carefully: there is important information about installation, use and safety.
- Do not carry out electrical or mechanical variations on the product or on the discharge conduits.
- Before proceeding with the installation of the appliance verify that there are no damaged all components. Otherwise contact your dealer and do not proceed with the installation.
Caution
- Before any cleaning or maintenance operation, disconnect hood from the mains by removing the plug or disconnecting the mains electrical supply.
- Always wear work gloves for all installation and maintenance operations.
- This appliance can be used by children aged from 8 years and above and persons with reduced physical, sensory or mental capabilities or lack of experience and knowledge if they have been given supervision or instruction concerning use of the appliance in a safe way and understand the hazards involved.
- Children shall not be allowed to tamper with the controls or play with the appliance.
- Cleaning and user maintenance shall not be made by children without supervision.
- The premises where the appliance is installed must be sufficiently ventilated, when the kitchen hood is used together with other gas combustion devices or other fuels.
- The hood must be regularly cleaned on both the inside and outside (AT LEAST ONCE A MONTH).
- This must be completed in accordance with the maintenance instructions provided. Failure to follow the instructions provided regarding the cleaning of the hood and filters will lead to the risk of fires.
- Do not flambé under the range hood.
- Do not remove filters during cooking.
- For lamp replacement use only lamp type indicated in the Maintenance/Replacing lamps section of this manual.
The use of exposed flames is detrimental to the filters and may cause a fire risk, and must therefore be avoided in all circumstances.
Any frying must be done with care in order to make sure that the oil does not overheat and ignite.
CAUTION: Accessible parts of the hood may become hot when used with cooking appliances. - Do not connect the appliance to the mains until the installation is fully complete.
- With regards to the technical and safety measures to be adopted for fume discharging it is important to closely follow the regulations provided by the local authorities.
- The air must not be discharged into a flue that is used for exhausting fumes from appliance burning gas or other fuels.
WARNING! Failure to install the screws or fixing device in accordance with these instructions may result in electrical hazards. - Do not use or leave the hood without the lamp correctly mounted due to the possible risk of electric shocks.
- Never use the hood without effectively mounted grids.
- The hood must NEVER be used as a support surface unless specifically indicated.
- Use only the fixing screws supplied with the product for installation or, if not supplied, purchase the correct screws type.
- Use the correct length for the screws which are identified in the Installation Guide.
- In case of doubt, consult an authorized service assistance center or similar qualified person.
WARNING! Do not use with a programmer, timer, separate remote control system or any other device that switches on automatically. - This appliance is marked according to the European directive 2012/19/EC – UK SI 2013 No.3113 on Waste Electrical and Electronic Equipment (WEEE).
- By ensuring this product is disposed of correctly, you will help prevent potential negative consequences for the environment and human health, which could otherwise be caused by inappropriate waste handling of this product.
- The symbol
on the product, or on the documents accompanying the product, indicates that this appliance may not be treated as household waste. Instead it should be taken to the appropriate collection point for the recycling of electrical and electronic equipment. Disposal must be carried out in accordance with local environmental regulations for waste disposal. - For further detailed information regarding the process, collection and recycling of this product, please contact the appropriate department of your local authorities or the local department for household waste or the shop where you purchased this product.
Appliance designed, tested and manufactured according to:
- Safety: EN/IEC 60335-1; EN/IEC 60335-2-31, EN/IEC 62233.
- Performance: EN/IEC 61591; ISO 5167-1; ISO 5167-3; ISO 5168; EN/IEC 60704-1; EN/IEC 60704-2-13; EN/IEC 60704-3; ISO 3741; EN 50564; IEC 62301.
- EMC: EN 55014-1; CISPR 14-1; EN 55014-2; CISPR 14-2; EN/IEC 61000-3-2; EN/IEC 61000-3-3. Suggestions for a correct use in order to reduce the environmental impact: Switch ON the hood at minimum speed when you start cooking and kept it running for few minutes after cooking is finished. Increase the speed only in case of large amount of smoke and vapor and use boost speed(s) only in extreme situations. Replace the charcoal filter(s) when necessary to maintain a good odor reduction efficiency. Clean the grease filter(s) when necessary to maintain a good grease filter efficiency. Use the maximum diameter of the ducting system indicated in this manual to optimize efficiency and minimize noise.
For information on Samsung’s environmental commitments and product specific regulatory obligations e.g. REACH, WEEE, Batteries, visit : samsung.com/uk/aboutsamsung/samsungelectronics/corporatecitizenship/data_corner.html
Use
The hood is conceived for the suction of cooking fumes and steam and is destined only for domestic use.
The hood is designed to be used either for exhausting or filter version.
Extraction version
In this case the fumes are conveyed outside of the building by means of a special pipe connected with the connection ring located on top of the hood.
CAUTION!
The exhausting pipe is not supplied and must be purchased apart.
Diameter of the exhausting pipe must be equal to that of the connection ring.
CAUTION!
If the hood is supplied with active charcoal filter, then it must be removed.
Connect the hood and discharge holes on the walls with a diameter equivalent to the air outlet (connection flange).
Using the tubes and discharge holes on walls with smaller dimensions will cause a diminution of the suction performance and a drastic increase in noise.
Any responsibility in the matter is therefore declined.
! Use a duct of the minimum indispensable length.
! Use a duct with as few elbows as possible (maximum elbow angle: 90°).
! Avoid drastic changes in the duct cross-section.
Filtration version
The aspirated air will be degreased and deodorised before being fed back into the room.
In order to use the hood in this version, you have to install a system of additional filtering based on activated charcoal.
Installation
- The minimum distance between the supporting surface for the cooking equipment on the hob and the lowest part of the range hood must be not less than 50cm from electric cookers and 65cm from gas or mixed cookers.
If the instructions for installation for the gas hob specify a greater distance, this must be adhered to.
Electrical connection
The mains power supply must correspond to the rating indicated on the plate situated inside the hood. If provided with a plug connect the hood to a socket in compliance with current regulations and positioned in an accessible area, after installation. If it not fitted with a plug (direct mains connection) or if the plug is not located in an accessible area, after installation, apply a double pole switch in accordance with standards which assures the complete disconnection of the mains under conditions relating to over-current category III, in accordance with installation instructions.
WARNING! Before re-connecting the hood circuit to the mains supply and checking the efficient function, always check that the mains cable is correctly assembled. The hood is provided with a special power cable ; if the cable is damaged, request a new one from Technical Service.
Mounting
Before beginning installation:
- Check that the product purchased is of a suitable size for the chosen installation area.
- Remove the charcoal (*) filter/s if supplied (see also relative paragraph). This/these is/are to be mounted only if you want lo use the hood in the filtering version.
- Check (for transport reasons) that there is no other supplied material inside the hood (e.g. packets with screws (*), guarantees (*), etc.), eventually removing them and keeping them.
Expansion wall plugs are provided to secure the hood to most types of walls/ceilings. However, a qualified technician must verify suitability of the materials in accordance with the type of wall/ceiling. The wall/ceiling must be strong enough to take the weight of the hood.
Do not tile, grout or silicone this appliance to the wall. Surface mounting only.
Note: The parts marked with the symbol “(*)” are optional accessories supplied only with some models or otherwise not supplied, but available for purchase.
Maintenance
Cleaning
Clean using ONLY a cloth dampened with neutral liquid detergent. DO NOT CLEAN WITH TOOLS OR INSTRUMENTS. Do not use abrasive products. DO NOT USE ALCOHOL!
Always wear work gloves for all maintenance operations.
Grease filter
Fig. 14-32
Traps cooking grease particles.
The grease filter must be cleaned once a month using non aggressive detergents, either by hand or in the dishwasher, which must be set to a low temperature and a short cycle. When washed in a dishwasher, the grease filter may discolor slightly, but this does not affect its filtering capacity.
To remove the grease filter, pull the spring release handle.
Charcoal filter (Optional)
Fig. 31
It absorbs unpleasant odors caused by cooking.
The saturation of the charcoal filter occurs after more or less prolonged use, depending on the type of cooking and the regularity of cleaning of the grease filter.
In any case it is necessary to replace the cartridge at least every four mounths (or when the filter saturation indication system – if envisaged on the model in possession – indicates this necessity).The charcoal filter may NOT be washed or regenerated.
Assembly
Hook the charcoal filter at the back on the metal tongue of the hood first, then on the front with the two knobs.
Disassembly
Remove the charcoal filter by turning the knobs fixing it to the hood by 90°.
Buying charcoal filters
The Charcoal filter can be bought at Samsung Service Website and Service Center.
Please refer to the last page of manual.
Replacing lamps and/or control gear
The hood is equipped with a lighting system based on LED technology.
The LEDs guarantee an optimum lighting, a duration up to 10 times longer than the traditional lamps and allow to save 90% electrical energy.
For replacement, contact the technical service.
Operation

T1. ON/OFF Suction motor:
When hood is on, it switches off at any speed by pressing button T1.
When the hood is off, it switches on at Speed 1 by pressing button T1.
T2. Speed decrease
Press “T2” button to decrease the speed from 4 (Boost) to 1.
T3. Speed increase
Press the button (hood is ON) to increase the the speed of the motor from speed 1 to the Boost speed (timed).
Speed 1 LED L1
Speed 2 LED L2
Speed 3 LED L3
Boost (timed) LED L4 flashing
Note: Speed 4 (Boost timed) remains activated for 5 minutes, after which the hood sets speed 2 automatically
T4. Speed timing
Speed timing is activated by pressing T4 button, when timing is up the hood switches off.
Timing is divided as follows:
Speed 1 – 20 minutes (LED L1)
Speed 2 – 15 minutes (LED L2)
Speed 3 – 10 minutes (LED L3 )
Boost – 5 minuts (LED L4 flashing)
During timed operation press T2 button and the hood quits the timed mode and decreases the speed.
Press T3 button and the hood quits the timed mode and increases the speed.
Press T4 button and the hood quits the timed mode maintaining the set speed.
T5. Lights ON/OFFF
Press the Light button and the lamps will turn on
Press the Light button again and the lamps will turn off.
Filter saturation signal button – Control and Configuration:
Grease filter signal
After 40 hours of operation LED L1 flashes.
When such signal appears, carry out grease filter maintenance.
To reset the signal, keep T1 button pressed for 3”. (hood is ON).
LED L1 stops flashing before the hood goes back to OFF.
Charcoal filter signal
After 160 hours of operation LED L2 flashes.
When such signal appears, carry out charcoal filter maintenance.
To reset the signal, keep T1 button pressed for 5”. (hood is ON).
LED L2 stops flashing before the hood goes back to OFF.
In case of contemporaneous signalling of both filters, LEDs L1 and L2 flash jointly.
To reset, carry out the procedure described above for 2 times.
The first time it resets the charcoal filter signal, the second time it resets the grease filter signal.
The charcoal filter signal is not active in the standard mode.
In case the hood is used in filter version it is necessary to enable the charcoal filter signal.
Activating charcoal filter signal:
Set the hood to OFF and press T2+T3 button for 3”.
Once the button has been pressed, LED L1 flashes for 1″.
LEDs L1 and L2 flash until the hood gives out a “BEEP”, as confirmed activation, and goes back to OFF.
Deactivating charcoal filter signal:
Set the hood to OFF and press T2+T3 button for 3”.
Once the buttons have been pressed, the LEDs L1+L2 flashes for 1″.
The hood gives out a “BEEP” and LED L2 switches off.
LED L1 flash until the hood gives out a “BEEP”, as confirmed disactivation, and goes back to OFF.
![]()
LIB0131180H Ed. 11/21
References
Ürün Yardımı ve Destek | Samsung Türkiye
Samsung UK | Mobile | Home Electronics | Home Appliances | TV
Company Info | About Us | Samsung UK
Company Info | About Us | Samsung UK
Skånevik Ølen Kraftlag AS
Aide et assistance produit | Samsung Belgique
Помощ и поддръжка за продукти | Samsung България
Aide et support pour le produit | Samsung Suisse
Produkthilfe & Support | Samsung CH
Hilfe und Support für Samsung Produkte | Samsung DE
Produkt Hjælp & Support | Samsung DK
Ayuda y soporte del producto | Samsung ES
Tuoteohjeet ja tuki | Samsung Suomi
Aide et assistance produit | Samsung France
Pomoć i podrška za proizvode | Samsung Hrvatska
Terméktámogatás | Samsung Magyarország
Aiuto e servizio di assistenza per i prodotti | Samsung Italia
Справочная документация по продукции и службы поддержки | Samsung Казахстан
Hulp en ondersteuning voor producten | Samsung Nederland
Produkt Hjelp og støtte | Samsung Norge
Pomoc dotycząca produktu | Samsung PL
Pomoć i podrška za proizvode | Samsung Srbija
Справка и поддержка по продукту | Samsung РОССИЯ
Produktdesign och Support | Samsung Sverige
Pomoč in podpora za izdelek | Samsung Slovenija
Support Home | Official Samsung Support US
Bir Samsung Destek Merkezi Bulun | Samsung Türkiye
Довідка та підтримка по продукту | Samsung UA
Довідка та підтримка по продукту | Samsung UA
SERBİS
e-Devlet Kapısı



















