SAMSUNG NK24M1030 Wall Mount Telescopic Cooker Hood Installation Guide
Safety Instructions


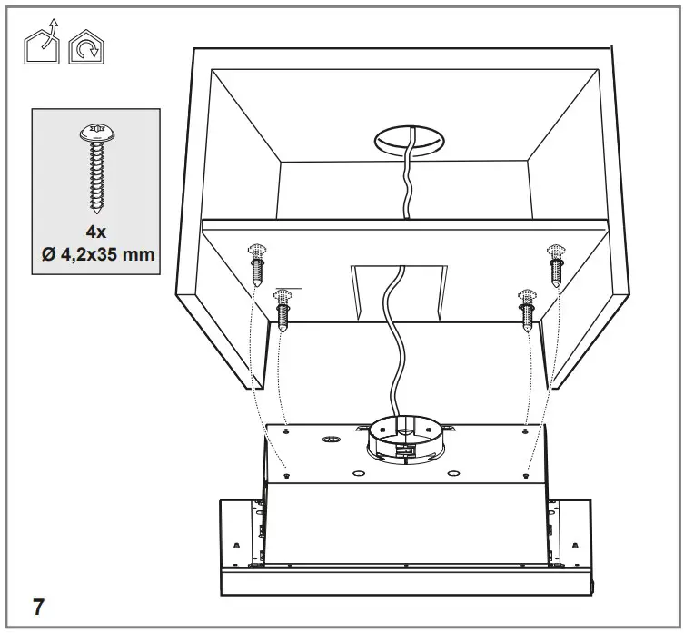
Instructions







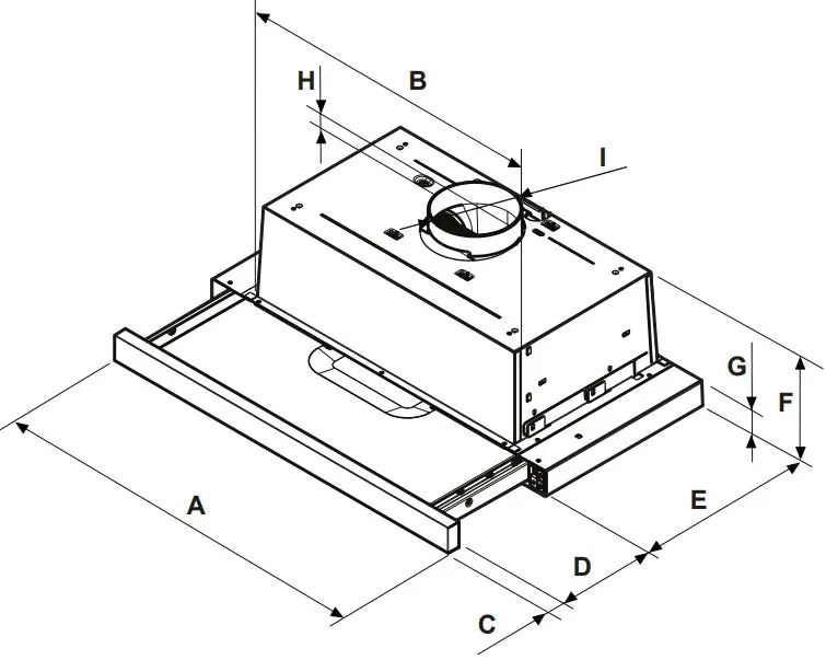
Dimensions

- A 59.8 cm
- B 46 cm
- C 2.1 cm
- D 0-15.5 cm
- E 28 cm
- F 18 cm
- G 4 cm
- H 3.1 cm
- I Ø 12 cm
Package Contents


Symbols used in this manual
WARNING
Hazards or unsafe practices that may result in severe personal injury or death.
CAUTION
Hazards or unsafe practices that may result in electric shock, personal injury, or property damage.
NOTE
Useful tips and instructions
These warning icons and symbols are here to prevent injury to you and others. Please follow them explicitly. After reading this section, keep it in a safe place for future reference.
Closely follow the instructions set out in this manual. All responsibility, for any eventual inconveniences, damages or fires caused by not complying with the instructions in this manual, is declined. This appliance is intended to be used in household and similar application such as: – staff kitchen areas in shop, offices and other working environments; – farm houses; – by clients in hotels, motels and other residential type environments; – bed and breakfast type environments.
The hood can look different to that illustrated in the drawings in this booklet. The instructions for use, maintenance and installation, however, remain the same.
- It is important to conserve this booklet for consultation at any moment. In the case of sale, cession or move, make sure it is together with the product.
- Read the instructions carefully: there is important information about installation, use and safety.
- Do not carry out electrical or mechanical variations on the product or on the discharge conduits.
- Before proceeding with the installation of the appliance verify that there are no damaged all components. Otherwise contact your dealer and do not proceed with the installation.
Caution
- Before any cleaning or maintenance operation, disconnect hood from the mains by removing the plug or disconnecting the mains electrical supply.
- Always wear work gloves for all installation and maintenance operations.
- This appliance can be used by children aged from 8 years and above and persons with reduced physical, sensory or mental capabilities or lack of experience and knowledge if they have been given supervision or instruction concerning use of the appliance in a safe way and understand the hazards involved.
- Children shall not be allowed to tamper with the controls or play with the appliance.
- Cleaning and user maintenance shall not be made by children without supervision.
- The premises where the appliance is installed must be sufficiently ventilated, when the kitchen hood is used together with other gas combustion devices or other fuels.
- The hood must be regularly cleaned on both the inside and outside (AT LEAST ONCE A MONTH).
- This must be completed in accordance with the maintenance instructions provided. Failure to follow the instructions provided regarding the cleaning of the hood and filters will lead to the risk of fires.
- Do not flambé under the range hood.
- Do not remove filters during cooking.
- For lamp replacement use only lamp type indicated in the Maintenance/Replacing lamps section of this manual.
The use of exposed flames is detrimental to the filters and may cause a fire risk, and must therefore be avoided in all circumstances.
Any frying must be done with care in order to make sure that the oil does not overheat and ignite.
CAUTION: Accessible parts of the hood may become hot when used with cooking appliances.
- Do not connect the appliance to the mains until the installation is fully complete.
- With regards to the technical and safety measures to be adopted for fume discharging it is important to closely follow the regulations provided by the local authorities.
- The air must not be discharged into a flue that is used for exhausting fumes from appliance burning gas or other fuels.
WARNING! Failure to install the screws or fixing device in accordance with these instructions may result in electrical hazards. - Do not use or leave the hood without the lamp correctly mounted due to the possible risk of electric shocks.
- Never use the hood without effectively mounted grids.
- The hood must NEVER be used as a support surface unless specifically indicated.
- Use only the fixing screws supplied with the product for installation or, if not supplied, purchase the correct screws type.
- Use the correct length for the screws which are identified in the Installation Guide.
- In case of doubt, consult an authorized service assistance center or similar qualified person.
WARNING! Do not use with a programmer, timer, separate remote control system or any other device that switches on automatically.
Use
The hood is conceived for the suction of cooking fumes and steam and is destined only for domestic use.
The hood is designed to be used either for exhausting or filter version.
Extraction version
In this case the fumes are conveyed outside of the building by means of a special pipe connected with the connection ring located on top of the hood.
CAUTION!
The exhausting pipe is not supplied and must be purchased apart.
Diameter of the exhausting pipe must be equal to that of the connection ring.
CAUTION!
If the hood is supplied with active charcoal filter, then it must be removed.
Connect the hood and discharge holes on the walls with a diameter equivalent to the air outlet (connection flange).
Using the tubes and discharge holes on walls with smaller dimensions will cause a diminution of the suction performance and a drastic increase in noise.
Any responsibility in the matter is therefore declined.
- Use a duct of the minimum indispensable length.
- Use a duct with as few elbows as possible (maximum elbow angle: 90°).
- Avoid drastic changes in the duct cross-section.
Filtration version
The aspirated air will be degreased and deodorised before being fed back into the room.
In order to use the hood in this version, you have to install a system of additional filtering based on activated charcoal.
Installation
The minimum distance between the supporting surface for the cooking equipment on the hob and the lowest part of the range hood must not be less than 50cm from electric cookers and 65cm from gas or mixed cookers. If the instructions for installation for the gas hob specify a greater distance, this must be adhered to.
Electrical connection
The mains power supply must correspond to the rating indicated on the plate situated inside the hood. If provided with a plug connect the hood to a socket in compliance with current regulations and positioned in an accessible area, after installation. If it not fitted with a plug (direct mains connection) or if the plug is not located in an accessible area, after installation, apply a double pole switch in accordance with standards which assures the complete disconnection of the mains under conditions relating to over-current category III, in accordance with installation instructions.
WARNING! Before re-connecting the hood circuit to the mains supply and checking the efficient function, always check that the mains cable is correctly assembled. The hood is provided with a special power cable ; if the cable is damaged, request a new one from Technical Service.
Mounting
Before beginning installation:
- Check that the product purchased is of a suitable size for the chosen installation area.
- Remove the charcoal (*) filter/s if supplied (see also relative paragraph). This/these is/are to be mounted only if you want lo use the hood in the filtering version.
- Check (for transport reasons) that there is no other supplied material inside the hood (e.g. packets with screws (*), guarantees (*), etc.), eventually removing them and keeping them.
This hood is designed for fitting in a cabinet or on some other support.
Maintenance
Cleaning
Clean using ONLY a cloth dampened with neutral liquid detergent. DO NOT CLEAN WITH TOOLS OR INSTRUMENTS. Do not use abrasive products. DO NOT USE ALCOHOL!
Always wear work gloves for all maintenance operations.
Grease filter
Fig. 8-13



Traps cooking grease particles.
The grease filter must be cleaned once a month using non aggressive detergents, either by hand or in the dishwasher, which must be set to a low temperature and a short cycle. When washed in a dishwasher, the grease filter may discolor slightly, but this does not affect its filtering capacity.
To remove the grease filter, pull the spring release handle.
Charcoal filter (Optional)
Fig. 12
Buying charcoal filters
The Charcoal filter can be bought at Samsung Service Center. Please refer to the last page of manual.
Replacing lamps
Disconnect the appliance from the electricity.
Warning! Prior to touching the light bulbs ensure they are cooled down.
Extract the drawer completely.
Remove the suction gril to access the lamp area.
Remove the damaged light and replace it with a new one (see the table below):
| Lamp | Power (W) | Socket |
![]() | 3 | E14 |
| Voltage (V) | Dimension (mm) | |
| 220-240 | 35×102 (Diameterx Length) | |
| ILCOS D Code (according IEC 61231) | ||
| DRBB/C-3-220-240-E14-35/102 | ||
Put the grill back.
If the lights do not work, make sure that the lamps are fitted properly into their housings before you call for technical assistance.
Dismantling bulb at end of life: Please refer to the removal method above.
Operation

The hood is fitted with a control panel with aspiration speed selection control and a light switch to control cooking area lights.
- a. Light ON/OFF
Press the Light button and the lamps will turn on.
Press the Light button again and the lamps will turn off. - b. Motor ON/OFF
Press the POWER button and the hood will be activated at default speed.
Press again and the hood will be turned off. - c. Medium Speed
Press the button “2” and the hood will be activated at medium speed - d. High Speed
Press the button “3” and hood will be activated at high speed.
![]()
![]()
References
Samsung Argentina | Dispositivos Móviles | TV & Audio | Línea Hogar
Samsung Brasil | Smartphones & Tablets | TV & Áudio | Eletrodomésticos | Outros
Ayuda y soporte del producto | Samsung Chile
Ayuda y soporte del producto | Samsung Colombia
Product Help & Support | Samsung Caribbean
Ayuda y soporte del producto | Samsung Latinoamérica
Soporte y ayuda con tus productos Samsung | Samsung México
Ayuda y soporte del producto | Samsung Perú
Samsung Paraguay | Smartphones | TV, Audio y Video | Línea Hogar
Samsung Uruguay | Dispositivos Móviles | TV, Audio y Video | Hogar




















