Honeywell 2CCP Series 2CCPA1A1A2B Cable Pull Safety Switch

Multiple language versions of installation instructions and other documents are available on Honeywell’s website. To access:
- Go to http://sensing.honeywell.com/safetyswitches
- Select the product’s instructions from the installation instruction section.
WARNING
IMPROPER INSTALLATION
- Consult with local safety agencies and their requirements when designing a machine control link, interface, and all control elements that affect safety.
- Strictly adhere to all installation instructions.
Failure to comply with these instructions could result in death or serious injury.
WARNING
IMPROPER USE
Use the 2CCP Cable-Pull Safety Switch in emergency stop applications only. Do not use in general production stop applications.
Failure to comply with these instructions could result in death or serious injury.
WARNING
IMPROPER SYSTEM PERFORMANCE
- The 2CCP Cable-Pull Safety Switch provides only the front end switching/sensing function. The machine, its external machine interfaces, and the safety monitoring of the machine and its interfaces, are the responsibility of the machine safety control system.
- The user is SOLELY RESPONSIBLE for determining the appropriate level of risk.
- The 2CCP Cable-Pull Safety Switch must be installed in a fashion that complies with all codes and standards that are applicable to the particular application of the device. ANSI 12100 and ANSI B11.TR3 Risk Assessment and Risk Reduction provide assistance on how to perform risk assessment.
Failure to comply with these instructions could result in death or serious injury.
GENERAL INFORMATION
- The 2CCP is available in either single actuator or dual actuator versions. The maximum cable length in a single direction is 76 m [250 ft] for a combined length of 152 m [500 ft] in dual directions.
- The direct acting switch contacts are held closed when the actuating cable is under proper tension and the reset knob is set to RUN. When the actuating cable is pulled, slackened or broken, a cam positively opens the NC (Normally Closed) switch contacts. The snap action, trip operation causes the switch contacts to change state and mechanically latch almost simultaneously when the cable is pulled, slackened or broken. The NC switch contacts remain open until the 2CCP is reset by properly tensioning the cable and manually rotating the reset knob.
- When the direct acting switch contacts open, the auxiliary contacts also actuate (open contacts close and closed contacts open). The auxiliary contacts are electrically isolated from the direct acting switch contacts. These NO (Normally Open) contacts may be used for monitoring or signaling.
- Hardware packets are available separately (see Table 1 on page 5).
WARNING
IMPROPER OPERATION
Ensure no barriers or physical obstructions prevent the operator from actuating the 2CCP Cable-Pull Safety Switch.
Failure to comply with these instructions could result in death or serious injury.
STEP 1: MOUNT, WIRE, AND SEAL SWITCH
- Refer to pages 5 to 9 for:
- Specifications (Table 2)
- Mounting dimensions (Figure 7)
- Wiring configurations (Figures 8 and 9)
- 2CCP system components (Figure 10)
- Mount switch using four M6, 1/4-28 UNF, or 1/4-20 UNC screws or bolts through the four holes in the housing flange. Torque:
- M6 to 6,1 Nm to 7,5 Nm [54 in-lb to 66 in-lb]
- 1/4-28 UNF to 8,6 Nm to 10,4 Nm [76 in-lb to 92 in-lb]
- 1/4-20 UNC to 7,3 Nm to 9,0 Nm [65 in-lb to 79 in-lb]
- Remove the four screws on the housing cover and then remove the existing cover assembly (See Figures 1 & 2).
- Refer to the circuit diagram on the switch housing. The diagram depicts the switch contacts when the cable is at proper tension and the reset knob is in the RUN position.
- Proper tension spacer CPSZPTSPCR-10 (purchased separately, pack of 10, see accessory list) can be used to aid in system installation prior to cables being assembled. Although a unidirectional cable-pull switch would typically be used for installations where the switch is at the end
of a line, this spacer can also be affixed to one actuator so that the switch acts as a unidirectional unit instead of bidirectional. See Honeywell Installation Instructions sheet 32347390-001.
FIGURE 1. COVER SCREW REMOVAL
FIGURE 2. COVER REMOVAL
WARNING
Prior to wiring switch, ensure power is disconnected to the wires being connected.
WARNING
RISK OF ELECTRICAL SHOCK
Potential shock hazard where HAZARDOUS LIVE voltages greater than 30 V RMS, 42.4 Vpeak, or 60 Vdc may be accessible.
Failure to comply with these instructions could result in death or serious injury. - Wire the switch using wire selected in accordance with NFPA 79 (use 90 °C wire when the ambient temperature is over 75 °C):
- Connect 4,0 mm2 (12 AWG) or smaller stranded or solid wire to the terminals
- Torque switch terminal screws and ground screw to 1,0 Nm to 1,8 Nm [9 in-lb to 16 in-lb]
- OPTIONAL: Wire the LED indicator. Wrap the wire clockwise around the terminal screws. Ensure all wire strands are secured under the screw heads. Torque the terminal screws to 1,0 N m to 1,8 N m [9 in lb to 16 in lb]. For dc indicators, the positive lead wire is red and the negative lead wire is black. (There is no polarity requirement for ac indicators.)
- Seal the conduit opening according to the instructions in PK 80112 (included).
- PRODUCTS WITH OPTIONAL EMERGENCY STOP: See Figure 3 showing the inside of the cover and a rectangle area on the reset knob internal lever that needs to mate with the rectangle raised portion of the internal cam. Position the reset knob so that the pointer points to the OFF indication on the yellow label. (See Figure 4).
FIGURE 3. RESET KNOB/LEVER AND INTERNAL CAM
FIGURE 4. 2CCP WITH BLUE RESET KNOB IN OFF POSITION
- PRODUCTS WITH OPTIONAL EMERGENCY STOP: Position the cover on the switch housing so the reset knob/lever mates to the internal reset cam as described in Step H. Align the four cover screws to the mating holes in the switch housing. If there is a gap between the cover and switch housing during alignment as seen in Figure 5, then a slight rotation of the reset knob clockwise or counter- clockwise will be required to ensure proper alignment. Proper adjustment of the reset knob will be seen when the housing cover seal mates with the switch housing with little to no gap (See Figure 6).
- Torque the cover screws to 0,45 N m to 0,68 N m [4 in-lb to 6 in-lb] while holding the cover sub-assembly tight to the housing.
FIGURE 5. COVER GAP (INCORRECT)
FIGURE 6. COVER WITH LITTLE TO NO GAP
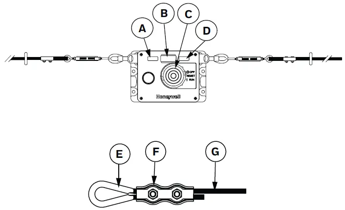
STEP 2: INSTALL J-HOOK TURNBUCKLE AND ACTUATING CABLE
- Ensure the following are available (ordered separately, see Table 1 on page 5):
- Red plastic-coated aircraft cable 3,18 mm [1/8 in] diameter to 4,76 mm [3/16 in] diameter in desired length. (See Step 4 for more information.)
- J-hook turnbuckle with locknuts
- Thimbles to fit all terminations
- Cable clamps to fit all terminations
- Attach the hook end of the J-hook turnbuckle to the actuator.
- Attach the eye end of the J-hook turnbuckle to the cable using one thimble and one cable clamp by fitting the cable in the thimble groove and placing the cable clamp as close to the thimble as possible.
- Tighten the cable clamp according to the manufacturer’s instructions. (The torque for the cable clamp in the separate accessory packet is 7,3 Nm to 9,0 Nm [65 in-lb to 79 in-lb].)
NOTICE
- If improved cable visibility is needed, install labels, markers, or flags to the cable or adjacent to the cable.
STEP 3: INSTALL CABLE SUPPORTS (EYEBOLTS)
WARNING
IMPROPER OPERATION
Do not allow excessive side loads to occur that could bend the switch actuator shaft so as to defeat the broken cable detection.
Failure to comply with these instructions could result in death or serious injury.
NOTICE
- The first cable support should be in line with, and no farther than, 0,46 m [18 in] from the end of the actuator shaft.
- When changing the actuating cable direction, i.e., around a corner, ensure the cable runs freely through a pulley or cable supports.
- Ensure there are cable supports to fit the cable available.
- Install a cable support as close to the end of the actuator shaft as possible without interfering with the switch operation.
- Install the cable supports at intervals of no greater than 2,4 m [8 ft] along the cable span. See Figure 10 on page 9.
- Thread the cable through the cable supports.
STEP 4: INSTALL CABLE TERMINATION
NOTICE
- With an ends ring installed, the switch will operate satisfactorily over a temperature change of ±17 °C
[±30 °F] up to a typical length of 76 m [250 ft]. Without an ends ring installed, the temperature change allowed is ±8 °C [±15 °F]. - In order to comply with EN ISO 13850, install a cable- pull switch at each end of the cable or an ends ring at the opposite end of the cable from the switch.
- RECOMMENDED: Install an ends ring:
- Ensure the following are available:
- Thimbles to fit all terminations
- Cable clamps to fit all terminations
- Endspring to fit all terminations
- Install an ends ring at the end of the cable opposite the switch in the same manner as Steps 2C and 2D
- Attach the ends ring to a fixed support
- Ensure the following are available:
- Secure the cable end to a fixed support:
- Ensure the following are available:
- Thimbles to fit all terminations
- Cable clamps to fit all terminations
- Fixed support to fit all terminations
- Attach the cable end to a fixed support in the same manner as Steps 2C and 2D.
- Ensure the following are available:
STEP 5: ADJUST CABLE TENSION
- Tighten the turnbuckle until the tension indicator is in the middle of the indicator window and aligned with the green band of the label.
- Tighten the turnbuckle locknuts.
- The cable tension may vary due to temperature or other conditions. Inspect the cable tension every six months and adjust if necessary.
STEP 6: VERIFY INSTALLATION BY PERFORMING FUNCTIONAL TESTS
WARNING
SWITCH DAMAGE
Do not attempt to reset the reset lever from OFF to RUN unless the switch is under proper tension.
Failure to comply with these instructions could result in death or serious injury.
- Ensure the cable actuates freely. Ensure the installation elements are not subject to mechanical damage due to positioning or location.
- Turn the reset lever to RUN.
- PULLED CABLE STATE: Pull the cable. Ensure the reset knob switches to OFF and the contacts change state. The failure mode of this functional verification is the failure of the contacts to change state on the pulling of the cable safety function.
- Turn the reset knob to RUN.
- SLACKENED CABLE STATE: Unhook the J-hook turnbuckle. Ensure the reset knob switches to OFF and the contacts change state. The failure mode of this functional verification is the failure of the contacts to change state on the slack cable safety function.
- Reattach the J-hook turnbuckle, ensure the cable is in the proper tension, and position the reset knob to RUN.
- E-STOP ACTUATION (Optional Feature): Depress e-stop button. Ensure the reset knob switches to OFF and the contacts change state. See page 7 for circuitry charts. The failure mode of this functional verification is the failure of the contacts to change state on the depressing of the e- stop button safety function.
NOTICE
- After actuation and before resetting the 2CCP, the machinery should be inspected along the entire length of actuating cable in order to determine the reason for actuation.
| TABLE 1. ACCESSORIES | |
| LISTING | ACCESSORY (AVAILABLE SEPARATELY) |
| CLSZC1 | 7,6 m (25 ft) cable |
| CLSZC2 | 15,2 m (50 ft) cable |
| CLSZC3 | 30,5 m (100 ft) cable |
| CLSZC4 | 45,7 m (150 ft) cable |
| CLSZC5 | 61,0 m (200 ft) cable |
| CLSZC7 | 76,2 m (250 ft) cable |
| CLSZTC |
|
| CPSZ1S | (1) Draw-bar ends ring |
| CPSZK1 |
|
| CPSZTB | (1) J-hook turnbuckle with lock nuts |
| 2CPZ-C1 | (1) 2CCP replacement cover assembly with E-stop button for product without the optional accessory switch |
| 2CPZ-C2 | (1) 2CCP replacement cover assembly with E-stop button and indicator for product with the optional accessory switch |
| 2CPZ-LED24 | Accessory LED PCBA, 24 Vdc |
| 2CPZ-LED120 | Accessory LED PCBA, 120 Vac |
| 2CPZ-LED240 | Accessory LED PCBA, 240 Vac |
| CPSZPTSPCR-10 | (10) Proper tension spacer |
| TABLE 2. SPECIFICATIONS | ||||
| DESIGNATION AND UTILIZATION CATEGORY | RATED OPERATIONAL CURRENT IE (A) AT RATED OPERATIONAL VOLTAGE (V) | |||
| 24 V | 120 V | 240 V | ||
| AC15 (Contact Rating) | A300 | – | 6 A | 3 A |
| DC13 (Contact Rating) | Q300 | 2.8 A | 0.55 A | 0.27 A |
| Rated thermal current (Ith) | 10 A |
| Rated impulse withstand (Uimp) | 2500 V |
| Rated insulation voltage (Ui) | 300 V |
| Usable gold-plated current (if applicable) | 1 mA to 50 mA, 60 Vdc max./125 Vac max. |
| Shock | 15 g |
| Conditional short-circuit current | 1000 A |
| Sealing | IP54; NEMA 1 |
| Pollution code | 3 |
| Operating temperature range | -40 °C to 85 °C [-40 °F to 185 °F] |
| Short-circuit protective device (type/maximum rating) | Class J fuse (10 A/600 V) |
| Vibration | 10 Hz to 500 Hz, 5 g |
| Mechanical life | 250,000 operations |
Complies with:
| |
| MCTF (Mechanical Life): >375,000 cycles with single-sided confidence limit of 100 % MCTF (Electrical Life): >50,000 cycles with single-sided confidence limit of 100 % Highest SIL Capability: SIL3 (HFT:1), IEC 61508-2 Proof Test Interval: 1 Year | |
FIGURE 7. MOUNTING DIMENSIONS

All drawings and dimensions shown are for reference only.
* The optional accessory switch is not intended and not evaluated as a safety component.
** The illuminated optional accessory switch is not intended for continuous or prolonged illumination.
- A = Left switch;
- B = Right switch;
- C = Slackened cable;
- D = Proper cable tension;
- E = Pulled cable;
- F = Cable tension 111 N [25 lb]
- G = Cable tension 133 N [30 lb];
- H = Cable tension 178 N [40 lb];
- n = contact closed; o = contact open; *Positive opening action contact according to IEC/EN 60947-5-1
NOTE: All circuitry and bar charts are shown in switch “RUN” mode.
FIGURE 10. 2CCP SYSTEM COMPONENTS


- 0,46 m [18 in] maximum
- 2,4 m [8 ft] maximum
- 76 m [250 ft] typical
- J-hook turnbuckle
- Thimble
- Cable clamp
- Cable support (eyebolt)
- Ends ring
FIGURE 11. 2CCP SWITCH COMPONENTS

- Tension indicator line is in center of indicator window – left cable is properly tensioned
- Optional indicator, 24 Vdc, 120 Vac, or 240 Vac
- Reset knob
- Tension indicator line is in center of in- dictator window – right cable is properly tensioned
- Thimble
- Cable clamp
- Cable
| TABLE 3. FUNCTIONAL SAFETY INFORMATION RESULTS OF IEC 61508 FUNCTIONAL SAFETY ASSESSMENT | |||
| Safety function: To open a normally closed switch contact when an actuating cable is pulled, the actuating cable is slackened or the E-Stop is depressed. | CABLE-PULL SAFETY SWITCH (2CCP SERIES) | ||
| 1oo1 | 1oo2 | ||
| Summary of IEC 61508-2 Clauses 7.4.2 and 7.4.4 | |||
| Architectural constraints & type of product A/B | HFT = 0, Type A | HFT = 1, Type A | |
| Safe failure fraction (SFF) | 70 % | 70 % | |
| Random hardware failures (h-1) | l DD | 0.00E+00 | 0.00E+00 |
| l DU | 3.06E-07 | 3.06E-07 | |
| Random hardware failures (h-1) | l SD | 0.00E+00 | 0.00E+00 |
| l SU | 7.17E-07 | 7.17E-07 | |
| Diagnostic coverage (DC) | 0 % | 0 % | |
| PFD @ PTI = 8760 hrs., MTTR = 8 hrs. | 1.34E-03 | 1.36E-04 | |
| Probability of dangerous failure (high demand – PFH) (h-1) | 3.06E-07 | 3.13E-08 | |
| Hardware safety integrity compliance | Route 1H | Route 1H | |
| Systematic safety integrity compliance | Route 1S see report R70216114B | Route 1S see report R70216114B | |
| Systematic capability (SC 1, SC 2, SC 3, SC 4) | SC 2 | SC 2 | |
| Hardware safety integrity achieved | SIL 2 | SIL 3 | |
If product is used as HFT = 1, then IEC 61508-2 clause 7.4.3 should be considered.
Proof Test Interval: 1 Year
Functional Safety Procedure performed per Step 6 at Proof Test Interval
WARRANTY/REMEDY
Honeywell warrants goods of its manu- facture as being free of defective materi- als and faulty workmanship during the applicable warranty period. Honeywell’s standard product warranty applies unless agreed to otherwise by Honeywell in writ- ing; please refer to your order acknowl- edgement or consult your local sales office for specific warranty details. If war- ranted goods are returned to Honeywell during the period of coverage, Honeywell will repair or replace, at its option, without charge those items that Honeywell,
in its sole discretion, finds defective. The foregoing is buyer’s sole remedy and is in lieu of all other warranties, expressed or implied, including those of merchantability and fitness for a particular purpose. In no event shall Honeywell be liable for consequential, special, or indirect damages.
While Honeywell may provide applica- tion assistance personally, through our literature and the Honeywell web site, it is buyer’s sole responsibility to determine the suitability of the product in the ap- plication.
Specifications may change without notice. The information we supply is believed to be accurate and reliable as of this writing. However, Honeywell assumes no responsibility for its use.
FOR MORE INFORMATION
Honeywell Advanced Sensing Technologies services its customers through a worldwide network of sales offices and distributors. For application assistance, current specifications, pricing, or the nearest Authorized Distributor,
visit sps.honeywell.com/ast or call:
- USA/Canada +302 613 4491
- Latin America +1 305 805 8188
- Europe +44 1344 238258
- Japan +81 (0) 3-6730-7152
- Singapore +65 6355 2828
- Greater China +86 4006396841
Honeywell Advanced Sensing Technologies
830 East Arapaho Road
Richardson, TX 75081
sps.honeywell.com/ast

FIGURE 2. COVER REMOVAL
WARNING
FIGURE 4. 2CCP WITH BLUE RESET KNOB IN OFF POSITION
FIGURE 6. COVER WITH LITTLE TO NO GAP



















