
CCT SELECTABLE BLINK
LED FLUSH FIXTURES
Models: 62-1700, 62-1701, 62-1702, 62-1703, 62-1704, 62-1705, 62-1706, 62-1707, 62-1710,
62-1711, 62-1712, 62-1713, 62-1714, 62-1715, 62-1716, 62-1717, 62-1718, 62-1719, 62-1720,
62-1721, 62-1722, 62-1723, 62-1724, 62-1725, 62-1726, 62-1727, 62-1728, 62-1729
INSTALLATION AND SAFETY INSTRUCTIONS
IMPORTANT: Read before installing fixture. Retain for future reference.
WARNING: Risk of Fire or Electric Shock
- Disconnect power before installation or maintenance of the fixture.
- To avoid damage, falling, electric shock, or fire, do not modify the fixture or replace accessories without confirming with the supplier first.
- Only authorized, qualified personnel should install this fixture and should follow the owner’s manual. Any improper installation might cause failure, electric shock, fire, or another injury, damage, or hazard.
- To prevent fire, this fixture is rated for use in 120VAC.
- 0–10V models are 120–277V. See 0–10V wiring diagram.
- The product is purposed for interior use only, suitable for wet locations• Suitable for use with dimmers. Visit www.Satco.com for a list of compatible dimmers.
- Protect the product against direct contact with water.
- For use in environments where an accumulation of non-conductive dust on the fixture may be expected.
- Clean with a soft or damp cloth, making sure the power is OFF.
- Assemble the product only with the use of parts provided and the housing; improper assembly may result in the device failing which could damage the product, personal property, or cause injury.
- CAUTION: When handling the fixture, do not apply pressure to the LEDs. Hold the fixture by the base only.
The circuit is intended for connection to an external Class 2 supply.
Any changes or modifications to this unit not expressly approved by the party responsible for compliance could void the user’s authority to operate the equipment.
NOTE: This equipment has been tested and found to comply with the limits for a Class B digital device, pursuant to part 15 of the FCC Rules. These limits are designed to provide reasonable protection against harmful interference in a residential installation. This equipment generates, uses, and can radiate radio frequency energy and, if not installed and used in accordance with the instructions, may cause harmful interference to radio communications. However, there is no guarantee that interference will not occur in a particular installation. If this equipment does cause harmful interference to radio or television reception, which can be determined by turning the equipment off and on, the user is encouraged to try to correct the interference by one or more of the following measures:
- Reorient or relocate the receiving antenna.
- Increase the separation between the equipment and receiver.
- Connect the equipment into an outlet on a circuit different from that to which the receiver is connected.
- Consult the dealer or an experienced radio/TV technician for help.
WARRANTY: This product is guaranteed a 5-year warranty. Any quality issue in normal use within the warranty period will be repaired or replaced according to the situation and under the condition, specifications can be provided. Visit www.Satco.com for full warranty details.
CCT Selectable
2700K/3000K/3500K/4000K/5000K
Wiring Diagrams
![]() | ![]() |
NOTE: 0-10V wiring for models: 62-1718, 62-1719, 62-1728, 62-1729 (120 –277V)
INSTALLATION – 4″ Junction Box
STEP 1: Turn OFF power prior to installation. Before installation, select your preferred CCT by moving the switch to either 2700K, 3000K, 3500K, 4000K, or 5000K.
STEP 2: Screw the mounting plate on the junction box.
STEP 3: Connect the wires with wiring caps. See wiring diagrams.

STEP 4: Align the clips with the mounting plate and push the fixture up into the junction box. Turn ON the power. Installation is complete.
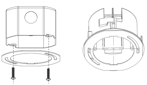
INSTALLATION – 3″ Pancake Junction Box
STEP 1: Turn OFF power prior to installation. Before installation, select your preferred CCT by moving the switch to either 2700K, 3000K, 3500K, 4000K, or 5000K.
STEP 2: Screw the installation accessory on a 3″ pancake junction box.

STEP 3: Connect the wires with wiring caps. See wiring diagrams.

STEP 4: Align the clips with the mounting plate and push the fixture up into the junction box. Turn ON the power. Installation is complete.
INSTALLATION – 4″ Pancake Junction Box
STEP 1: Screw the installation accessory on a 4″ pancake junction box. Complete installation by following STEPS 3 & 4 from 3” pancake diagrams (above)

Satco Products, Inc.
Brentwood, NY 11717



















