SATCO 63-500 LED Under Cabinet Fixture

WARNING
Risk of Fire or Electric Shock
- LED Under Cabinet Fixture installation requires knowledge of luminaries’ electrical systems. If not qualified, do not attempt installation. Contact a qualified electrician.
- To reduce risk of fire and overheating, secure all connections.
- TURN OFF the electrical power before proceeding.
- The electrical rating of this product is 120V/60Hz.
- To prevent wiring damage or abrasion, do not expose wiring to edges of sheet metal or other sharp objects.
- Do not make or alter any open holes in an enclosure of wiring or electrical components during installation.
- Not rated for damp or wet locations.
- This product must be installed in accordance with the owner’s manual, current electrical codes, and/or the current National Electric Code (NEC).
WARRANTY
This product is guaranteed for a 5-year warranty. Any quality issue in normal use within the warranty period will be repaired or replaced according to the situation, and under the condition, specifications can be provided. Visit www.Satco.com for full warranty details and dimmer compatibility information.
Dimensions
- 63-500 8″L x 3 1/2″W (203mm x 90mm)
- 63-501 11″L x 3 1/2″W (280mm x 90mm)
- 63-502 14″L x 3 1/2″W (355mm x 90mm)
- 63-503 22″L x 3 1/2″W (559mm x 90mm)
- 63-504 28″L x 3 1/2″W (711mm x 90mm)
- 63-505 34”L x 3 1/2”W (864mm x 90mm)
WIRING DIAGRAM
INSTALLATION
Mounting – Direct
- STEP 1: Open the two mounting screw covers located on the front edge of the fixture (A).
- STEP 2: Place the fixture in the desired position and mount it with included screws (B).
- STEP 3: Close the mounting screw cover.

Mounting – Keyhole
- STEP 1: Place the fixture in the desired location and mark the locations of the keyholes through the wiring area (C).
- STEP 2: Install (2) screws into the marked locations.
- STEP 3: Mount the fixture through 2 keyholes on the back of the device. Tighten screws if required (D).

WIRING
Option 1 – Power Cord
- STEP 1: Mount the fixture.
- STEP 2: Remove the electrical port cover on the INPUT side. STEP 3: Connect the power cable (not included) to the female port on the fixture.
- STEP 4: Plug the power cable into a 120 Volt outlet.
- STEP 5: Bundle the excess power cord with zip ties or twist ties.

Option 2 – Hardwire to a Junction Box
(sold separately)
- STEP 1: Disconnect power from the breaker or fuse box.
- STEP 2: Remove the electrical port cover from the INPUT end.
- STEP 3: Use the provided end-to-end connector to link the junction box to the INPUT side of the fixture.
- STEP 4: Connect the OUTPUT end of the end-to-end connector to the junction box.
- STEP 5: Open the junction box and remove the most convenient of the three knockouts.
- STEP 6: Mount the junction box and the fixture to the cabinet. STEP 7: Attach the 3/8″ die-cast connector to the junction box and pull the wiring through it.
- STEP 8: Connect wiring using the above wiring diagram.
- STEP 9: Close the junction box.
Option 3 – Hardwire Direct to Fixture
- STEP 1: Disconnect power from the breaker or fuse box.
- STEP 2: Remove the most convenient of 3 knockouts and attach the provided 3/8″ die-cast connector.
- STEP 3: Mount the fixture.
Wiring using FRONT COVER, follow steps 4 – 7 below - STEP 4: Open the front panel of the fixture to access the wiring by using a flat tool to pry open the compartment (A).

- STEP 5: Insert the wiring from the power source through the connector and connect them to the corresponding wiring inside the fixture (B). BLACK = Hot, WHITE = Neutral, GREEN = Ground.

- STEP 6: Ensure excess wires are settled inside the fixture.
- STEP 7: Close the front cover.
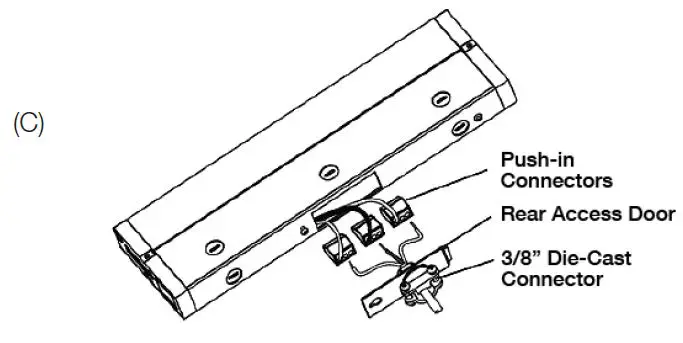
Wiring using REAR ACCESS, follow steps 4 – 7 below
(only for 63-503 & 63-504) - STEP 4: Remove the rear access panel (C) by loosening the rear screw.

- STEP 5: Insert the wiring from the power source through the connector and connect them to the corresponding wiring inside the fixture (B). BLACK = Hot, WHITE = Neutral,
- GREEN = Ground.
- STEP 6: Ensure excess wires are settled inside the fixture.
- STEP 7: Close the rear access panel.
CONNECTING MULTIPLE FIXTURES
Cable (sold separately)
End-to-End Connector (provided)
- STEP 1: Remove the electrical port covers on the facing ends.
- STEP 2: Connect the cable to the OUTPUT of the first fixture and the INPUT of the next fixture.

| Model # | Cable Connector/Length |
| 63-511 | End-to-End |
| 63-515 | 6 inches |
| 63-516 | 12 inches |
| 63-517 | 24 inches |
| 63-518 | Male to Female Extender |
NOTE: Maximum number of connected fixtures is 24 units.
OPERATION
Upon completing the mounting and wiring of this fixture, power can be restored. This fixture includes a Color Selection feature and HI/LOW/OFF Dimming. These fixtures can also be wired directly to an in-wall dimmer or switch.
For compatibility information, visit www.Satco.com.
© Copyright 2022 Satco Products, Inc. 10/22.
























