Sliderone & Sliderone Pro Users Manual
Before operating your edelkrone,
please watch the user’s manual video from the link below

1. WHAT’S IN THE BOX & THE BASICS

- 3/8”-16 Mounting screw
- Built-in LP-E6 battery bracket*
- Shutter trigger port
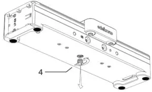
- 3/8”-16 Mounting port
- LANC port
- Reducer bushing/adapter **
- Allen keys
The battery bracket is located in different places in SliderONE v2 & SliderONE PRO v2.
**Reducer busing (6) is attached to the 3/8”-16 mounting port (4)
2. MOUNTING SLIDERONE ON A TRIPOD



You can use your SliderONE on a tripod or flat surface.
- Place the SliderONE on your tripod and rotate until it is tight.
- SliderONE has 3/8”-16 screw on top for your tripod head. Place your tripod head or your edelkrone FlexTILT Head on SliderONE and rotate until it is tight.
- Attach your camera to your tripod head. Now, you are ready to slide.
- Reducer busing is attached to the 3/8”-16 mounting port. If your tripod has
3/8”-16 mounting screw, you need to dettach the 3/8”-16 reducer bushing by
turning it counter clockwise.
A detailed video explaining the mounting process can be found at:
http://edel.kr/so
3. USING WITH FLEXTILT HEAD

The FlexTILT Head is recommended as a tripod head solution for the SliderONE.
With the FlexTILT Head 2, you can easily:
- Adjust the center of gravity,
- Pan/tilt, and
- Change the height of the camera.
A detailed video explaining how to use the FlexTILT Head with SliderONE
can be found at: http://edel.kr/so
4. ADJUSTMENTS

There are adjustment screws on the SliderONE. If you think there is a play
on the carriage (1), use the indicated screws for adjustment. To do that, push
from the sides of the carriage (2) and thighten the screws.
A detailed video explaining how to adjust your SliderONE details can be
found at: http://edel.kr/so
5. START USING
- Download the edelkrone App to your mobile device from the App Store or
Google Play. Links can be found at www.edelkrone.com/products/sliderone-v2.

- There are no on/off buttons on SliderONE. To turn on, attach the battery to the SliderONE.
- SliderONE will start the calibration and detect the limits of the slider.
- Edelkrone App will automatically pair with your SliderONE.
- You are now ready to use your SliderONE!
CAUTION
- Always start using with a fully charged battery.
- Make sure your mobile device’s Bluetooth connection is on.
- Battery is not included.
A detailed video explaining the application usage details can be found at:
http://edel.kr/so
DISPOSAL OF THE PRODUCT & WARNINGS
Should the product become damaged beyond repair, or if you wish to dispose of it, it must be disposed separately from the municipal waste stream via designated collection facilities appointed by the government or the local authorities. Observe the regulations of your area and country that relate to the disposal of electronic products.
- Keep your electronic Motion Control Unit away from all sorts of liquids.
- Do not attempt to disassemble or modify any internal parts of your Motion Control Unit. If the device appears to be malfunctioning, discontinue use immediately and contact support for qualified service.
- Never force a different type of connector into a port.
- Never use or store your Motion Control Unit in areas subject to extreme temperatures, or high levels of vibration.
- Environmental factors may affect your Motion Control Unit’s performance. Keep your product away from environmental hazards such as dust or heavy resonance. Do not use chemical materials to clean your product.
- Avoid dropping or causing physical damage to your Motion Control Unit.
- Do not place heavy objects on top of your Motion Control Unit.
- edelkrone cannot be held responsible for damage caused by improper use or
modification of the product.
For more information and tips about your SliderONE, please watch the user’s
manual videos at: http://edel.kr/so
Read More About This User Manuals…
Sliderone-Sliderone-Pro-Manual-Optimized.pdf
Sliderone-Sliderone-Pro-Manual-Orginal.pdf
Questions about your Manual? Post in the comments!
















