Vienna Crystal 48inch Chandelier
Assembly and Installation Instructions
CAUTION:
- BEFORE INSTALLING FIXTURE, MAKE SURE THE POWER TO THE CIRCUIT IS TURNED OFF AT THE MAIN FUSE BOX / CIRCUIT BREAKER UTILITY BOX.
- THIS LUMINAIRE MUST BE MOUNTED OR SUPPORTED INDEPENDENTLY OF AN OUTLET BOX.
Important Safety Instructions:
- These instructions are provided for your safety. It is very important that they are read carefully and completely before beginning the assembly and installation of this lighting fixture.
- We strongly recommend that a professional electrician install all direct wire fixtures.
- THIS PRODUCT MUST BE INSTALLED IN ACCORDANCE WITH THE APPLICABLE INSTALLATION CODES BY A PERSON FAMILIAR WITH THE CONSTRUCTION AND OPERATION OF THE PRODUCT AND THE HAZARDS INVOLVED.
- The weight of this lighting fixture exceeds 50 pounds and must be installed using an outlet box approved for up to 100 pounds of lighting fixture load.
- The lighting fixture is meant for indoor use. It must be connected only to 3-wire, single-phase electrical supply systems (provided with Ground wire or equivalent protection system).
- For your safety, it is strongly recommended that two people install the lighting fixture.
- This fixture has been rated for up to five (5) 40-Watt maximum TYPE B (candelabra standard incandesce) light bulbs (not included) or five (5) 9-Watt compact fluorescent light bulbs (not included) or five (5) 4.5-Watt SBLED light bulbs (not included) .To avoid the risk of fire, do not exceed the recommended lamp wattage.
- The lighting fixture is meant for indoor use, DRY LOCATIONS ONLY.
- Save these instructions.
WARNING:
- To reduce the risk of fire, electrical shock or personal injury, always turn off light fixture and allow it to cool prior to replacing light bulb.
- Do not touch bulb when fixture is turned on. Do not look directly at lit bulb.
- Keep flammable materials away from lit bulb.
- This lighting fixture contains lead, a chemical known to the State of California to cause cancer, birth defects and other reproductive harm. Wash hands after installing, handling, cleaning or otherwise touching this light fixture.
Pre-assembly:
- Remove all parts and hardware from box along with any plastic protective packaging.
- Do not discard any contents until after assembly is complete to avoid accidentally discarding small parts or hardware.
- For your safety and convenience, assembly by two people is recommended.
TOOLS REQUIRED (not included):
Parts Included:
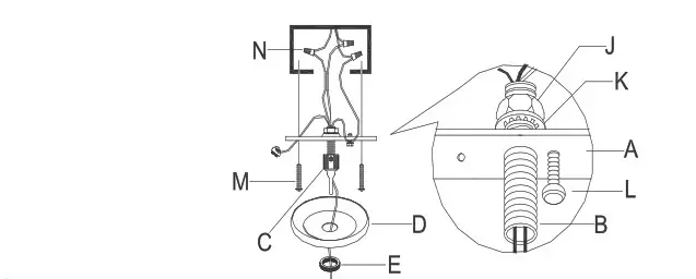
(A) Mounting Plate (1)
(B) Threaded Tube (1)
(C) Mounting Loop (1)
(D) Canopy (1)
(E) Canopy Nut (1)
(F) Chain (1)
(G) Small Closable Links with Screws Caps(2)
(H) Fixture Loop (1)
(I) Sockets (5)
(J) Hex Nut (1)
(K) Lock Washer (1)
(O) 170m Glass Rods (128) +10 Extra
(P) 285m Glass Rods (122) +10 Extra
(Q) 386m Glass Rods (100) +10 Extra
(R) Fixture Body (1)
Hardware Enclosed:
(L) Green Ground Screw (1)
(M) Mounting Screws (2)
(N) Plastic Wire Nut Connectors (3)


To adjust the suspension length of the fixture:
- Note: The adjustment or shortening of the lighting fixture’s suspension length is only needed if the factory set length is not appropriate foIf the parts are not already preassembled or if suspension length adjustments were not made, please use the instruction section above “To Adjust the Suspension Length of the Fixture” for the proper assembly of the Tubes (G&H) to the desired suspension lengthr your installation. We recommend that you adjust the lighting fixture to the proper desired length before cutting the electrical cord. Determine the lighting fixture suspension length from the ceiling for the product installation, allowing the extra cord length for the outlet junction box wire connections as noted below.
- (See A1,A2) There are two hanging lengths for this light fixture as below:
a. Unscrew the closable links of Chain (F) by loosen Closable Links with Screw Caps (G),attach one of closable link of Chain (F) to Mounting Loop (C) and one of closable link of Chain (F) to Fixture Loop (H) and secure with Closable Links with Screw Caps (G) (See A1).
b. Remove the Chain (F) away, attach Closable Links with Screw Caps (G) to Fixture Loop (H) and Mounting Loop (C) (See A2). For future use purpose, so not discard the Chain away.
- (See A3) If needed, cut off the extra power cord length on the 2 wire cord and bare ground wire so that they all are at least 6 inches (152.4 mm) long within the outlet junction box (J-box).

Assembly & Installation Instructions:
- SHUT OFF THE MAIN ELECTRICAL SUPPLY FROM THE MAIN FUSE BOX/CIRCUIT BREAKER.
- Carefully unpack all fixture parts and hardware and lay them on a clear workspace.

- Attach the Closable Links with Screw Caps (G) onto the Fixture Loop (H) and bottom loop of Chain (F).
- Slide the Canopy Nut (E) over the Chain (F).
- Slide the Canopy (D) over the Chain (F).
- Attach the remaining Closable Links with Screw Caps (G) onto the Mounting Loop (C) and top loop of Chain (F).
Please read the section” To Make the Wire Connections” Below.
Attach the Mounting Plate (A) onto the junction box using two Mounting Screws (M), tighten each screw with a screwdriver.
Slide the Canopy (D) onto ceiling and secure by turning the Canopy Nut (E) onto the Mounting Loop (C) until secure.
Insert the Glass Rods (Q)(P)(O) into the corresponding holes. Make sure the sides with dimension are facing downwards.
Insert the specified light bulbs into the Sockets (I).
To Make the Wire Connections:
- Gently pull existing wire down from the ceiling junction box and allow wires to hang. The HOT or LIVE wire is usually black. The NEUTRAL wire is usually white. Check to see if there is a ground wire that is usually green or green with a yellow stripe or exposed copper metal wire. If needed, use a pair of wire strippers to remove about 1/2 inch of insulation from each wire.
- Carefully inspect the fixtures wires. The NEUTRAL FIXTURE WIRE has FINE LONGITUDINAL RIDGES running along its length. The HOT FIXTURE WIRE is SMOOTH and the BARE COPPER WIRE is the GROUND WIRE. If you have any doubt and cannot identify the power-supply wires with confidence, then we recommend that you ask an electrician and that you not continue with the installation.
- With the help of another person to hold the weight of the fixture, attach the fixture wires to the junction box wires as shown in the illustrations.
Connect the GROUND FIXTURE WIRE to the GROUND J-BOX WIRE using the Plastic Wire Nut Connector (N) and wrap the connection with electrical tape. Be sure that no wire strands are exposed.
If the junction box DOES NOT have a GROUND WIRE, wrap the fixture’s bare ground wire around the Green Ground Screw (L) and insert the screw into the Mounting Plate (A), marked as “GND”, and tighten screw to secure the wire.
Connect the NEUTRAL FIXTURE WIRE to the NEUTRAL J-BOX WIRE first and then connect the HOT FIXTURE WIRE to the HOT J-BOX WIRE using the Plastic Wire Nut Connectors (N). Wrap these connections with electrical tape. Be sure that no wire strands are exposed.
NOTE: IT IS IMPERATIVE THAT THE JUNCTION BOX IN YOUR HOME BE PROPERLY GROUNDED! DO NOT REVERSE THE HOT AND NEUTRAL CONNECTIONS OR SAFETY WILL BE COMPROMISED. - Check the wiring connections and if all looks good, gently tuck the wire connections neatly into the ceiling junction box.
Care instructions:
- Wipe clean with a soft, dry cloth or static duster.
- Always avoid the use of harsh chemicals or abrasive cleaners as they may cause damage to the fixture’s finish.
Thank you for your purchase Stores catalog www.williams-sonoma.com
USA 1.877.812.6235



Please read the section” To Make the Wire Connections” Below.
Attach the Mounting Plate (A) onto the junction box using two Mounting Screws (M), tighten each screw with a screwdriver.
Slide the Canopy (D) onto ceiling and secure by turning the Canopy Nut (E) onto the Mounting Loop (C) until secure.
Insert the Glass Rods (Q)(P)(O) into the corresponding holes. Make sure the sides with dimension are facing downwards.
Insert the specified light bulbs into the Sockets (I).
Connect the GROUND FIXTURE WIRE to the GROUND J-BOX WIRE using the Plastic Wire Nut Connector (N) and wrap the connection with electrical tape. Be sure that no wire strands are exposed.













