sinop TH1500ZB Smart Double Pole Thermostat
Warnings
The installation of this thermostat must be performed by a certified electrician and comply with the national and local electrical codes and regulations.
Before starting the installation of your new thermostat. make sure that the breakers for your heating system are off at the main electrical panel!
INSTALL YOUR THERMOSTAT
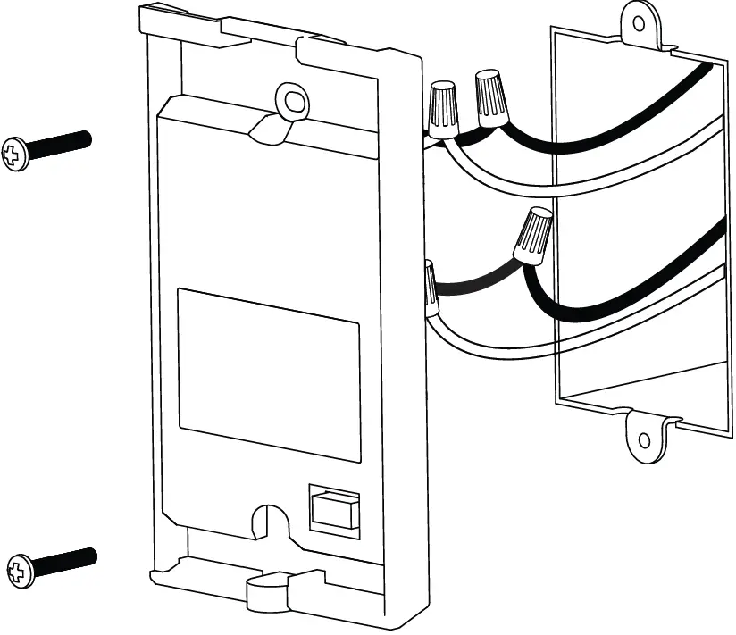
- Unlock and lift the thermostat cover.

- Use the provided connectors to connect the load/line wires located on the back of the thermostat.
- Make sure to firmly tighten the wire connectors for a secure connection. A loose connection can be a fire hazard.

- Make sure to firmly tighten the wire connectors for a secure connection. A loose connection can be a fire hazard.
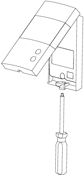
- Use the screws to secure the thermostat to the electrical box.

- Replace the cover and lock.

- Power up the thermostat.

USER SETTINGS
All the parameters of your thermostat can be programmed through Neviweb or the interface of your compatible Zigbee gateway. However, if your thermostat is not connected to you gateway and you wish to change the temperature format, you need to:
- Get the setpoint to its minimum and hold the button for 10 seconds to access the menu.
- Press the or button to change the setting,
- Press the buttons simultaneously to save and go to the next and parameter. Continue to press until the end of the list to exit the menu.
ADD YOUR THERMOSTAT TO THE GT130 GATEWAY AND NEVIWEB
- If you do not have an account yet, download the Neviweb app for iOS or Android to create an account and add your device.

- Tap the , then select “Add Device”.}

- Follow the steps of the Installation Wizard.
CONNECT YOUR THERMOSTAT TO THE GT130 GATEWAY OR A COMPATIBLE ZIGBEE SYSTEM
- Initiate the connectivity session by pressing the RF signal button on the GT130 gateway. The indicator light will start flashing. Compatible Zigbee gateway: refer to the installation guide for the latter.

- Connect your thermostat to the network by pressing briefly and simultaneously on the and buttons.
On the thermostat display:
Blinks: Connecting
Remains lit: Connected
If the connectivity fails, the symbol will disappear from the display. Refer to our Website to troubleshoot the unit.
- Connect all your thermostats the same way, by going to the next closest thermostat

- When all your devices are connected, close the connectivity session of your GT130 gateway or your compatible Zigbee gateway.

DISCONNECT YOUR THERMOSTAT FROM THE GT130 GATEWAY OR A COMPATIBLE ZIGBEE SYSTEM
To disconnect your thermostat from the GT130 gateway or a compatible Zigbee gateway, press the and buttons simultaneously during 10 seconds. The symbol will disappear from the display.
SETTINGS WHICH CAN BE MODIFIED ON THE DEVICE DIRECTLY
| Name | Parameters & settings | Display | |
| 1 | Load | Load power | ![]() |
| 2 | Temp | Temperature format °C or °F (Default: °C) | ![]() |
| 3 | Min | Minimum setpoint 5 °C to 36 °C (Default: 5 °C) | ![]() |
| 4 | Max | Maximum setpoint | ![]() |
Load power
Reading of the load power connected to the thermostat, featured in watts.
TECHNICAL SPECIFICATIONS
Operating voltage: 120/208/240/277Vac, 50/60 Hz Maximum load:
- 1800 W @ 120 V / 15 A
- 3120 W @ 208 V / 15 A
- 3600 W @ 240 V / 15 A
- 4155 W @ 277 V / 15 A
Setpoint range: 5 °C to 36 °C (41 °F to 97 °F) Display range: 0 °C to 50 °C (32 °F to 99 °F) Resolution: ± 0.5 °C (± 1 °F)
Storage: -20 °C to 50 °C (-4 °F to 122 °F) Operation: 0 °C to 50 °C (32 °F to 122 °F) Protocol: Zigbee 3.0
Frequency: 2.4 GHz
Transmission power: +20 dBm
Receiver sensitivity: -108 dBm
Transmitter Module IC : 22394-ZBM1501 / FCC ID:2AK2T-ZBM1501
This device complies with Industry Canada license exempt RSS standard(s). Operation is subject to the following two conditions:
- this device does not cause interference, and
- this device must accept any interference, including interference that may cause undesired operation of the device.
This equipment has been tested and found to comply with the limits for a Class B digital device, pursuant to part 15 of the FCC Rules. These limits are designed to provide reasonable protection against harmful interference in a residential installation. This equipment generates, uses and can radiate radio frequency energy, and if not installed and used in accordance with the instructions, may cause harmful interference to radio communications. However, there is no guarantee that interference will not occur in a particular installation. If this equipment does cause harmful interference to radio or television reception, which can be determined by turning the equipment OFF and ON, the user is encouraged to try to correct the interference by one or more of the following measures:
Reorient or relocate the receiving antenna. Increase the separation between the equipment and receiver. Connect the equipment into an outlet on a circuit different from that to which the receiver is connected. Consult the dealer or an experienced radio/TV technician for help.
3-year limited warranty
SINOPÉ TECHNOLOGIES INC. warrants the components of their products against defects in material and workmanship for a 3 year period from the date of purchase,
under normal use and service, when proof of purchase of such is provided to the manufacturer. This warranty does not cover any transportation costs that may be incurred by the consumer. Nor does it cover a product subjected to misuse or accidental damage. The obligation of SINOPÉ TECHNOLOGIES INC., under the terms of this warranty, will be to supply a new unit and this releases the manufacturer from paying the installation costs or other secondary charges linked to replacing the unit or the components.



































