equip 650811 ERGO Electric Sit-Stand Desk Frame
Checklist and Installation
Please check all of the components shown in the component checklist. If any of the components are missing or damaged, contact your point of purchase for a replacement.

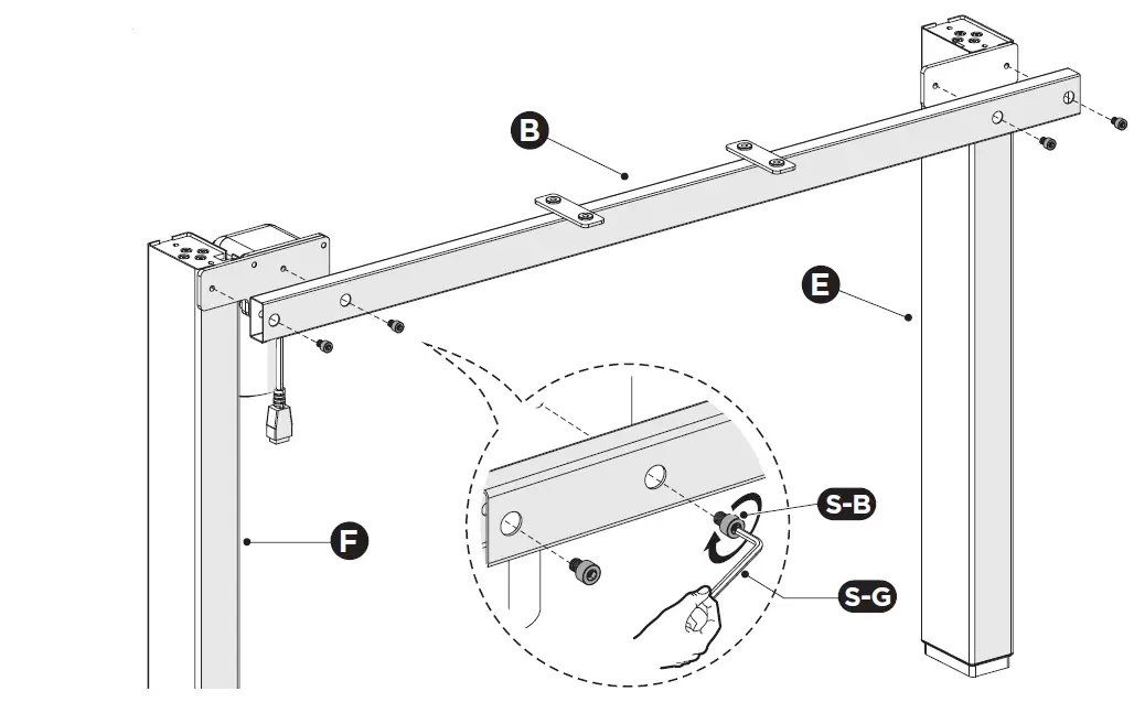
- Attaching the Crossbar
Attach the Crossbar B to the Lifting Columns F and E using 4 M6x8 S-B Screws as shown in the illustration.
- Attaching the Side Brackets
- Attach each Side Bracket D to the Lifting Column using 2 M6x12 Screws S-A .
- Repeat the same process to attach the other side bracket

- Attaching the Feet
- Turn over the desk frame with the help of another person.
- Place the Lifting Column the E/F upside down on floor.
- Attaching the Foot H to the Lifting Column using . 4 M6x30 Screws S-C
- Repeat the same process to attach the other foot.
CAUTION: At least two people are required when turning over the desk, or serious bodily injuries might occur.
- Assembling the Desktop
- Carefully place the dissassembled Desktop A upside down on the floor as shown.
- • Assemble the desktop with 4 Wooden Dowel Pins J and 3 Connecting Plates C using 18 ST4.2×13 Screws S-D
Note: Please make sure the desktop keep facing down while installation.

- Attaching the Sync Rod
- Place the assembled desk frame to the backside of the desktop.
- Align the screw holes on the desktop with mounting holes found on the crossbar and side brackets.

- Turn the knob as shown in the illustration to loosen and adjust the Sync Rod G
- Insert both ends of Sync Rod into holes found on the desk frame as shown in the illustration.
- Re-tighten the knob.

- Attaching the Desk Frame to the Desktop
- Attaching the assembled desk frame to the desktop through the mounting holes found on the Side Brackets and Crossbar as shown in the illustration using
8 ST4.8×16 Screws S-E
- Attaching the assembled desk frame to the desktop through the mounting holes found on the Side Brackets and Crossbar as shown in the illustration using
- Attaching the AC Adapter
- Attach the AC Adapter I to the desktop using 2 ST4.8×16 Screws S-E.
Attach the Controller L to the desktop with 2 ST4.2×13 Screws S-D
- Attach the AC Adapter I to the desktop using 2 ST4.8×16 Screws S-E.
- Inserting Cords into the AC Adapter
- Insert Motor Cord F into the port marked M1 on the side of the AC Adapter
- Insert the Controller L into the port marked HS.
- Insert the Power Cord K into the port marked AC.
Note: Don’t connect the plug to the socket before the desk is fully assembled.
- Cable Management
Run the cables through the Cable Clips S-F and attach the cable clips to the desktop with 3 ST4.2×13 Screws S-D to ensure clean and neat surface.
- Adjusting the Desk
- Turn over the desk with the help of another person.
- There are two adjustable foot pads under each foot. If the floor isn’t even, simply turn the pad to adjust the level to make the desk stable.
Tip: Use a bubble level (not included) to check if the desktop is even. - Connect the desk to power. Long press the up and down buttons to adjust the height.
CAUTION: At least two people are required when turning over the desk, otherwise serious bodily injuries might occur.
Instructions of Safety and Warnings
- Any failure to comply with the safety and installation instructions in this manual may cause serious bodily injury.
- Overlooking any part of the instructions, warnings and additional information marked with the “Note” and ” may result in serious damage to the system or its components.
- Children should never be allowed to operate or touch the product without direct supervision of an adult. Users should prevent children from being near or around the desk during operation.
- Disabilities and/or lack of experience and knowledge should be prevented from using the product unless under supervision or assisted during use and operation.
- Never sit on or exceed the rated weight of the desk.
Electrical Safety Instructions:
The product is powered by electricity. In order to avoid burns, fire and electric shock, please read the instructions carefully.
- Don’t clean the product with water while the power is still connected.
- Don’t disassemble or replace components while the power is still connected.
- Never operate the system with a damaged cord or plug. Please contact your point of purchase to replace the damaged parts.
- Never operate the system if it’s in moist environment or its electrical components have contact with liquids.
- Don’t operate the system if the control box makes noise or odor. Alterations of the given power unit and control box aren’t allowed.
Other Safety Instructions:
- Remove any obstacles from the area around the desk during assembly and subsequent use.
- Organize all cords and wires to prevent any possible tripping or accidents from occurring.
- Never attempt to modify or change the desk frame or components that operate the desk.
- Don’t add anything to the adjustable junctions of the desk frame.
- The desk is rated for Indoor Use Only.
Disposal
The product with this mark indicates that this product shouldn’t be disposed with other household wastes throughout the EU. To prevent possible harm to the environment or human health from uncontrolled waste disposal, recycle it responsibly to promote the sustainable reuse of material resources. To return your used device, please use the local recycle service or contact your point of purchase to withdrawn the product.




























