VCC 5400 Series Panel Mount LED Indicator User Manual
Applications
- Industrial
- Transportation and Infrastructures
- Food Services and Industries
- People Movers
- Electro medical devices and systems
- Appliance
Key Features
- Simple and fast installation]
- Low profile, damage-resistant le
- Discharge protection
- 8 mm panel mounting LED Indicator
- 5 mm colored polycarbonate lens
- Unique design in a two piece unit
- Wide-angle viewing
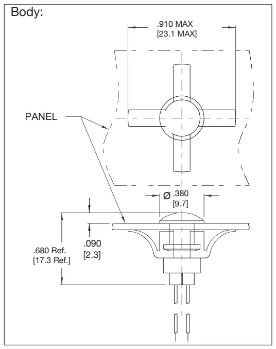
Installation Instructions
The panel mount LED indicator light consists of one lens and one body in lead wires terminations. The fast installation is provided by inserting the lens into mounting hole in the front display panel and snapping the housing assembly onto the lens from the rear.
Allows pre-wiring into the circuit and testing before installation
Product Specifications
| Material | |
| Housing | Natural Nylon |
| Lens | Polycarbonate |
| Wire Leads | 24 AWG PVC (105oC) 4.4/4.8” long, stripped .430/.570” |
| Installation and Operating Specifications | |
| Mounting Hole | .312/.317” (7.9/8.1mm) |
| Panel Thickness | .062 to .125” (1.6 to 3.2 mm) |
| Operating Temperature | -25 oC/+85 oC -13 oF/+185 |
| Anode (+) | Red Lead |
Product Dimensions


All dimensions in inches [mm]
Ordering Data
Electro-optical Characteristics
| Part Number | Color | Typ. Intensity (mcd) | Rated Current (mA) | Continuous ForwardCurrent Max. (mA) | Forward Voltage Typ. (V) | Forward Voltage Max. (V) | Current @ 1ms- Peak Forward 300pps (A) | Reverse Break-downVoltage Min. (V) | Include Lens Model No. |
| 5400A1 | Red | 120 | 20 | 35 | 2.0 | 3.0 | 1.0 | 5 | 4741 |
| 5400A3 | Amber | 120 | 20 | 35 | 2.0 | 3.0 | 1.0 | 5 | 4743 |
| 5400A5 | Green | 120 | 20 | 20 | 2.1 | 2.5 | – | 4 | 4745 |
| 5400A7 | Yellow | 120 | 20 | 35 | 2.1 | 3.0 | 1.0 | 5 | 4747 |
Compliance & approvals

Costumer Support
engineered to light up your design
www.vcclite.com
1.800.522.5546
















