
User Manual
Magnetic Rowing Machine
Thank you for purchasing the ECHANFIT CRW4106/4106B Magnetic Rowing Machine. Please read this user manual carefully and keep it for future reference. If you need any assistance, please contact our support team with your product model number and Amazon order number.
Package Contents
⚫ Magnetic Rowing Machine CRW4106/4106B
⚫ User Manual
⚫ Toolkits
Product Diagram

IMPORTANT! Please retain the user’s manual for maintenance and adjustment instructions. Your satisfaction is very important to us, please do not return until you have contacted us.
IMPORTANT SAFETY INFORMATION
Thank you for choosing ECHANFIT magnetic rowing machine CRW4106/4106B.
Warning: To ensure your safety and health, please use this rowing machine correctly. It is important to read this entire manual before assembling and using the rowing machine. safe and effective use can only be achieved if the rowing machine is assembled, maintained, and used properly. It is your responsibility to ensure that all users of the rowing machine are informed of all warnings and precautions.
- Before starting the exercise, you should consult with your doctor to determine if your health and physical condition are adequate for using this product together. Because the bad condition of the body can bring hidden trouble to your health and safety or hinder you to use this rowing machine correctly.
- If you are taking medication that affects your heart rate or blood pressure, your doctor’s advice is extremely important.
- Always pay attention to the adverse reactions of the body. Improper and excessive use can damage your body. If you notice any of the following symptoms, stop exercising immediately: Chest pain and chest tightness, abnormal heartbeat, shortness of breath, lightheadedness, dizzy or nauseous. If any of these symptoms occur during exercise, be sure to consult your doctor before continuing exercise.
- Keep children and pets away from rowing machines. This rowing machine is only suitable for adults!
- Please place the rowing machine on a firm, flat horizontal surface with soft materials to protect your ground and carpets. Keep at least 0.6m of open space around the rowing machine!
- Please make sure all screws and nuts are locked before using the rowing machine.
- Use the rowing machine correctly according to the rowing machine label. When parts are found to be defective during assembly or inspection of the appliance, or when you hear abnormal sound from the device, please stop using it immediately. Never continue to use the rowing machine until the problem is solved.
- Please wear suitable clothing when you exercise. Avoid loose clothing during exercise, such clothes are easy to hang on or limit movement.
- This rowing machine is only for indoor use, max user weight of 264LB.
- Please be careful not to sprain your back when moving or uplift this rowing machine.
- This rowing machine is not suitable for medical rehabilitation.
- Please properly keep the instruction manual and assembly tools for emergency use.
EXPLODED DIAGRAM

PARTS LIST
| No. | Description | Qty | No. | Description | Qty |
| 1 | Main frame | 1 | 35 | Flat washer 5 | 2 |
| 2 | Rear foot tube frame | 1 | 36 | Flat washer 8 | 23 |
| 3 | Slide tube frame | 1 | 37 | Flat washer 10 | 1 |
| 4 | Foot pedal tube assembly | 1 | 38 | Left protective cover | 1 |
| 5 | Computer bracket | 1 | 39 | Right protective cover | 1 |
| 6 | Tension tube | 1 | 40 | Decorative cover | 2 |
| 7 | Seat cushion limiting plate | 2 | 41 | Armrest fixi-ig pad | 1 |
| 8 | Seat cushion mounting plate | 2 | 42 | Foot pedal | 2 |
| 9 | Front foot tube | 1 | 43 | Belt PJ660260J | 1 |
| 10 | Magnetic wheel | 1 | 44 | Ribbon pulley 045’35 | 1 |
| 11 | Deep groove ball bearing 608-2RS | 4 | 45 | Foam L=210mm | 2 |
| 12 | Deep groove ball bearing 6000-2RS | 2 | 46 | Foot pedal adjusting belt | 2 |
| 13 | Pull rod | 4 | 47 | resistance knob (assembly) | 1 |
| 14 | Pull rod limiting plate | 4 | 48 | Pullback device | 1 |
| 15 | Men wrench | 1 | 49 | Seat cushion wheel | 2 |
| 16 | Wrench with screw driver | 1 | 50 | Seat cushion | 1 |
| 17 | Lock nut M8 | 5 | 51 | Left front cover | 1 |
| 18 | Lock nut M10 | 1 | 52 | Eccentric foot cover | 2 |
| 19 | Nut MB | 4 | 53 | Circular tube plug | 2 |
| 20 | Nut M10’1.0 | 4 | 54 | Limit sleeve | 1 |
| 21 | Nut M10’1.0 | 4 | 55 | Cushion pad | 4 |
| 22 | Bolt M8’125 | 3 | 56 | Non-slip mat | 1 |
| 23 | Isolation nylon pad 023’010.5’2 | 2 | 57 | Computer back cover | 1 |
| 24 | Bolt M8’65 | 4 | 58 | Computer up cover | 1 |
| 25 | Bolt M10’55 | 1 | 59 | Dry battery | 2 |
| 26 | Bolt M8’20 | 11 | 60 | Bottom wire L=500m | 2 |
| 27 | Bolt M8’40 | 2 | 61 | Induction bar clamp | 1 |
| 28 | Screw ST4.2’12 | 8 | 62 | Roller spacing | 4 |
| 29 | Suew ST4.2’9.5 | 1 | 63 | Right front cover | 1 |
| 30 | Bolt M5’10 | 3 | 64 | Seat cushion wheel | 2 |
| 31 | Bolt ST42’13 | 8 | 65 | Bolt M6’50 | 2 |
| 32 | Screw ST4.2’9 | 12 | 66 | Nut M6 | 2 |
| 33 | Bolt M6’8 | 4 | 67 | Screw ST4.2’19 | 2 |
| 34 | Spring washer 8 | 15 | 68 | Anti-slipped pad A | 2 |
HARDWARE PACKAGE

SPARE PARTS LIST
| No. | Description | Spec. | Qty. | No. | Description | Spec. | Qty. |
| 1 | Mainframe | 1 | 58 | Computer | 1 | ||
| 2 | Rearfoot tube frame | 1 | 24 | Bolt | M8’65 | 4 | |
| 3 | Slide tube frame | 1 | 26 | Bolt | M8’20 | 7 | |
| 4 | Foot pedal tube assembly | 1 | 36 | Flat washer | 8 | 13 | |
| 5 | Computer bracket | 1 | 28 | Screw | ST4.2’12 | 2 | |
| 9 | Front foot tube | 1 | 34 | Spring washer | 8 | 11 | |
| 42 | Foot pedal | 2 | 50 | Seat cushion | 1 | ||
| 15 | Allen wrench | S=5 | 1 | 55 | Cushion pad | 025’18 | 2 |
| 16 | Wrench with screwdriver | S13, 14. 15 | 1 | 59 | Dry battery | 2 | |
| 17 | Locknut | M8 | 2 | 27 | Bolt | M8’40 | 2 |
| 31 | Screw | ST4.2’13 | 2 |
Install Tool:
#15 Allen Wrench S=5 1PC
#16 Wrench with screw driver S13、14、15 1PC
INSTALL INSTRUCTIONS
STEP 1: 
Use the Allen wrench (15) lock the Front foot tube frame (9) onto the Mainframe (1) with Bolt (24), Washer (36), Spring washer (34).
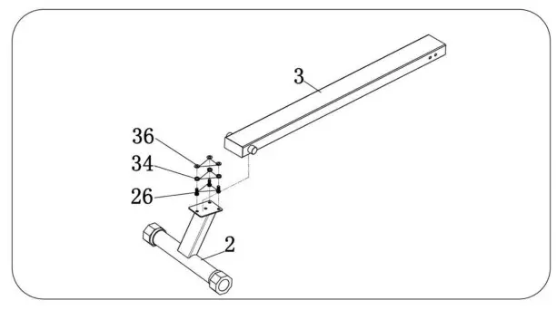
STEP 2:

Use the Bolt (26), Flat washer (36), and Spring washer (34) to lock the Rear foot tube frame (2) on the Slide tube frame (3).
STEP 3:

Install the Seat cushion (50) into the Slide tube frame (3).
STEP 4:

1. Use Bolt (26), Spring washers (34), and Flat washers (36) to lock the Slide tube frame (3) on the Mainframe (1).
2. Screw the Cushion pad (55) into the Mainframe (1).
STEP 5:

Lock the Foot pedal (42) to the Foot pedal tube assembly (4) with Bolt (23), Flat washer (36) and Locknut (17).
STEP 6:

Use Bolt (27), Spring washer (34), and Flat washer (36) to lock the Foot pedal tube assembly (4) to the Mainframe (1).
STEP 7:

Insert the Sensor cable A and B into the Computer bracket (5), and then lock the screw (31) into the Computer (58).
STEP 8:

1. Take out the Computer up cover (58), and then put the Dry battery (59) into the Computer up cover (58) as shown in C in the figure;
2. Connect the Sensor cable as shown in figure A and B, to connect the Sensor cable A with A and B with B;
3. Insert the Computer bracket (5) into the Mainframe (1) and fix it with the Screw (28).
PEDAL ADJUSTMENT
According to the size of feet, the pedal strap is adjustable. The specific tightness adjustment method is shown in the left figure. A direction is tense, B direction is loose.
MOVING THE MACHINE

Frame Movement:
The front foot tube frame have a transport wheel in the front, lift up the rear foot tube frame, you can move the frame to the position you want.
RESISTANCE AND FRAME BALANCE ADJUSTMENT

Resistance Adjustment:
Adjust the resistance knob (47) clockwise to increase the resistance and counterclockwise to reduce the resistance.
Frame Horizontal Regulation:
If the ground is uneven, the rear foot cover (52) can be adjusted according to the arrow direction A or B in the figure to make the frame level.
DISPLAY MANUAL
Button Function:
MODE: press this button to select the function.
—-Keep pressing this button for 3 seconds to clear all data, included time, times, calories burned, total count, distance and scan (all of the above).
Functional Operation:
1. SCAN: press the MODE button into scan state, the computer will automatically scatime, times, calories, the total number of times, and every scan interval is 6 seconds.
2. TIME: show the time from the computer start to the end.
3. COUNT (Times Count ): show the number of times from the computer start to the end.4. CALORIE: show the total calories from the computer start to the end.
5. TOTAL COUNT (Total Number of Times): count all times after installing the battery.
If there is any movement signal, the computer display will close automatically aft4 minutes and will wake up when there is a movement signal or any button is operated.
6. REPS/MIN (Average Speed): show the average number of movements per minute.
Scope Description:
| Function | Scanning interval | Every 6 seconds |
| Time (minutes) | 0:00 —99:59 | |
| Times count | 0 —9999 times | |
| Calories | 0:0 –999.9 CAL | |
| Total number of times | 0– 9999 times | |
| Battery | 2 piece of battery | |
| Working temperature | 0 40 degree | |
| Storage temperature | -0 +60 degree degree | |
STORAGE AND MAINTENANCE
- Keep the rowing machine in a clean and dry place.
- Grasp the frame to move the rowing machine. Do not use the seat to move it. The seat
will move and it may hurt your hand and fingers. - Remove the battery before storing the machine for a long time.
- Clean the Seat Rail with an absorbent cloth.
- Always make sure all the nuts and bolts are properly tightened.
- Regular inspection is required. Replace any worn or damaged parts immediately.
Warranty and Customer Support
For questions, support, or warranty claims, contact us at the address below that corresponds with your region. Please include your Amazon order number and product
model number.
Amazon US Orders: [email protected]
Please note, ECHANFIT can only provide after-sales service for products purchased directly from ECHANFIT. If you have purchased from a different seller, please contact them directly for service or warranty issues.
Model: CRW4106/4106B
XIAMEN CAMELON TECHNOLOGY CO., LTD.
https://www.amazon.com/echanfit | [email protected]


















