V I V O MOUNT-VW120M Full Motion Extra Large TV Wall Mount Instruction Manual

Scan the QR code with your mobile device or follow the link for helpful videos and specifications related to this product.
https://vivo-us.com/products/mount-vw120m
GET IN TOUCH | Monday-Friday from 7:00am-7:00pm CST
[email protected]
www.vivo-us.com
Chat live with an agent!
309-278-5303
WARNING
If you do not understand these directions, or if you have any doubts about the safety of the installation, please call a qualified technician. Check carefully to make sure there are no missing or defective parts. Improper installation may cause damage or serious injury. Do not use this product for any purpose that is not explicitly specified in this manual.
Do not exceed weight capacity. We cannot be liable for damage or injury caused by improper mounting, incorrect assembly or inappropriate use.
CAUTION
DO NOT INSTALL INTO DRYWALL ALONE. VERIFY YOUR WALL CONSTRUCTION. USE WOOD STUDS TO MOUNT. We include mounting for brick and concrete If unsure, please contact us at vivo us.com, email at [email protected], or call us at 309-278-5303.
WARNING: CHOKING HAZARD
SMALL PARTS – NOT FOR CHILDREN UNDER 3 YEARS. ADULT SUPERVISION IS REQUIRED.
PACKAGE CONTENTS
A (x1) Mount
B (x1) Left VESA Bracket
C (x1) Right VESA Bracket
D (x4) Velcro Strap
E (x1) Mounting Template
S-A (x2) M4x8mm Thumbscrew
M-A (x4) M6x14mm Screw
M-B(x4) M8x16mm Screw
M-C (x4) M6x30mm Screw
M-D (x4) M8x35mm Screw
M-E (x4) M8 Washer
M-F (x4) Small Spacer
M-G (x4) Large Spacer
W-A (x6) ST8x90mm Screw
W-B (x6) Concrete Anchor
W-C (x6) Large M8 Washer
T-A (x1) Bubble Level
T-B (x1) Wrench
TOOLS NEEDED
Drill
Phillips Screwdriver
Pencil
Stud Finder
13mm Socket Wrench
DO NOT EXCEED WEIGHT CAPACITY.
Failure to do so may result in serious injury.
ASSEMBLY STEPS
STEP 1
Stud Mounting:
Find desired mounting location using a stud finder. Hold or tape Mounting Template (E) up to the desired mounting location using Bubble Level (T-A) ensuring the Template is level. Mark mounting locations that align with a stud using a pencil. Drill 3.5” (90mm) deep pilot holes on marked locations using a 0.25” (6mm) drill bit. Install Mount (A) to wall using ST8x90mm Screws (W-A), Large M8 Washers (W-C), and a 13mm Socket Wrench.

Concrete/Brick:
Find desired mounting location and hold or tape Mounting Template (E) on the wall using Bubble Level (T-A) ensuring the template is level. Mark mounting locations so that 4 screws are used on the upper section of the mounting plate and 2 for the lower. Drill 3.7” (95mm) deep pilot holes on marked locations using a 0.50” (12mm) drill bit. Install Mount (A) to wall using Concrete Anchors (W-B), ST8x90mm Screws (W-A), Large M8 Washers (W-C), and a 13mm Socket Wrench.
Note:
Using 2 people is highly recommend for installing the mount onto the wall.
STEP 2
VESA Patterns Greater Than 200mm in Width:
Place Left & Right VESA Brackets (B,C) onto the back of TV, so that the Locking Arms (B1, C1) are closest to the center of the display. Secure using appropriate screws (M-A thru M-D), M8 Washers (M-E), and a Phillips Screwdriver. If needed, use Spacers (M-F, M-G).
VESA Patterns 200mm Wide:
Place Left & Right VESA Brackets (B,C) onto the back of TV, so that the locking arms are closest to the edge of the display. Secure using appropriate screws (M-A thru M-D), M8 Washers (M-E), and a Phillips Screwdriver. If needed, use Spacers (M-F, M-G).
STEP 3
Ensure Locking Arms (B1, C1) are in the open position, facing downward, and place the TV with VESA brackets onto Mount (A) with assistance.
Move Locking Arms (B1, C1) on VESA Brackets to locking position, pointing upward, and secure with M4x8mm Thumb Screws (S-A).
STEP 4
Route cables through Cable Cover (A1) on underside of Mount (A) and secure with Velcro Straps (D).

STEP 5
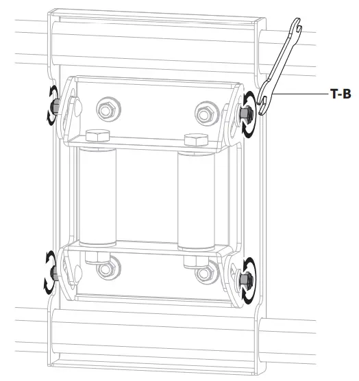
To ensure the TV is level, use Wrench (T-B) to slightly loosen the screws on the back of the mount head.
This will allow the TV to rotate. Use Bubble Level (T-A) to check that the TV is level and then re-tighten screws using Wrench (T-B).
STEP 6
Loosen screws on side of the mount head with Wrench (T-B) to adjust the tilt.


Love your new VIVO setup and want to share?
Tag us in your photo! @vivo_us
Open Monday – Friday 7:00am – 7:00pm CST,
our dedicated support team can offer immediate assistance with rapid response times. If any parts are received damaged or defective, please contact us. We are happy to replace parts to ensure you have a fully functioning product.
309-278-5303
AVG. RESOLUTION TIME (within office hrs): 5M 4S
www.vivo-us.com
Chat live with an agent!
AVG. RESOLUTION TIME (within office hrs): < 15 M
[email protected]
AVG. RESPONSE TIME (within office hrs): 1HR 8M
- 23% within < 15m
- 38% within < 30m
- 61% within < 1hr
- 83% within < 2hr
- 92% within < 3hr
FOR MORE VIVO PRODUCTS, CHECK OUT OUR WEBSITE AT: www.vivo-us.com

References
Register a .US.COM domain today!
VIVO - Desks, Monitor Mounting, and More Home & Office Solutions – VIVO - desk solutions, screen mounting, and more
VIVO - Desks, Monitor Mounting, and More Home & Office Solutions – VIVO - desk solutions, screen mounting, and more
Full Motion Extra Large TV Wall Mount – VIVO - desk solutions, screen mounting, and more
















