TEXA4200 trailer Hitches Turnoverball Extend-A-Goose Coupler
Instruction Manual
TEXA4200 trailer Hitches Turnoverball Extend-A-Goose Coupler
<THESE INSTRUCTIONS MUST BE GIVEN TO THE END USER>
B&W Trailer Hitches 1216 Hawaii Rd / PO Box 186
Humboldt, KS 66748 P:800.248.6564 F:620.869.9031
Call or Email us for Installation Support
[email protected]
bwtrailerhitches.com
Gooseneck Coupler Installation Instructions
MODEL TEXA4200
Extend-A-GooseTM
See Limited Lifetime Warranty at turnoverball.com/warranty

WARNING
Failure to comply with the safety information in these instructions could result in serious injury or death.
Read all installation and operating instructions along with all labels before using this product.
Without the proper knowledge, towing can be a dangerous activity. Understand all the risks involved with towing before proceeding. For information on towing safety, see “The Trailer Handbook: A guide to Understanding Trailer and Towing Safety” from the National Association of Trailer Manufacturers, www.NATM.com.
Do not modify this product in any manner. Doing so could alter its integrity and lead to a loss of attachment between the trailer and the tow vehicle.
This product is only to be used as a trailer extender.
Do not exceed the tow or tongue rating of the coupler, the tow or tongue rating of the hitch, or the tow or weight ratings of the truck or trailer. See vehicle and trailer manufacturer information for ratings. Exceeding these ratings may cause damage to towing components or loss of attachment between the trailer and truck.
A visual inspection of the hitch should be performed before each time you tow. Regularly check that all pinned connections are secure and that all bolted connections are at the correct torque specification. Check for cracks or damage to the coupler. Do not tow with the hitch if cracks or damage outside of normal wear is found. Towing with a coupler that has cracks or damage could result in damage to the tow vehicle, trailer, towing components, and loss of attachment between the tow vehicle and trailer.
INSTALLING THE COUPLER
WARNING: The installation of the Extend-A-Goose coupler requires two people. One person will need to hold the coupler in place while the other secures it to the trailer. Failure to support the coupler properly during installation may result in minor injury or may cause damage to the coupler.
1. Check compatibility.
Measure your towing equipment to ensure that it is compatible. The ball must be an SAE 2-5/16″ ball having a 2.283 to 2.313-inch diameter. The trailer tongue must be equipped with a conventional 4″ inside diameter round sleeve. At a minimum, the sleeve must have at least one set bolt with a jam nut and a through the pin, or two set bolts with jam nuts. It is recommended, if possible, that a through pin be used to ensure that the coupler tube cannot rotate. Drill a 7/8″ through a hole in the coupler sleeve if necessary. The coupler must be mounted so that it is aligned with the centerline of the trailer, see Figure A1.
WARNING: Failure to use the proper towing equipment may result in serious injury or death.
The Extend-A-Goose is designed to align with the trailer on trailer sleeves through the hole at a 75° or 90° angle with the centerline of the trailer.
Figure A1: Trailer sleeve hole orientation.
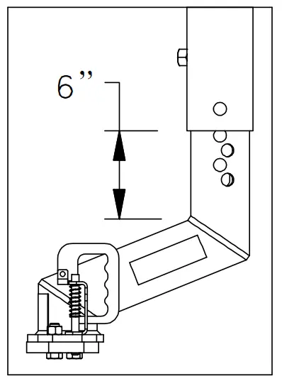
2. Mark the coupler. With the trailer jacks adjusted so the trailer is in its optimum towing position, determine the distance between the bottom of the trailer sleeve and where the bottom of the coupler will be when coupled to the ball. See figure A5. Mark this position on the coupler.
WARNING: Installing the Extend−A−Goose with more than 6of the coupler tube exposed past the end of the coupler sleeve could result in serious injury, or death, See Figure A2.
Figure A2: Extend−A−Goose coupler
3. Secure the coupler. With the handle toward the driver’s side of the truck, insert the Extend−A−Goose coupler tube into the trailer sleeve to the position determined in step 2. Lower the coupler to align the trailer sleeve hole (if so equipped) with the nearest coupler tube through a pinhole, and secure by installing the safety through pin and cotter. Torque the trailer sleeve set bolts to 125 ft. lbs.
WARNING: Failure to torque set bolts, and/or failure to install cotter on safety through the pin, could result in serious injury or death.
WARNING: The centerline of the Extend−A−Goose coupler must be installed in line with the direction of travel. Failure to install the coupler properly could result in serious injury or death.
Figure A3: Top view of the coupler.
WARNING: B&W recommends that you check the clearance between the truck cab and the trailer. Compare the measurement taken from the center of the 2−5/16″ ball to the cab, to the measurement taken from the center of the coupler to the farthest forward corner point of the trailer. These measurements will allow you to see how much clearance you will have between the cab and the trailer while towing and turning.
WARNING: B&W also recommends that you check the clearance between the bedside and the underside of the front of the trailer to allow adequate clearance for the pitch and roll of the trailer while towing.
WARNING: Do not reverse the coupler so that the trailer sleeve is forward of the ball, see Figure A6. When installed correctly the ball coupler must be closer to the truck cab than the coupler sleeve. Towing with the coupler reversed can lead to property damage, serious injury, and death.
Figure A6: Coupler orientation warning.
COUPLING TO A TRAILER
WARNING: Always use safety chains. Failure to use safety chains could result in serious injury or death.
WARNING: Inspect all towing components before towing, including hitch, coupler, trailer, and safety chain system for structural damage. Towing with damaged equipment could result in serious injury or death.
1. Set coupler position. Set the coupler to the “open” position. To do this, (1) grip the handle and pull straight up about 1″, (2) rotate the handle clockwise until it stops, then release. (3) Rotate the coupler bottom plate counter−clockwise until it stops. See figure B1.
WARNING: Attempting to couple with the coupler in the closed position will prevent the coupler from accepting the ball. If the coupling is attempted, the ball may appear to be coupled when it is not and could result in serious injury or death.
2. Position the truck. Maneuver the truck so that the 2−5/16″ gooseneck ball is under the Extend−A−Goose. The center of the ball must be within 1−1/2″ of the center of the base of the coupler.
WARNING: Keep at least 6″ around the coupler free from obstructions and loose objects during towing. Failure to do so could result in a loss of attachment between the truck and the trailer, serious injury or death.
4. Lower the trailer. Slowly lower the trailer onto the ball. When the ball is fully engaged in the coupler, set the coupler to the “closed” position. (1) To do this grip the handle and rotate it counterclockwise. (2) Rotate the coupler bottom plate clockwise until the latch pin is through the coupler bottom plate and the handle is flat against the bottom of the handle guide. See figure B2.
WARNING: Ensure the ball is fully in the coupler cavity and the handle of the coupler is in the “closed” position before towing. Failure to do so could result in a loss of attachment between the truck and the trailer, serious injury or death.
5. NOTE: If desired, it is possible to lock the Extend−A−Goose for added security. With the coupler handle in the “closed” position, use a padlock in the area noted in Figure B2. 
UNCOUPLING FROM A TRAILER
- Unlock the coupler. If necessary remove any padlocks that may be attached to the coupler handle.
- Set the coupler position. Set the coupler to the “open” position. To do this, (1) grip the handle and pull straight up about 1″, (2) rotate the handle clockwise until it stops, then release. (3) Rotate the coupler bottom plate counter−clockwise until it stops. See figure B1.
WARNING: Attempting to uncouple with the coupler in the closed position will prevent the coupler from releasing the ball. If uncoupling is attempted the trailer jacks may begin to “lift” the truck. This could result in significant property damage. - Raise the trailer. Slowly raise the coupler off of the ball.
WARNING: Use caution when jacking the trailer up and raising the coupler off of the ball. The trailer and truck may shift abruptly when they become disconnected, this may cause physical injury.
CARE AND MAINTENANCE
Keep the coupler clean, store it out of the weather, and avoid corrosive environments to maintain peak performance.
Keep your coupler operating freely by occasionally applying lubricant to the coupler and latch assembly.
The Extend−A−Goose should not require extensive maintenance. If a problem with the coupler persists, contact B&W Trailer Hitches for support.
Copyright 2015, B&W Custom Truck Beds, Inc. ALL RIGHTS RESERVED
TEXA4200 (pn 4200−020) 08 23 2021


















