
NETWORK CAMERA
User Manual
QNP-6320R
QNP-6250R
QNP-6250R Hanwha Techwin – Security Global Leader
Copyright
©2021 Hanwha Techwin Co., Ltd. All rights reserved.
Trademark
Each of the trademarks herein is registered. The name of this product and other trademarks mentioned in this manual are the registered trademarks of their respective company.
Restriction
The copyright of this document is reserved. Under no circumstances, this document shall be reproduced, distributed, or changed, partially or wholly, without formal authorization.
Disclaimer
Hanwha Techwin makes its best to verify the integrity and correctness of the contents in this document, but no formal guarantee shall be provided. Use of this document and the subsequent results shall be entirely on the user’s own responsibility. Hanwha Techwin reserves the right to change the contents of this document without prior notice.
※ Design and specifications are subject to change without prior notice.
※ The initial administrator ID is “admin” and the password should be set when logging in for the first time.
Please change your password every three months to safely protect personal information and to prevent damage from information theft.
Please, take note that it’s a user’s responsibility for the security and any other problems caused by mismanaging a password.
Overview
IMPORTANT SAFETY INSTRUCTIONS
- Read these instructions.
- Keep these instructions.
- Heed all warnings.
- Follow all instructions.
- Do not use this apparatus near water.
- Clean the contaminated area on the product surface with a soft, dry cloth or a damp cloth. (Do not use a detergent or cosmetic products that contain alcohol, solvents or surfactants, or oil constituents as they may deform or cause damage to the product.)
- Do not block any ventilation openings, Install in accordance with the manufacturer’s instructions.
- Do not install near any heat sources such as radiators, heat registers, stoves, or other apparatus (including amplifiers) that produce heat.
- Do not defeat the safety purpose of the polarized or grounding-type plug. A polarized plug has two blades one wider than the other. A grounding type plug has two blades and a third grounding prong. The wide blade or the third prong is provided for your safety. If the provided plug does not fit into your outlet, consult an electrician for the replacement of the obsolete outlet.
- Protect the power cord from being walked on or pinched particularly at plugs, convenience receptacles, and the point where they exit from the apparatus.
- Only use attachments/ accessories specified by the manufacturer.
- Use only with the cart, stand, tripod, bracket, or table specified by the manufacturer, or sold with the apparatus. When a cart is used, use caution when moving the cart/ apparatus combination to avoid injury from tip-over.
- Unplug this apparatus during lightning storms or when unused for long periods of time.

- Refer all servicing to qualified service personnel. Servicing is required when the apparatus has been damaged in any way, such as power-supply cord or plug is damaged, liquid has been spilled or objects have fallen into the apparatus, the apparatus has been exposed to rain or moisture, does not operate normally, or has been dropped.
- This product is intended to be supplied by a Listed Power Supply Unit marked “Class 2” or “LPS” and rated from PoE(53 Vdc), 0.48 A.
- This product is intended to be supplied by isolation power.
- If you use excessive force when installing the product, the camera may be damaged and malfunction.
If you forcibly install the product using non-compliant tools, the product may be damaged. - Do not install the product in a place where chemical substances or oil mist exist or may be generated. As edible oils such as soybean oil may damage or warp the product, do not install the product in the kitchen or near the kitchen table.
This may cause damage to the product. - When installing the product, be careful not to allow the surface of the product to be stained with chemical substances.
Some chemical solvents such as cleaners or adhesives may cause serious damage to the product’s surface. - If you install/disassemble the product in a manner that has not been recommended, the production functions/performance may not be guaranteed.
Install the product by referring to “Installation & connection” in the user manual. - Installing or using the product in water can cause serious damage to the product.
- If your product works normally, the degree of preset precision is 0.1˚. In the case of a reboot due to an outage, firmware upgrade, etc., its tolerance might have to be adjusted after checking for any changes in the Preset setup.
WARNING
TO REDUCE THE RISK OF FIRE OR ELECTRIC SHOCK, DO NOT EXPOSE THIS PRODUCT
TO RAIN OR MOISTURE. DO NOT INSERT ANY METALLIC OBJECT THROUGH THE VENTILATION GRILLS OR OTHER OPENINGS ON THE EQUIPMENT.
Apparatus shall not be exposed to dripping or splashing and no objects filled with liquids, such as vases, shall be placed on the apparatus.
To prevent injury, this apparatus must be securely attached to the Wall/ceiling in accordance with the installation instructions.
Pan/Tilt/Zoom motors and slip rings are warranted for one year under continuous operation.
CAUTION
| CAUTION: TO REDUCE THE RISK OF ELECTRIC SHOCK. DO NOT REMOVE THE COVER (OR BACK). NO USER-SERVICEABLE PARTS INSIDE. REFER SERVICING TO QUALIFIED SERVICE PERSONNEL. |
EXPLANATION OF GRAPHICAL SYMBOLS
The lightning flash with the arrowhead symbol, within an equilateral triangle, is intended to alert the user to the presence of “dangerous voltage” within the product’s enclosure that may be of sufficient magnitude to constitute a risk of electric shock to persons.
The exclamation point within an equilateral triangle is intended to alert the user to the presence of important operating and maintenance (servicing) instructions in the literature accompanying the product.
Class construction
An apparatus with CLASS construction shall be connected to a MAINS socket outlet with a protective earthing connection.
Battery
Batteries(battery pack or batteries installed) shall not be exposed to excessive heat such as sunshine, fire or the like.
The battery cannot be replaced.
Disconnection Device
Disconnect the main plug from the apparatus, if it’s defective. And please call a repair man in your location.
When used outside of the U.S., it may be used HAR code with fittings of an approved agency employed.
CAUTION
RISK OF EXPLOSION IF BATTERY IS REPLACED BY AN INCORRECT TYPE. DISPOSE OF USED BATTERIES ACCORDING TO THE INSTRUCTIONS.
ATTENTION
IL Y A RISQUE D’EXPLOSION SI LA BATTERIE EST REMPLACÉE PAR UNE BATTERIE DE TYPE INCORRECT.
METTRE AU REBUT LES BATTERIES USAGÉES CONFORMÉMENT AUX INSTRUCTIONS.
CAUTION
These servicing instructions are for use by qualified service personnel only.
To reduce the risk of electric shock do not perform any servicing other than that contained in the operating instructions unless you are qualified to do so.
Please use the input power with just one camera and other devices must not be connected.
The ITE is to be connected only to PoE networks without routing to the outside plant.
The wired LAN hub providing power over the Ethernet (PoE) in accordance with IEEE 802.3at shall be a UL Listed device with the output evaluated as a Limited Power Source as defined in UL60950-1 or PS2 as defined in UL62368-1.
Unit is intended for installation in a Network Environment 0 as defined in IEC TR 62102.
As such, associated Ethernet wiring shall be limited to inside the building.
Please read the following recommended safety precautions carefully.
- Do not place this apparatus on an uneven surface.
- Do not install on a surface where it is exposed to direct sunlight, near heating equipment or heavy cold area.
- Do not place this apparatus near conductive material.
- Do not attempt to service this apparatus yourself.
- Do not place a glass of water on the product.
- Do not install near any magnetic sources.
- Do not block any ventilation openings.
- Do not place heavy items on the product.
- Please wear protective gloves when installing/removing the camera.
The high temperature of the product surface may cause a burn.
User’s Manual is a guidebook for how to use the products.
The meaning of the symbols is shown below.
- Reference: In case of providing information for helping of product’s usages
- Notice: If there’s any possibility to occur any damages to the goods and humans caused by not following the instruction
※ Please read this manual for safety before using goods and keep it in a safe place.
We do not guarantee the quality of third-party products (e.g. lenses, accessories) that you separately purchase.
In particular installation environments, there might be interference in radio communications.
When the interference of electromagnetic waves occurs between the product and radio communication device, it is recommended to keep a certain distance between the two or
change the direction of the receiving antenna.
RECOMMENDED PC SPECIFICATIONS
- CPU : Intel(R) Core(TM) i7 3.4 GHz or higher
- RAM: 8G or higher
- Supported OS: MS Windows 8.1, 10, Mac OS X 10.13
- Recommended browser: Google Chrome
- Supported browsers: MS Explore11, MS Edge, Mozilla Firefox (Window 64bit only), Apple Safari (Mac OSX only)
- VGA: PCIe 256MB GDDR3 video graphics card or higher
※ Some functions may be restricted even in supported browsers.
RECOMMENDED MICRO SD/SDHC/SDXC MEMORY CARD SPECIFICATIONS
- Recommended capacity : 16GB to 256GB (MLC type required)
- Recommended Manufacturers: SanDisk, Transcend
- Product Type: High endurance
- The compatibility varies depending on the card manufacturers and types.
NAS RECOMMENDED SPECS
- Recommended capacity: 200GB or higher is recommended.
- For this camera, you are recommended to use a NAS with the following manufacturer’s specs.
Recommended products: QNAP NAS, Synology NAS
WHAT’S INCLUDED
Please check if your camera and accessories are all included in the product package.
(As for each sales country, accessories are not the same.)
| Appearance | Item Name | Quantity | Description |
![]() | Main Body | 1 | |
![]() | Quick Guide (Optional) | 1 | |
![]() | Cap Installer | 1 | Used to connect the network cable |
![]() | Bushing clip | 1 | Used as a means of preventing cable bushing from being separated or falling apart from the hole. |
![]() | Cable Bushing | 1 | Extra cable bushing for network cable installation. |
![]() | Torx L wrench | 1 | Used to open the micro SD card slot |
NETWORK I/O BOX – SEPARATELY SOLD PRODUCT
| Appearance | Item Name | Description | Model Name |
![]() | Network I/O box | External connection device for cameras alarm and audio I/O | SPM-4210 |
OPTIONAL ACCESSORIES FOR INSTALLATION
You can purchase appropriate optional accessories available.
| Wall & Pole Mount | Corner Mount | Hanging Mount | Parapet Mount | Ceiling Mount |
| SBP-156WMW | SBP-156KMW | SBP-156HMW | SBP-156LMW | SBP-156CMW |
* This mount can be used after being attached to a hanging mount
SBP-300LMW (Parapet Mount)
SBP-300CMW (Ceiling Mount)
SBP-300WMW (Wall Mount)
SBP-300WMW1 (Wall Mount)
SBP-300PMW (Pole Mount)
SBP-300KMW (Corner Mount)
AT A GLANCE
Appearance
| Item | Description |
| 1. Main cover | Protects the internal PTZ mechanism from direct sunlight, rain, or external impact. |
| 2. Dome cover | Shield cover for the lens and unit protection. |
| 3. Micro SD Card cover | It Covers micro SD card slots and the Reset button. You can open it using the Torx L wrench. |
Inside
| Item | Description | |
| 1 | IR LED | These infrared LEDs are controlled by the illumination sensor. |
| 2 | Illumination Sensor | Detects incoming light to control the IR LED. |
| 3 | Heater | At a certain temperature below the threshold, it automatically operates, or you can turn it on manually in the web viewer. |
| 4 | Lens | Lens for the camera. |
| 5 | Reset button | The button restores all camera settings to the factory default. Press and hold for about 5 seconds to reboot the system. enabled. If there is no DHCP server in the network, you must run the Device Manager program to change the basic network settings such as IP address, Subnet mask, Gateway, etc., before you can connect to the network. |
| 6 | Micro SD Card slot | Compartment for the Micro SD card. |
Mounting surface

| Item | Description | |
| 1 | Cable bushing | A waterproof rubber cap, allows a network cable to go through it. |
| 2 | Safety wire hook | Hang this hook on the safety wire of the mount when installing this product to prevent it from falling. |
| 3 | Network port | A port that connects to the PoE+ router and network cable for power and network connection. |
Installation & Connection
INSTALLATION
• This camera is waterproof and in compliance with the IP66 spec, but the jack connected to the external cable is not. You are recommended to install this product below the edge of the eaves to prevent the cable from being externally exposed.
Precautions before installation
Ensure you read out the following instructions before installing the camera:
- Select an installation site that can hold at least 5 times the camera’s weight.
- Stuck-in or peeled-off cables can cause damage to the product or a fire.
- For safety purposes, keep anyone else away from the installation site.
And put aside personal belongings from the site, just in case. - If the product is installed with excessive force, it may cause damage to the camera due to malfunction.
Forcing assembly using non-compliant tools may damage the product.
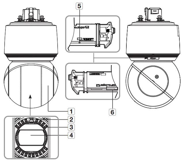
Inserting a Micro SD card
- Unfasten the screw on the Micro SD card cover by turning them counterclockwise using the Torx L wrench.

• Disconnect the power cable from the camera before inserting the Micro SD card.
• When it rains or the humidity is high, insertion or ejection of a Micro SD card is not recommended.
• When installing/removing the Micro SD card, make sure you put the product body on flat ground before working on it in order to prevent accidents due to loss or drop of any parts.
• Do not remove the screws. - Push in a flathead screwdriver under the slot to pull out the Micro SD card slot.

- Insert Micro SD cards in the direction of the arrows as shown in the figure.

• Do not forcefully insert it in the reverse direction. It might damage your Micro SD card and your product.
- After inserting the Micro SD cards, push the Micro SD card slot until it clicks into place.
- Fix the Micro SD card slot using screws.
• Tighten the screws when assembling the Micro SD card cover to prevent moisture penetration.
Removing a Micro SD card
Gently press down on the exposed end of the Micro SD card as shown in the diagram to eject the Micro SD card from the slot.
Before removing the Micro SD card, in <Storage>, set the device to <Off> and press the [Apply] button and turn the camera off.- If you turn off the camera or remove the Micro SD card that contains data from the product, the data may be lost or damaged.
Preparing & Installing Camera Mount
For installation guidelines for mounts, refer to the installation manual that is enclosed with the mount.
See “Optional Accessories for Installation” for the appearance of each mount (unbundled). (page 7)
Getting ready for network cable installation
- Remove the cable bushing.

- Pull off the extruded part of the removed cable bushing.
- Use the cap installer to route the network cable through the cable bushing.

• If the cable bushing is torn, use the extra cable bushing provided. - For waterproof protection, pull down the cable below the cable bushing as shown in the figure below.
Installing using wall & pole mount
• Connect the power only after installation is complete. Supplying power while the installation is in progress may cause fire or damage to the product.
- Hang the safety wire of the wall & pole mount on the safety wire hook of the product.
- Connect the network cable to the network port.

- Plug the cable bushing of the network cable into the hole.
When plugging it in, press the whole bushing area evenly so that it is properly plugged in.
• The length and width of the cable bushing are different. Check the shape and plug it in the right direction. - Install the bushing clip.
Let the arrow mark on the clip point in the direction of the safety wire hook, and click each side into place one at a time.
- After aligning the installation direction guides of the camera and wall & pole mount, push the main cover upward and turn it counterclockwise until it is secured.

- Tightly fasten the 3 mounting screws on the inside of the Wall & Pole Mount.

- Join the top cover of the wall & pole mount.

Installing using ceiling or parapet mount
- Hang the safety wire of the mount on the safety wire hook of the product.

- Connect the network cable to the network port.

- Plug the cable bushing of the network cable into the hole.
When plugging it in, press the whole bushing area evenly so that it is properly plugged in.
• The length and width of the cable bushing are different. Check the shape and plug it in the right direction. - Install the bushing clip.
Let the arrow mark on the clip point in the direction of the safety wire hook, and click each side into place one at a time.
- After aligning the installation direction guides of the hanging mount, push the main cover upward and turn it counterclockwise until it is secured.

- Tightly fasten the 3 mounting screws on the top side of the mount.

- Joined with official product mounts (ceiling/parapet)

- Joined with mounts other than official product mounts
If you use a hanging mount, you can install the camera onto any mount other than the official product mount.

POWERING AND NETWORKING
Connect the PoE+ supported router or PoE+ injector with the PoE port of the camera.

The product cannot be used at -40°C or below ambient temperature.- The product may not be defrosted depending on the installation area at -40°C.
- After the product is left alone in a low-temperature environment, it will take up to 2 hours to normally operate.
- If the product is turned on after being exposed to -20°C or below environment for some time, reset the time.
- Use a PoE+ device that complies with the IEEE 802.3at standard.
– If your device is connected to the switch with the standard of PoE (IEEE 802.3af), then go to the switch setup menu to “deactivate PoE”.
For further information on the switch devices, refer to the manufacturer’s manual.
– It is recommended to use a cable that complies with the PoE+ spec. - Depending on your PoE+ device, the boot time (including PoE+ power connection time) might vary.
- If you connect using a PoE+ -enabled router, you don’t need a separate power supply cable to power it on.
Network Cable Specification
| Item | Contents | Remark |
| Connector | RJ45 (10/100BASE-T) | |
| Ethernet | 10/100BASE-T | |
| Cable | UTP Category 5e | |
| Max Distance | 100 m | |
| PoE Support | PoE+ | DC Resistance ≤ 0.125 Ω/m |
Use an STP cable to increase the protection from thunder stroke damage.
Connecting audio and alarm I/O
You can connect audio and alarm using a network I/O box separately sold.
For more information on the network I/O box, see the manual for the network I/O box.- You can set the network I/O box in Camera web viewer <Setup (
)> ; <Event> ; <I/Obox> menu. - Connect only one camera per network I/O box. The product may malfunction if more than one camera is connected.
NETWORK CONNECTION AND SETUP
You can set up the network settings according to your network configurations.
CONNECTING THE CAMERA DIRECTLY TO LOCAL AREA NETWORKING
Connecting to the camera from a local PC on the LAN
- Launch an Internet browser on the local PC.
- Enter the IP address of the camera in the address bar of the browser.

• A remote PC on an external Internet out of the LAN network may not be able to connect to the camera installed in the intranet if the port-forwarding is not properly set or a firewall is set.
In this case, to resolve the problem, contact your network administrator.
• By factory default, the IP address will be assigned from the DHCP server automatically. If there is no DHCP server available, the IP address will be set to 192.168.1.100.
To change the IP address, use the Device Manager.
For further details on Device Manager use, refer to “Using Device Manager”. (Page 20)
CONNECTING THE CAMERA DIRECTLY TO A DHCP-BASED DSL/CABLE MODEM

- Connect the user’s PC directly with the network camera.
- Run the Device Manager and change the IP address of the camera so that you can use the web browser on your desktop to connect to the camera.
- Use the Internet browser to connect to the web viewer.
- Move to the [Setup] page.
- Move to [Network] – [DDNS] and configure the DDNS settings.
- Move to [Basic] – [IP & Port], and set the IP type to [DHCP].
- Connect the camera, which was removed from your PC, directly to the modem.
- Restart the camera.
• For information on how to set DDNS, refer to the online help of Web Viewer.
• For information on how to set the IP format, refer to the online help of Web Viewer.
USING DEVICE MANAGER
The device manager program can be downloaded from the <Technical Support>-<Online Tool> menu at the Hanwha Techwin website (http://www.hanwha-security.com).- More instructions for Device Manager can be found in the <Help> menu on the main page.
AUTOMATICALLY SEARCHING CAMERA
If a camera is connected to the same network of the PC where the device manager is installed, you can find the network camera by using the search function.
- Click <Search> on the main page of the device manager.
- Check the camera from the list.
• Check the MAC address on the sticker attached to the camera.
CONFIGURING IP ADDRESS
If you want to change the camera network setting, the <Login OK> sign must be displayed at <Status>.
Click <Authentication> on the main page to log in.
Configuring Static IP
Manually insert and configure IP address & port information.
- Click the camera from the list that you want the change the IP setting.
- Click <IP Assign> on the main page of the device manager.
- Select <Assign the following IP address>.
• IP information of the camera will be displayed as previously set. - Fill in IP & Port related categories.
If not using a Broadband Router
For setting <IP Address>, <Subnet Mask>, and <Gateway>, contact your network administrator.
• HTTP Port: Used to access the camera using the Internet browser, defaulted to 80.
• RTSP Port: A port that controls real-time streaming. The initial value is 554.
If using a Broadband Router
IP Address: Enter an address falling in the IP range provided by the Broadband Router.
ex) 192.168.1.2~254, 192.168.0.2~254, 192.168.XXX.2~254
Subnet Mask: The <Subnet Mask> of the Broadband Router will be the <Subnet Mask> of the camera.
Gateway: The <Local IP Address> of the Broadband Router will be the <Gateway> of the camera.
The settings may differ depending on the connected Broadband Router model.
• For more information, refer to the user manual of the applicable router.
• For more information about port forwarding of the broadband router, refer to “Port Range Forward (Port Mapping) Setup”. (Page 22)
If the Broadband Router has more than one camera connected
Configure the IP-related settings and the Port-related settings distinctly with each other. ex)Category Camera #1 Camera #2 IP related settings IP Address
Subnet Mask
Gateway192.168.1.100
255.255.255.0
192.168.1.1192.168.1.101
255.255.255.0
192.168.1.1Port related settings HTTP Port
RTSP Port8080
5548081
555• If the <HTTP Port> is set other than 80, you must provide the <Port> number in the address bar of the Internet browser before you can access the camera.
ex) http://IP Address : HTTP Port
http://192.168.1.100:8080 - Click the [Apply] Button.
- If the success message is displayed, click [OK].
Configuring Dynamic IP
Receive IP address from DHCP
- Example of the Dynamic IP environment
– If a Broadband Router, with cameras connected, is assigned an IP address by the DHCP server
– If connecting the camera directly to the modem using the DHCP protocols
– If IPs are assigned by the internal DHCP server via the LAN
- Click the camera from the list that you want to change the IP setting.
- Click <IP Assign> on the main page of the device manager.
- Select <Obtain an IP address automatically (DHCP)>.
- Click the [Apply] button.
- If the success message is displayed, click [OK].

MANUALLY REGISTERING CAMERA
If the camera cannot be found using the search function, the camera can be registered remotely by manually inserting IP information, if the camera is connected to the external network.
- Click <Add Devices> – <Manually Add Device> on the main page of the device manager.
- Insert the range of IP addresses that you search for.
- Select the <Model Name> of the camera that you register, and insert the HTTP port, ID, and password.
- Click the [Register] button.
- Check if the camera is registered.
• Check the MAC address on the sticker attached to the camera.
AUTOMATICALLY CONFIGURING IP
- Click the camera from the list that you want to automatically configure the IP.
- Click < + > on the main page of the device manager.
• Equipment Setting menu appears. - At the menu, click <Auto IP Configure>.
- Click [Close] button.

PORT RANGE FORWARD (PORT MAPPING) SETUP
If you have installed a Broadband Router with a camera connected, you must set the port range forwarding on the Broadband Router so that a remote PC can access the camera in it.
Manual Port Range Forwarding
- From the Setup menu of the Broadband Router, select <Applications & Gaming> – <Port Range Forward>.
For setting the port range forward for a third-party Broadband Router, refer to the user guide of that Broadband Router. - Select <TCP> and <UDP Port> for each connected camera to the Broadband Router.
The number of each port to be configured to the IP router should be set according to the port number designated in <Setup> – <Basic> – <IP & Port> on the camera web viewer. - When done, click [Save Settings].
Your settings will be saved.
Port forwarding setting is an example of setting CISCO IP routers.- The settings may differ depending on the connected Broadband Router model.
For more information, refer to the user manual of the applicable router.
Setting up Port Range Forward for several network cameras
- You can set a rule of Port Forwarding on the Broadband Router device through its configuration web page.
- A user can change each port using the camera setting screen.
When Camera1 and Camera2 are connected to a router :
Port forwarding can be done without additional router setup if the router supports the UPnP (Universal Plug and Play) function.
After connecting the network camera, select the checkbox from the menu <Quick connect> in <Wisenet DDNS> in “Settings -> Network -> DDNS”.
CONNECTING TO THE CAMERA FROM A SHARED LOCAL PC
- Run device manager.
It will scan for connected cameras and display them as a list. - Double-click a camera to access it.
The Internet browser starts and connects to the camera.
• Access to the camera can also be gained by typing the camera’s IP address in the address bar of the Internet browser.
CONNECTING TO THE CAMERA FROM A REMOTE PC VIA THE INTERNET
A remote computer that is not in the Broadband Router’s network cluster is not allowed, users can access cameras within a Broadband Router’s network by using the camera’s DDNS URL.
- Before you can access a camera in the Broadband Router network, you should have set the port range forward for the Broadband Router.
- From the remote PC, launch the Internet browser and type the DDNS URL address of the camera, or the IP address of the Broadband Router in the address bar.
ex) http://ddns.hanwha-security.com/ID
• To use Wisenet DDNS, sign up at the Wisenet DDNS homepage (http://ddns.hanwha-security.com) and register the product at [My DDNS]>[Register Product].
Web Viewer
CONNECTING TO THE CAMERA
Normally, you would
- Launch the Internet browser.
- Type the IP address of the camera in the address bar.
ex) ~ IP address (IPv4) : 192.168.1.100 ;
http://192.168.1.100
– the Login dialog should appear.
• IP address (IPv6) : 2001:230:abcd: ffff:0000:0000:ffff:1111 ;
HTTP://[2001:230:abcd:ffff:0000:0000:ffff:1111] – the Login dialog should appear.
If the HTTP port is other than 80
- Launch the Internet browser.
- Type the IP address and HTTP port number of the camera in the address bar.
ex) IP address : 192.168.1.100:HTTP Port number(8080) ;
http://192.168.1.100:8080 – the Login dialog should appear.
Using URL
- Launch the Internet browser.
- Type the DDNS URL of the camera in the address bar.
ex) URL address : http://ddns.hanwha-security.com/ID
– the Login dialog should appear.
• Network connection is disabled in the LAN-only environment.
Connecting via UPnP
- Run the client or operating system in support of the UPnP protocol.
- Click the camera name for search.
In the Windows operating system, click the camera name searched from the network menu.
– The login window is displayed.
Connecting via Bonjour
- Run the client or operating system in support of the Bonjour protocol.
- Click the camera name for search.
In the Mac operating system, click the camera name searched from the Bonjour tab of Safari.
– The login window is displayed.
To check the DDNS address
If the camera is connected directly to the DHCP cable modem or DSL modem, the IP address of your network will be changed each time you try to connect to the ISP (Internet Service Provider) server.
If this is the case, you will not be informed of the IP address changed by DDNS.
Once you register a dynamic IP-based device with the DDNS server, you can easily check the changed IP when you try to access the device.
To register your device to the <DDNS> server, visit http://ddns.hanwha-security.com and register your device first, and then set the Web Viewer’s <Network> – <DDNS> to <Wisenet DDNS>, as well as providing <Product ID> that had been used for DDNS registration.
PASSWORD SETTING
When you access the product for the first time, you must register the login password.
For a new password with 8 to 9 digits, you must use at least 3 of the following: uppercase/lowercase letters, numbers, and special characters. For a password with 10 to 15 digits, you must use at least 2 types of those mentioned.
– Special characters are allowed. : ~`!@#$%^&*()_-+={} []|\;:‘“<>.,?/- Space is not allowed for passwords.
- For higher security, you are not recommended to repeat the same characters or consecutive keyboard inputs for your passwords.
- If you lost your password, you can press the [RESET] button to initialize the product. So, don’t lose your password by using a memo pad or memorizing it.
LOGIN
Whenever you access the camera, the login window appears.
Enter the User ID and password to access the camera.
- Enter “admin” in the <User name> input box.
The administrator ID, “the admin”, is fixed and can not be changed. - Enter the password in the <Password> input field.
- Click [Sign in].
If you have logged in successfully, you will the Live Viewer screen.
• When you access the camera web viewer, pay special attention to the security by checking whether the image data is encrypted.
• You will experience the best video quality if the screen size is 100%. Reducing the ratio may cut the image on the borders.
CAMERA WEB VIEWER SETUP
- Click the [Setup (
)] icon. - The Settings window appears.
- You can configure settings for the camera’s basic information, video, audio, network, event, analysis, and system over the network.
- Click <Help (
)> to view detailed descriptions of each function.
Appendix
TROUBLESHOOTING
| PROBLEM | SOLUTION |
| No video is displayed when accessing the plug-in free web viewer on Safari via HTTPS. | • On the authentication popup window prompted when initially accessing HTTPS, click “View Authentication Certificate” and select the “Always trust when connecting to the designated web viewers IP” check box. • If the web viewer continues failing to display a video after you select “Next” on the message window below, press the command key + Q to exit the Safari browser, access again, and follow the procedures stated above. |
| I can’t access the camera from a web browser. | • Check to make sure that the camera’s Network settings are appropriate. • Check to make sure that all network cables have been connected properly. • If connected using DHCP, verify that the camera is able to acquire dynamic IP addresses without any problem. • If the camera is connected to a Broadband Router, verify that port forwarding is properly configured. |
| Viewer got disconnected during monitoring. | • Connected Viewers become disconnected upon any change to camera or network configurations. • Check all network connections. |
| The camera connected to the network is not detected in the Device Manager program. | • Turn off the firewall settings on your PC and then search the camera again. |
| Images overlap. | • Check whether two or more cameras are set to a single multicast address instead of different addresses. If a single address is used for multiple cameras, the images may overlap. |
| No image appears. | • If the transmission method is set to multicast, check whether there is a router that supports multicast in the LAN the camera is connected to. |
| <Motion detection> of <Analytics> is set to <Enable>, but no notification e-mail reaches me even when an analysis event had occurred. | • Verify the settings in the following sequence: A. Check <Data & Time> settings. B. The <Motion detection> should be set to <Enable>. C. Check if the <E-mail> option of <Event setup> menu is checked to use. |
| Cannot record into the Micro SD card. | • Check if the Micro SD card is defective. • When replacing the Micro SD card, it must be done while the power is disconnected from the product. |
| Micro SD card is inserted but the camera does not operate properly. | • Check if the Micro SD card is inserted in the proper direction. The operation of a Micro SD card that is formatted by other devices is not guaranteed with this camera unit. • Format the Micro SD card again in <Setup> → <Event> → <Storage> menu. |
| Cannot record in the NAS. | • Confirm that the information registered in the NAS is correct. |
| It reports that NAS setting has failed. | • Confirm that the IP address of the NAS is valid. • Confirm that the ID/password of the NAS is valid. • Confirm that you can access the folder designated as the default folder using the ID of the NAS. • Confirm that the NAS SMB/CIFS items are unchecked. • Confirm that the NAS IP address and the camera IP address are in the same format. ex) The NAS & camera subnet mask initial value is 255.255.255.0. If the IP address is 192.168.20.32 then the NAS IP address should be in the range of 192.168.20.1~192.168.20.255. • Check whether you tried to access as another user without formatting the default folder saved or used. • Confirm that you used recommended NAS equipment. |
| Any changes or modifications in the construction of this device that are not expressly approved by the party responsible for compliance could void the user’s authority to operate the equipment. This device complies with part 15 of the FCC Rules. Operation is subject to the following two conditions: (1) This device may not cause harmful interference, and (2) this device must accept any interference received, including interference that may cause undesired operation. This equipment has been tested and found to comply with the limits for a Class A digital device, pursuant to part 15 of the FCC Rules. These limits are designed to provide reasonable protection against harmful interference when the equipment is operated in a commercial environment. This equipment generates, uses, and can radiate radio frequency energy and, if not installed and used in accordance with the instruction manual, may cause harmful interference to radio communications. Operation of this equipment in a residential area is likely to cause harmful interference in which case the user will be required to correct the interference at his own expense. | |
| Hanwha Techwin cares for the environment at all product manufacturing stages and is taking measures to provide customers with more environmentally friendly products. The Eco mark represents Hanwha Techwin’s devotion to creating environmentally friendly products and indicates that the product satisfies the EU RoHS Directive. | |
![]() | Correct Disposal of This Product (Waste Electrical & Electronic Equipment) (Applicable in the European Union and other European countries with separate collection systems) This marking on the product, accessories, or literature indicates that the product and its electronic accessories (e.g. charger, headset, USB cable) should not be disposed of with other household waste at the end of their working life. To prevent possible harm to the environment or human health from uncontrolled waste disposal, please separate these items from other types of waste and recycle them responsibly to promote the sustainable reuse of material resources. Household users should contact either the retailer where they purchased this product, or their local government office, for details of where and how they can take these items for environmentally safe recycling. Business users should contact their suppliers and check the terms and conditions of the purchase contract. This product and its electronic accessories should not be mixed with other commercial wastes for disposal. |
![]() | Correct disposal of batteries in this product (Applicable in the European Union and other European countries with separate battery return systems.) This marking on the battery, manual or packaging indicates that the batteries in this product should not be disposed of with other household waste at the end of their working life. Where marked, the chemical symbols Hg, Cd, or Pb indicate that the battery contains mercury, cadmium, or lead above the reference levels in EC Directive 2006/66. If batteries are not properly disposed of, these substances can cause harm to human health or the environment. To protect natural resources and to promote material reuse, please separate batteries from other types of waste and recycle them through your local, free battery return system. |






























If not using a Broadband Router
























