Quick Start Guide
HM-T3 PRO
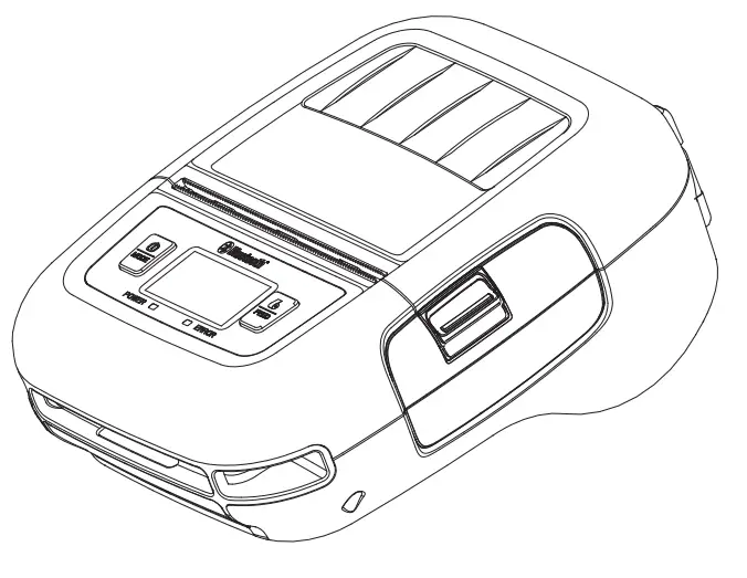
Appearance and Components
- Front

- Back

- Inside

Packing List
![]() | Printer |
![]() | USB Cable |
![]() | AC Adapter |
![]() | Battery |
![]() | oll Paper |
![]() | Quick Start Guide |
![]() | Belt Clip |
Note
- The items in the package are actually based on the order.
- The AC adapter varies by country or region.
Paper Loading
- Press the cover opening button to open the printer cover.

- Load the roll paper in the orientattion shown in the figure below.

- Pull the end of the roll straight toward you. Then press down on both sides of the printer cover to close it firmly. When you close the printer cover, make sure that it is closed on both sides.

- Use the tear bar to cut the extra paper.

Battery Installation
- Make sure that the printer has been turned off before you insert or remove the battery pack.
- Insert the battery pack into the back of the printer as the figure shown belowfollowing the direction of the arrow. Press down on the battery pack until the hook click into place.

- To remove the battery back, pull back the hook, and use the opposite procedure from the one you used to insert the battery pack.

Battery Charging
Plug in socket with USB charging.
When battery pack runs out of power, the battery icon will flash. It powers off automatically when continues printing. If you want to go on, please charge it.

Note
◆ POWER lamp will always flash in green color and goes off when fully charged.
◆ Charging the printer when it is on, even if battery icon on the LCD shows fully charged, turn off the printer and let the battery charge until the POWER lamp goes off for fully charge.
Wi-Fi Setings
Printer Wi-Fi factory default is Off, and it needs to be turned on through menu before use. In AP mode, the IP address is “192.168.1.1”, SSID is “T3PRO_APXXXX” (last
four digits of Wi-Fi Mac address). If you need to change the Wi-Fi setings, pleaseset it by the Utility tool.
Note: This seting is only available for the models with Wi-Fi.
- Press and hold MODE bution for approx. 2 seconds, and printer is turned on.
LCD display is shown as follows.
- Press and hold MODE & FEED butuions, release the butions afier you surely confirm the screen display“Enter Menu Mode”, to get a printer into the seting mode.
- Press the MODE bution, choose the item or return to previous menu.
- Press the FEED bution, you can move the cursor(“_”) or confirm the new seting.
Note
◆ Before changing the menu seting, please make sure that the communication with a host device is disconnected.
◆ When the printer is under the Bluetooth communication with a host device, it cannot enter the Menu Seting mode.
FCC WARNING
This device complies with part 15 of the FCC Rules. Operation is subject to the following two conditions:
- this device may not cause harmful interference, and
- this device must accept any interference received, including interference that may cause undesired operation.
Any changes or modifications not expressly approved by the party responsible for compliance could void the user’s authority to operate the equipment.
NOTE: This equipment has been tested and found to comply with the limits for a Class B digital device, pursuant to Part 15 of the FCC Rules. These limits are designed to provide reasonable protection against harmful interference in a residential installation. This equipment generates, uses and can radiate radio frequency energy and, if not installed and used in accordance with the instructions, may cause harmful interference to radio communications. However, there is no guarantee that interference will not occur in a particular installation.
If this equipment does cause harmful interference to radio or television reception, which can be determined by turning the equipment off and on, the user is encouraged to try to correct the interference by one or more of the following measures:
- Reorient or relocate the receiving antenna.
- Increase the separation between the equipment and receiver.
- Connect the equipment into an outlet on a circuit different from that to which the receiver is connected.
- Consult the dealer or an experienced radio/TV technician for help.
FCC RF Exposure Information and Statement the SAR limit of USA (FCC) is 1.6 W/kg averaged over one gram of tissue. This Portable Label Printer had been tested against this SAR limit. This device was tested for typical body-worn operations with the back of the device kept 0mm from the body. To maintain compliance with FCC RF exposure requirements, use accessories that maintain an 0 mm separation distance between the user’s body and the back of the device. The use of belt clips, holsters and similar accessories should not contain metallic components in its assembly. The use of accessories that do not satisfy these requirements may not comply with FCC RF exposure requirements, and should be avoided.
This equipment complies with ISED radiation exposure limits set forth for an uncontrolled environment. This equipment could be installedand operated with minimum distance 0 cm between the radiator andyour body. End user must follow the specific operating instructionsfor satisfying RF exposure compliance. This transmitter must not be co-located or operating in conjunction with any other antenna or transmitter.





































