CENTRAL MACHINERY 39955 20 Inch 12 Speed Production Drill Press Owner’s Manual
WARNING SYMBOLS AND DEFINITIONS
This is the safety alert symbol. It is used to alert you to potential personal injury hazards. Obey all safety messages that follow this symbol to avoid possible injury or death.
Danger: Indicates a hazardous situation which, if not avoided, will result in death or serious injury.
Warning: Indicates a hazardous situation which, if not avoided, could result in death or serious injury.
Caution: Indicates a hazardous situation which, if not avoided, could result in minor or moderate injury.
Notice Caution: Addresses practices not related to personal injury.
IMPORTANT SAFETY INFORMATION
General Tool Safety Warnings
Warning:
Read all safety warnings and instructions.
Failure to follow the warnings and instructions may result in electric shock, fire and/or serious injury. Save all warnings and instructions for future reference.
- KEEP GUARDS IN PLACE and in working order.
- REMOVE ADJUSTING KEYS AND WRENCHES. Form habit of checking to see that keys and adjusting wrenches are removed from tool before turning it on.
- KEEP WORK AREA CLEAN.
Cluttered areas and benches invite accidents. - DON’T USE IN DANGEROUS ENVIRONMENT. Don’t use power tools in damp or wet locations, or expose them to rain. Keep work area well lighted.
- KEEP CHILDREN AWAY. All visitors should be kept safe distance from work area.
- MAKE WORKSHOP KID PROOF with padlocks, master switches, or by removing starter keys.
- DON’T FORCE TOOL. It will do the job better and safer at the rate for which it was designed.
- USE RIGHT TOOL. Don’t force tool or attachment to do a job for which it was not designed.
Table A: RECOMMENDED MINIMUM WIRE GAUGE FOR EXTENSION CORDS (120 VOLT) NAMEPLATE AMPERES (at full load) EXTENSION CORD LENGTH 25′ 50′ 100′ 150′ 0 – 6 18 16 16 14 6.1 – 10 18 16 14 12 10.1 – 12 16 16 14 12 12.1 – 16 14 12 Do not use. - USE PROPER EXTENSION CORD. Make sure your extension cord is in good condition. When using an extension cord, be sure to use one heavy enough to carry the current your product will draw. An undersized cord will cause a drop in line voltage resulting in loss of power and overheating. Table A shows the correct size to use depending on cord length and nameplate ampere rating. If in doubt, use the next heavier gauge. The smaller the gauge number, the heavier the cord.
- WEAR PROPER APPAREL. Do not wear loose clothing, gloves, neckties, rings, bracelets, or other jewelry which may get caught in moving parts. Nonslip footwear is recommended. Wear protective hair covering to contain long hair.
- ALWAYS USE SAFETY GLASSES. Also use face or dust mask if cutting operation is dusty. Everyday eyeglasses only have impact resistant lenses, they are NOT safety glasses.
- SECURE WORK. Use clamps or a vise to hold work when practical. It’s safer than using your hand and it frees both hands to operate tool.
- DON’T OVERREACH. Keep proper footing and balance at all times.
- MAINTAIN TOOLS WITH CARE. Keep tools sharp and clean for best and safest performance. Follow instructions for lubricating and changing accessories.
- DISCONNECT TOOLS before servicing; when changing accessories, such as blades, bits, cutters, and the like.
- REDUCE THE RISK OF UNINTENTIONAL STARTING. Make sure switch is in off position before plugging in.
- USE RECOMMENDED ACCESSORIES. Consult the owner’s manual for recommended accessories. The use of improper accessories may cause risk of injury to persons.
- NEVER STAND ON TOOL. Serious injury could occur if the tool is tipped or if the cutting tool is unintentionally contacted.
- CHECK DAMAGED PARTS. Before further use of the tool, a guard or other part that is damaged should be carefully checked to determine that it will operate properly and perform its intended function – check for alignment of moving parts, binding of moving parts, breakage of parts, mounting, and any other conditions that may affect its operation. A guard or other part that is damaged should be properly repaired or replaced.
- DIRECTION OF FEED. Feed work into a blade or cutter against the direction of rotation of the blade or cutter only.
- NEVER LEAVE TOOL RUNNING UNATTENDED. TURN POWER OFF. Don’t leave tool until it comes to a complete stop.
Grounding Instructions
Warning:
TO PREVENT ELECTRIC SHOCK AND DEATH FROM INCORRECT GROUNDING WIRE CONNECTION
READ AND FOLLOW THESE INSTRUCTIONS:
110-120 VAC Grounded Tools: Tools with Three Prong Plugs
- In the event of a malfunction or breakdown, grounding provides a path of least resistance for electric current to reduce the risk of electric shock. This tool is equipped with an electric cord having an equipment-grounding conductor and a grounding plug. The plug must be plugged into a matching outlet that is properly installed and grounded in accordance with all local codes and ordinances.
- Do not modify the plug provided – if it will not fit the outlet, have the proper outlet installed by a qualified electrician.
- Improper connection of the equipment-grounding conductor can result in a risk of electric shock. The conductor with insulation having an outer surface that is green with or without yellow stripes is the equipment-grounding conductor. If repair or replacement of the electric cord or plug is necessary, do not connect the equipment grounding conductor to a live terminal.
- Check with a qualified electrician or service personnel if the grounding instructions are not completely understood, or if in doubt as to whether the tool is properly grounded.
- Use only 3-wire extension cords that have 3-prong grounding plugs and 3-pole receptacles that accept the tool’s plug.
- Repair or replace damaged or worn cord immediately.

125 VAC 3-Prong Plug and Outlet (for up to 125 VAC and up to 15 A) - This tool is intended for use on a circuit that has an outlet that looks like the one illustrated above in 125 VAC 3-Prong Plug and Outlet. The tool has a grounding plug that looks like the plug illustrated above in 125 VAC 3-Prong Plug and Outlet.
- The outlet must be properly installed and grounded in accordance with all codes and ordinances.
- Do not use an adapter to connect this tool to a different outlet.
Drill Press Safety Warnings
For Your Own Safety Read Instruction Manual Before Operating Drill Press
- Wear eye protection.
- Do not wear gloves, necktie, or loose clothing.
- Clamp workpiece or brace against column to prevent rotation.
- Use recommended speed for drill accessory and workpiece material.
- The included chuck key is specially designed to be self-ejecting, reducing the risk of ejecting at high speed. Only use the included chuck key or an identical replacement key.
- DO NOT OPERATE WITH ANY GUARD DISABLED, DAMAGED, OR REMOVED. Moving guards must move freely and close instantly.
- The use of accessories or attachments not recommended by the manufacturer may result in a risk of injury to persons.
- When servicing use only identical replacement parts.
- Only use safety equipment that has been approved by an appropriate standards agency. Unapproved safety equipment may not provide adequate protection. Eye protection must be ANSI-approved and breathing protection must be NIOSH-approved for the specific hazards in the work area.
- Stay alert, watch what you are doing and use common sense when operating a power tool. Do not use a power tool while you are tired or under the influence of drugs, alcohol or medication. A moment of inattention while operating power tools may result in serious personal injury.
- Industrial applications must follow OSHA guidelines.
- Maintain labels and nameplates on the tool. These carry important safety information. If unreadable or missing, contact Harbor Freight Tools for a replacement.
- Avoid unintentional starting. Prepare to begin work before turning on the tool.
- People with pacemakers should consult their physician(s) before use. Electromagnetic fields in close proximity to heart pacemaker could cause pacemaker interference or pacemaker failure.
- The warnings, precautions, and instructions discussed in this instruction manual cannot cover all possible conditions and situations that may occur. It must be understood by the operator that common sense and caution are factors which cannot be built into this product, but must be supplied by the operator.
Vibration Safety
This tool vibrates during use. Repeated or long-term exposure to vibration may cause temporary or permanent physical injury, particularly to the hands, arms and shoulders. To reduce the risk of vibration-related injury:
- Anyone using vibrating tools regularly or for an extended period should first be examined by a doctor and then have regular medical check-ups to ensure medical problems are not being caused or worsened from use. Pregnant women or people who have impaired blood circulation to the hand, past hand injuries, nervous system disorders, diabetes, or Raynaud’s Disease should not use this tool. If you feel any medical or physical symptoms related to vibration (such as tingling, numbness, and white or blue fingers), seek medical advice as soon as possible.
- Do not smoke during use. Nicotine reduces the blood supply to the hands and fingers, increasing the risk of vibration-related injury.
- Use tools with the lowest vibration when there is a choice between different processes.
- Include vibration-free periods each day of work.
- Grip tool as lightly as possible (while still keeping safe control of it). Let the tool do the work.
- To reduce vibration, maintain the tool as explained in this manual. If any abnormal vibration occurs, stop use immediately
SAVE THESE INSTRUCTIONS.
Specifications
| Electrical Rating | 120 VAC / 60 Hz / 15 A |
| Spindle No Load Speeds | 180, 330, 380, 460, 530, 650, 1120, 1350, 1870, 2150, 2850, 3850 RPM |
| Spindle Stroke | 4-3/4″ |
| Spindle Taper | MT4 |
| Swing | 20″ |
| Column Diameter | 3-5/8″ |
| Chuck Capacity | 3/16″– 25/32″ (4.7 mm –19.8 mm) |
| Table Size | 17-1/2″ x 15-5/8″ |
| Table Tilt | 0°– 45° left and right |
| Overall Dimensions | 35″ L x 20″ W x 68-1/2″ H |
Setup – Before Use
Read the ENTIRE IMPORTANT SAFETY INFORMATION section at the beginning of this manual including all text under subheadings therein before set up or use of this product.
Warning:
TO PREVENT SERIOUS INJURY FROM ACCIDENTAL OPERATION:
Turn the Power Switch of the tool off and unplug the tool from its electrical outlet before performing any procedure in this section.
Note: For additional information regarding the parts listed in the following pages, refer to the Assembly Diagram near the end of this manual.
Mounting
Before assembling and using the Drill Press, secure the Base to a supporting structure.
- Verify that the intended installation surface has no hidden utility lines before drilling or driving screws.
- Bolt the Base to a flat, level, solid floor location capable of supporting the weight of the Drill Press and any workpieces.
Assembly
Column Assembly to Base
- With the Base (1) on a flat level surface, attach the Column Support (5) using the four M12x40 Bolts (4), four Spring Washers (3) and four Flat Washers (2).
- Tighten the Bolts firmly.
- Insert the Column (7) into the Support and firmly secure this assembly in place with the Set Screws (6).
Note: It may be necessary to back the Set Screws out beforehand, as they may protrude into the Support tube, preventing the Column from sliding fully into the Column Support.
Table to Column
- Lubricate the Worm Gear (8) teeth with light grease and insert the Gear into the Table Support (15) shaft-first. Extend the shaft as far as possible through the opening in the side of the Support.
- Insert the Table Crank (10) onto the protruding Worm Gear shaft. Align the Table Crank′s Set Screw (9) with the flat portion of the Worm Gear shaft. Make sure the Worm Gear shaft is inserted as far as possible into the Crank, then tighten the Set Screw. See Figure A.

- Use the Socket Head Cap Screw (13) to attach the Handle Grip (12) to the Table Crank. Use a hex key (not supplied) to securely tighten the Handle Grip.
- Loosen the set screw in the Collar (91) and remove the Collar and Rack (14) from the Column. The Rack is stowed in this position only for transit purposes.
- With the long smooth end of the Rack uppermost, slide the Rack down through the notch in the opening in the Table Support, as shown in Figure B. Engage the Rack into the Gear Mechanism located on the inside of the Table Support.

- While holding the Rack and the Table Support as assembled, slide both down onto the Column. Slide the Rack down until the bottom of the Rack is positioned against the Column Support.
- Replace the Collar onto the Column with its beveled side down, ensuring that the top end of the Rack is engaged in the groove formed between the Collar and the Column. IMPORTANT: Make sure the Rack is not pinched and there is a working clearance between the Rack and Collar.
- Tighten the Collar set screw.
Note: For the Rack to move easily when the Table is rotated around on the Column, the Collar must sit evenly on the Column and fit loosely over the top of the Rack. Only tighten the Collar set screw enough to keep the Collar in place on the Column. Overtightening the set screw may damage the Collar. - Check the Collar for proper adjustment. The Rack should move freely when the Table is rotated the full 360º around the Column.
- Screw the Table Support Lock Handle (18) into the Table Support but do not tighten it all the way. Once this is done, turn the Crank, testing to ensure that the Table Support easily travels up and down the full length of the Rack without binding, and that the assembly and the Rack rotate freely all the way around the Column without binding.
IF THE TABLE SUPPORT IS TOO TIGHT:- Slightly loosen the Table Support Lock Handle and loosen the Collar set screw.
- Adjust the Collar slightly to provide a greater working clearance between the Rack and the Collar.
- Tighten the Collar set screw, and test the Table Support′s movement again.
Head to Column
- Before installing the Head Assembly, it may be necessary to back the Set Screws (6) out slightly to ensure they do not protrude internally, as this would prevent the Head Assembly from sliding fully into position.
- With assistance, raise the Head assembly and locate it on top of the Column.
- Align the Head with the Base, and firmly secure it with the Set Screws.
- Screw the three Spindle Feed Handle Bars (93) firmly into the Spindle Feed Handle Seat (94).
Installing the Chuck
- Loosen the Arm Locking Handle (18) and slide the Table up the Column to within 6″ of the Arbor (32). Tighten the Arm Locking Handle.
- Thoroughly clean the Arbor and the tapered hole in the Chuck (31) of all dirt, grease, oil, and protective coatings.
- Slide the Chuck onto the Arbor.
- Examine the Chuck from all sides to make sure it is straight.
- Open the jaws of the Chuck to their maximum, using the supplied Chuck Key.
- Put a piece of scrap wood on the table to protect the Chuck nose.
- Using the Spindle Feed Handles, lower the Spindle and press the Chuck nose hard against the scrap wood on the table until the Chuck is forced into a solid fit. The Chuck is pressure fitted.
Installing the Cutting Oil System
- Use four Socket Head Cap Screws (73) and four Flat Washers (74) to attach the two Oil Bottle Clips (75) to the tapped holes in the left side of the Head.
- Thread the Oil Pipe (53) into the bottom of one of the Oil Bottles (28), screw an Oil Bottle Cap (25) onto the Bottle and snap the Bottle into the Oil Bottle Clips.
- Assemble an Oil Bottle Top, Sealing Gaskets A and B (26, 24) and Hollow Connecting Bolt (27) together as shown in Figure C:

- Screw the Bottle Cap assembly into the threaded hole in the underside of the Work Table. Tighten the Hollow Connecting Bolt enough to compress the Sealing Gaskets, preventing oil leaks.
- Screw the remaining Oil Bottle into the Bottle Cap assembly underneath the Work Table.
Attaching the Pulley Cover Knob
- Slide the Pulley Cover Knob (124) into the hole in the front of the Pulley Cover.
- Screw the Pan-Head Screw (125) into the knob from the inside of the Pulley Cover.
Installing the Drive Belts
- Undo the Belt Tension Locking Knobs (84) on both sides of the Head. Turn the Belt Tension Lever (96) clockwise to bring the Motor Pulley (107) towards the Spindle Pulley (44). This will allow the Belts to be easily slipped over the Pulleys.
- Consult the chart inside the pulley cover (or Figure F ), and install the Belts (47, 116) in the positions corresponding to the required spindle/drill speed.
- Turn the Belt Tension Lever counterclockwise so that tension is applied to the belts.
IMPORTANT: Tension is correct when the belts deflect by approximately 1/2″ at their centers of run when using reasonable thumb pressure. - Use the Belt Tension Locking Knobs to lock the Motor Pulley in this position.

Functions


Operating Instructions
Warning:
Read the ENTIRE IMPORTANT SAFETY INFORMATION section at the beginning of this manual including all text under subheadings therein before set up or use of this product.
Tool Set Up
TO PREVENT SERIOUS INJURY FROM ACCIDENTAL OPERATION: Turn the Power Switch of the tool off and unplug the tool from its electrical outlet before performing any procedure in this section.
TO PREVENT SERIOUS INJURY:
DO NOT OPERATE WITH ANY GUARD DISABLED, DAMAGED, OR REMOVED. Moving guards must move freely and close instantly
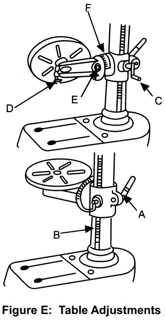
Table Adjustment
The Table is capable of moving in four directions. See Figure E.
- Raise or lower the Table by loosening the Table Support Locking Handle (A) and turning the Table Crank (C): clockwise to raise the Table and counterclockwise to lower the Table.
- Swivel the Table around the column by loosening the Table Support Locking Handle. The table assembly, arm and rack (B), move as one around the column.
- Tilt the table by loosening the Bolt (E), and tilting the Table to the required angle. A scale (F) is provided on the arm to assist in setting the required angle. For all normal operations the Table angle should be set at 0°.
IMPORTANT: TO ENSURE THAT THE DRILL IS ENTIRELY PERPENDICULAR TO THE TABLE: Insert a piece of straight round bar in the Chuck, place a square on the Table and raise the table to bring the square up to the round bar. Adjust the Table tilt if necessary so that the Table is correctly aligned. - Spin the Table about its axis by loosening the Table Locking Handle (D).
Using the Cutting Oil Drip System
- Remove the upper Oil Bottle from the Oil Bottle Clips and unscrew the Cap.
- Make sure that the Oil Pipe valve is closed. Fill the Bottle with your lubricant of choice.
- Screw the Cap onto the Bottle and snap the Bottle back into the Clips.
- Open the Oil Pipe valve and adjust the Pipe so the oil drips onto the cutting area.
- The used oil will collect in the Oil Bottle attached to the underside of the Work Table.
- Before the Bottle is full, dispose of the used oil in accordance with local regulations.
Changing Drill Speed
- WARNING! TO PREVENT SERIOUS INJURY: Turn off and unplug the Drill Press before changing drill speed.
- Open the Pulley Cover.
- Loosen the Belt Tension Lock Knobs on both sides of the Head and turn the Belt Tension Lever clockwise. This will bring the Motor Pulley towards the Spindle Pulley, removing all tension from the drive Belts.
- Consult Figure F (or the chart inside the Pulley Cover) and install the Belts on the Pulleys in the positions that correspond to the required spindle/drill speed.
- When the Belts have been correctly positioned, tighten them by turning the Belt Tension Lever counterclockwise. The tension is correct when the belts deflect by approximately 1/2″ at their centers of run when using reasonable thumb pressure. (See Figure A) Lock this position in with the two Belt Tension Lock Knobs.
Note: If a belt is too long to be properly tensioned, it must be replaced.
Installing the Bit
CAUTION! Wear heavy-duty work gloves to provide protection when inserting and removing drill bits. Drill bits become very hot during use. Do not remove a drill bit until it has cooled.
- Loosen the Chuck with the Chuck Key until the jaws of the drill are opened enough to fit the drill bit.
- Insert the drill bit approximately 1″ into the jaws of the Chuck, ensuring that the jaws do not touch the flutes of the bit.
- Hand tighten the Chuck until the bit is held securely in place. Confirm that the bit is centered between the Chuck jaws.
- Use the Chuck Key to tighten the Chuck.
- Insert the tip of the Chuck Key into a hole on the side of the Chuck so that the teeth on the Key engage the gear on the Chuck. Use the Key to tighten the Chuck securely and remove the Key.
NOTICE: Use sharp bits. Dull, bent, or damaged bits will cause stress on the drill and/or break.
Setting the Drilling Depth
See Figure G.
Located around the Spindle Feed Shaft is a Depth Stop Collar (A) carrying a graduated scale. The Collar will turn around the Shaft, and can be locked in place by a Lock Knob (B).
- With the power to the Drill Press switched OFF, use the Spindle Feed Handles to lower the drill until the bit contacts the workpiece and hold it in that position.
- Loosen the Lock Knob and turn the Collar so that the measurement for the required hole depth is aligned with the Pointer (C).
- Tighten the Lock Knob to lock the Collar in this position.
Workpiece and Work Area Set Up
- Designate a work area that is clean and well-lit. The work area must not allow access by children or pets to prevent distraction and injury.
- Route the power cord along a safe route to reach the work area without creating a tripping hazard or exposing the power cord to possible damage. The power cord must reach the work area with enough extra length to allow free movement while working.
- Secure loose workpieces using a vise or clamps (not included) to prevent movement while working.
- There must not be objects, such as utility lines, nearby that will present a hazard while working.
- Set the Table height and position so that the drill travel range is sufficient for the workpiece to be drilled.
- Set the drilling depth so that the bit will not contact the table, or align the table so that the hole in its center is in line with the bit.
- Make sure the workpiece is securely clamped. That is, held in a drill vise, or bolted to the table.
WARNING! Do not hold the workpiece with your bare hands while drilling. Serious injury may be caused if the workpiece is flung out of the operator’s hand. - IF THE WORKPIECE IS IRREGULARLY SHAPED and cannot be laid flat on the table, securely block and clamp it. Any tilting, twisting or shifting will result not only in a roughly drilled hole but also increases the chances of damage to the drill.
- FOR FLAT WORK, lay the workpiece on a wooden base and clamp it down firmly against the table to prevent it from turning.
- FOR SMALL WORKPIECES that cannot be clamped to the table, use a drill press vise (not supplied). Clamp or bolt the vise to the table.
- WHEN DRILLING COMPLETELY THROUGH WOOD, position a piece of scrap wood between the workpiece and the table to prevent splintering on the underside of the workpiece as the bit breaks through. Brace one end of the scrap wood against the left side of the column (see Figure H). Securely clamp the other end of the scrap wood to the table.

Maintenance and Servicing
Procedures not specifically explained in this manual must be performed only by a qualified technician.
Warning:
TO PREVENT SERIOUS INJURY FROM ACCIDENTAL OPERATION: Turn the Power Switch of the tool off and unplug the tool from its electrical outlet before performing any procedure in this section.
TO PREVENT SERIOUS INJURY FROM TOOL FAILURE:
Do not use damaged equipment. If abnormal noise or vibration occurs, have the problem corrected before further use.
Cleaning, Maintenance, and Lubrication
- BEFORE EACH USE, inspect the general condition of the tool. Check for:
- loose hardware,
- misalignment or binding of moving parts,
- cracked or broken parts,
- damaged electrical wiring, and
- any other condition that may affect its safe operation.
- AFTER USE, wipe external surfaces of the tool with clean cloth.
WARNING! TO PREVENT SERIOUS INJURY: If the supply cord of this power tool is damaged, it must be replaced only by a qualified service technician.
Belt Inspection and Tensioning
- Examine the belts for cracks, tears in the backing, and other damage.
- Replace a belt if damaged, following the instructions under Installing the Drive Belts.
Troubleshooting
Problem | Possible Causes | Likely Solutions |
| Tool will not start. |
|
|
| Tool operates slowly. | Extension cord too long or wire size too small. | Eliminate use of extension cord. If an extension cord is needed, use one with the proper diameter for its length and load. See Table A |
| Motor runs, but Spindle does not turn. | Belt(s) improperly installed or missing. | Properly install belt(s). |
| Performance decreases over time. |
|
|
| Excessive noise or rattling. |
|
|
| Overheating. |
|
If an extension cord is needed, use one with the proper diameter for its length and load. See Table A |
Parts List and Diagram
PLEASE READ THE FOLLOWING CAREFULLY
THE MANUFACTURER AND/OR DISTRIBUTOR HAS PROVIDED THE PARTS LIST AND ASSEMBLY DIAGRAM IN THIS MANUAL AS A REFERENCE TOOL ONLY. NEITHER THE MANUFACTURER OR DISTRIBUTOR MAKES ANY REPRESENTATION OR WARRANTY OF ANY KIND TO THE BUYER THAT HE OR SHE IS QUALIFIED TO MAKE ANY REPAIRS TO THE PRODUCT, OR THAT HE OR SHE IS QUALIFIED TO REPLACE ANY PARTS OF THE PRODUCT. IN FACT, THE MANUFACTURER AND/OR DISTRIBUTOR EXPRESSLY STATES THAT ALL REPAIRS AND PARTS REPLACEMENTS SHOULD BE UNDERTAKEN BY CERTIFIED AND LICENSED TECHNICIANS, AND NOT BY THE BUYER. THE BUYER ASSUMES ALL RISK AND LIABILITY ARISING OUT OF HIS OR HER REPAIRS TO THE ORIGINAL PRODUCT OR REPLACEMENT PARTS THERETO, OR ARISING OUT OF HIS OR HER INSTALLATION OF REPLACEMENT PARTS THERETO.
Record Product’s Serial Number Here: ____________________
Note: If product has no serial number, record month and year of purchase instead.
Note: Some parts are listed and shown for illustration purposes only, and are not available individually as replacement parts. Specify UPC 193175325174 when ordering parts.
Parts List
Part | Description | Qty |
| 1 | Base | 1 |
| 2 | Flat Washer 12 | 4 |
| 3 | Spring Washer 12 | 4 |
| 4 | Bolt M12×40 | 4 |
| 5 | Column Support | 1 |
| 6 | Set Screw M8×10 | 3 |
| 7 | Column | 1 |
| 8 | Worm Gear | 1 |
| 9 | Set Screw M5×16 | 1 |
| 10 | Table Crank | 1 |
| 11 | Nut M10 | 2 |
| 12 | Handle Grip | 1 |
| 13 | Socket Head Cap Screw M8×90 | 1 |
| 14 | Rack | 1 |
| 15 | Table Support | 1 |
| 16 | Gear | 1 |
| 17 | Axis Pin | 1 |
| 18 | Table Support Lock Handle | 1 |
| 19 | Handle Grip | 1 |
| 20 | Scale Label | 1 |
| 21 | Rivet | 7 |
| 22 | “0” Degree Label | 1 |
| 23 | Work Table | 1 |
| 24 | Sealing Gasket (B) | 1 |
| 25 | Oil Bottle Cap | 2 |
| 26 | Sealing Gasket (A) | 1 |
| 27 | Hollow Connecting Bolt | 1 |
| 28 | Oil Bottle | 2 |
| 29 | Spring Washer 20 | 1 |
| 30 | Bolt M20×50 | 1 |
| 31 | Chuck | 1 |
| 32 | Arbor | 1 |
| 33 | Spindle | 1 |
| 34 | Ball Bearing 6208 | 1 |
| 35 | Thrust Ball Bearing 51108 | 1 |
| 36 | Spindle Sleeve | 1 |
| 37 | Buffer Ring | 1 |
| 38 | Ball Bearing 6206 | 1 |
| 39 | Lock Washer | 1 |
| 40 | Nut M30×1.5Lh | 1 |
| 41 | Retainer 72 | 2 |
| 42 | Ball Bearing 6207 | 2 |
| 43 | Bearing Space Ring | 1 |
| 44 | Spindle Pulley | 1 |
| 45 | Spindle Housing | 1 |
| 46 | Nut M36x1.5 | 1 |
| 47 | V-Belt A-900 | 1 |
| 48 | LED Lamp | 1 |
| 49 | Washer 4 | 5 |
| 50 | Screw M4×8 | 3 |
| 51 | Power Switch For LED Lamp | 1 |
| 52 | Nut M10x1.5 | 1 |
| 53 | Oil Pipe | 1 |
| 54 | Switch Panel | 1 |
| 55 | Tapping Screw St 3.5×10 | 3 |
| 56 | Power Switch | 1 |
| 57 | Screw M5×10 | 8 |
| 58 | Flat Washer 5 | 8 |
| 59 | Junction Box | 1 |
| 60 | Screw M4×8 | 2 |
| 61 | Spring Washer 4 | 2 |
| 62 | Grounding Wire | 2 |
| 63 | Tooth Washer 4 | 2 |
| 64 | Cover Plate | 1 |
| 65 | Pointer | 1 |
| 66 | Hex Socket Screw M8×25 | 2 |
| 67 | Hex Socket Screw M8×25 | 1 |
| 68 | Screw | 1 |
| 69 | Spring Cover | 1 |
| 70 | Nut M12×1.5 | 2 |
| 71 | Switch Panel Of Lamp | 1 |
| 72 | Tension Spring | 1 |
| 73 | Socket Head Cap Screw M6×10 | 4 |
| 74 | Flat Washer 6 | 6 |
| 75 | Oil Bottle Clip | 2 |
| 76 | Rubber Pad | 4 |
| 77 | Nut M4 | 3 |
| 78 | Protective Ring | 1 |
| 79 | Machine Body (Head) | 1 |
| 80 | Elastic Washer 5 | 2 |
| 81 | Retainer Ring 19 | 1 |
| 82 | Jackstay (A) | 1 |
| 83 | Jackstay(B) | 1 |
| 84 | Belt Tension Locking Knob | 2 |
| 85 | Spring Pin8×20 | 2 |
| 86 | Round Pin | 1 |
| 87 | Scale Label | 1 |
| 88 | Fastening Knob | 1 |
| 89 | Dial | 1 |
| 90 | Shaft Pinion | 1 |
| 91 | Collar | 1 |
| 92 | Spring Pin 5×45 | 1 |
| 93 | Spindle Feed Handle Bar | 3 |
| 94 | Spindle Feed Handle Seat | 1 |
| 95 | Belt Tension Lever Handle | 1 |
| 96 | Belt Tension Lever | 1 |
| 97 | Pull Pin | 1 |
| 98 | Bolt M8×18 | 1 |
| 99 | Cam | 1 |
| 100 | Bolt M8×25 | 4 |
| 101 | Flat Gasket 8 | 8 |
| 102 | Motor Base Plate | 1 |
| 103 | Nut M12 | 2 |
| 104 | Motor | 1 |
| 105 | Elastic Washer 8 | 4 |
| 106 | Nut M8 | 4 |
| 107 | Motor Pulley | 1 |
| 108 | Flat Key 6×30 | 1 |
| 109 | Set Screw M6×10 | 2 |
| 110 | Junction Plate | 1 |
| 111 | Idler Pivot Shaft | 1 |
| 112 | Idler Pulley | 1 |
| 113 | Pulley Bushing | 1 |
| 114 | Ball Bearing 6202 | 2 |
| 115 | Retainer Ring 35 | 1 |
| 116 | V-Belt A-745 | 1 |
| 117 | Screw M4×10 | 3 |
| 118 | Wire Clamp(A) | 3 |
| 119 | Pulley Cover | 1 |
| 120 | Cross-Shape Screw M6×10 | 3 |
| 121 | Wire Clamp(B) | 2 |
| 122 | Plug Cord | 1 |
| 123 | Protective Ring | 1 |
| 124 | Pulley Cover Knob | 1 |
| 125 | Pan-Head Screw | 1 |
Assembly Diagram

Limited 90 Day Warranty
Harbor Freight Tools Co. makes every effort to assure that its products meet high quality and durability standards, and warrants to the original purchaser that this product is free from defects in materials and workmanship for the period of 90 days from the date of purchase. This warranty does not apply to damage due directly or indirectly, to misuse, abuse, negligence or accidents, repairs or alterations outside our facilities, criminal activity, improper installation, normal wear and tear, or to lack of maintenance. We shall in no event be liable for death, injuries to persons or property, or for incidental, contingent, special or consequential damages arising from the use of our product. Some states do not allow the exclusion or limitation of incidental or consequential damages, so the above limitation of exclusion may not apply to you. THIS WARRANTY IS EXPRESSLY IN LIEU OF ALL OTHER WARRANTIES, EXPRESS OR IMPLIED, INCLUDING THE WARRANTIES OF MERCHANTABILITY AND FITNESS.
To take advantage of this warranty, the product or part must be returned to us with transportation charges prepaid. Proof of purchase date and an explanation of the complaint must accompany the merchandise. If our inspection verifies the defect, we will either repair or replace the product at our election or we may elect to refund the purchase price if we cannot readily and quickly provide you with a replacement. We will return repaired products at our expense, but if we determine there is no defect, or that the defect resulted from causes not within the scope of our warranty, then you must bear the cost of returning the product.
This warranty gives you specific legal rights and you may also have other rights which vary from state to state.
Costumer Support
When unpacking, make sure that the product is intact and undamaged. If any parts are missing or broken, please call 1-888-866-5797 as soon as possible.
Copyright© 2022 by Harbor Freight Tools®. All rights reserved. No portion of this manual or any artwork contained herein may be reproduced in any shape or form without the express written consent of Harbor Freight Tools. Diagrams within this manual may not be drawn proportionally. Due to continuing improvements, actual product may differ slightly from the product described herein. Tools required for assembly and service may not be included.
Visit our website at: http://www.harborfreight.com
Email our technical support at: [email protected]
26677 Agoura Road
Calabasas, CA 91302
1-888-866-5797



























