9027939 Drill Press Mortising Attachment
User Manual
Please read and understand all instructions before use. Retain this manual for future reference.
SPECIFICATIONS
| Material | Cast iron/#45 steel |
| Drilling and mortising machines | Drilling and mortising machines |
| Includes | (4) Square hole drill bits, (4) bushings, (1) fixed plate, (2) adjustable handles, (1) bracket seat, (1) clip, (1) horseshoe frame, (2) connection hooks and (1) connection shaft. |
| Square drill bit sizes | 1/4. 3/8. 1/2. 5/8 in. |
| Bushing sizes | 52.5, 55, 58, 60 mm |
HAZARD DEFINITIONS
Please familiarize yourself with the hazard notices found in this manual. A notice is an alert that there is a possibility of property damage, injury or death if certain instructions are not followed.
DANGER!
This notice indicates an immediate and specific hazard that will result in severe personal injury or death if the proper precautions are not taken.
WARNING!
This notice indicates a specific hazard or unsafe practice that could result in severe personal injury or death if the proper precautions are not taken.
CAUTION!
This notice indicates a potentially hazardous situation that may result in minor or moderate injury if proper practices are not taken.
NOTICE!
This notice indicates that a specific hazard or unsafe practice will result in equipment or property damage. but not personal injury.
INTRODUCTION
Featuring cast iron and steel construction, this collection of drill press mortising machine attachments is perfect for drilling square and rectangular holes.
SAFETY
WARNING! Read and understand all instructions before using this tool. The operator must follow basic precautions to reduce the risk of personal injury and/or damage to the equipment.
Keep this manual for safety warnings, precautions, operating or inspection and maintenance instructions.
WORK AREA
- Operate in a safe work environment. Keep your work area clean, well-lit and free of distractions. Place lights so you are not working in a shadow.
- Keep anyone not wearing the appropriate safety equipment away from the work area.
- Store unused tools properly in a safe and dry location to prevent rust or damage. Lock tools away and keep out of the reach of children.
PERSONAL SAFETY
WARNING! Wear personal protective equipment approved by the Canadian Standards Association (CSA) or American National Standards Institute (ANSI).
PERSONAL PROTECTIVE EQUIPMENT
- Always wear impact safety goggles that provide front and side protection for the eyes. Eye protection equipment should comply with CSA Z94.3-07 or ANSI Z871 standards based on the type of work performed.
- Wear the appropriate type of full-face shield in addition to safety goggles, as the work can create chips, abrasive or particulate matter.
- Do not wear gloves when operating a tool that can snag the material and pull the hand into the tool.
- Wear protective clothing designed for the work environment and tools.
- Non-skid footwear is recommended to maintain footing and balance in the work environment.
- When attached to a drill press, the tool can cause hearing damage. Wear hearing protection gear with an appropriate Noise Reduction Rating to withstand the decibel levels.
PERSONAL PRECAUTIONS
Control the tool, personal movement, and the work environment to avoid personal injury or damage to the tool.
- Do not operate any tool when tired or under the influence of drugs, alcohol, or medications.
- Avoid wearing clothes or jewelry that can become entangled with the moving parts of a tool. Keep long hair covered or bound.
- Do not overreach when operating a tool. Proper footing and balance enable better control in unexpected situations.
SPECIFIC SAFETY PRECAUTIONS
WARNING! DO NOT let comfort or familiarity with the product (gained from repeated use) replace strict adherence to the tool safety rules. If you use this tool unsafely or incorrectly, you can suffer serious personal injury.
- Use the correct tool for the job. This tool was designed for a specific Do not modify or alter this tool or use it for an unintended purpose.
- Do not use the tool if any parts are damaged broken or misplaced. Repair or replace the parts.
UNPACKING
WARNING! Do not operate the tool if any part is missing. Replace the missing part before operating. Failure to do so could result in a malfunction and personal injury.
Remove the parts and accessories from the packaging and inspect for damage. Make sure that all items in the contents are included
| •(4) Square hole drill bits | •(1) Clip |
| •(4) bushings | •(1) Horseshoe frame |
| •(1) Fixed plate | •(2) Connection hooks |
| •(2) Adjustable handles | •(1) Connection shaft. |
| •(1) Bracket seat | |
ASSEMBLY & INSTALLATION
Numbered references in parenthesis (#1) refer to the included Parts List.
MOUNTING CHISEL HOLDER ON QUILL
- Mount the chisel holder (#1) over the base of the quill. The thumb screw in chisel holder should face away from the drill press column.
- Tighten the nut (#3) and hex screw (#2) enough to hold the attachment from shifting.
INSTALLING THE BIT AND CHISEL
- Insert the bit through the chisel and into the key chuck.
- Clamp the chisel at such height that the upper face of its shoulder remains about 1/32 in. below the holder and tighten the thumb screw lightly.
- Push the bit up through the chisel as far as it will go and fasten in the chuck securely.
- Release the thumb screw and push the chisel upward to take up between 1/32 in. space previously left. Then tighten the thumb screw to secure. This method assures proper clearance between the cutting lips and the bit and the point of the chisel.
MOUNTING DRILL PRESS TABLE
NOTICE! Consider installing a 1/2″ in. plywood panel on the drill press table for optimum results. The plywood panel prevents damage to the morning chisel and increases table size.
- To secure plywood, insert a 1/2″ in. plywood panel under the mortising fence.
- Drill mounting holes in the plywood to match the slots in the table.
- Insert the square head bolts (#12) through the drilled hole in the plywood, the fence, and the hold-down base. Use washers (#7) and wing nuts (#6) to secure the table on the top and bottom
MORTISING CHISEL AND BIT COMBINATION
This attachment package provides four sizes of mortising chisels and corresponding bits. Reference the chart below to identify the correct combination of chisel and bit.
Please note that no bushings are required for this attachment. The key chuck has a capacity of 5/8″ in. and the maximum size of mortising bit shank is 5/8′ in. which can be held securely in the chuck without a bushing.
CAUTION! Ensure all chisels and bits are sharp. Failure to do so could result in excessive heat damage to the tools and possible injury.
MORTISING CHISELS WITH 5/8” IN. X 1 1/2” IN. SHANK
MORTISING CHISELS BITS
| SIZE | DEPTH CAPACITY | SIZE |
| 1/4″ Sq. | 1 – 7/8′ | 1/4″ bit x 3/16′ |
| 318″ sq. | 3′ | 3/8′ bit x 19/64′ |
| 1/2″ sq. | 3′ | VT bit x 19/64″ |
CARE & MAINTENANCE
- Maintain the tool with care. A tool in good condition is efficient, easier to control, and will have fewer problems.
- Inspect the tool components periodically. Repair or replace damaged or worn components. Only use identical replacement parts when servicing.
- Follow instructions for lubricating and changing accessories.
- Only use accessories intended for use with this tool.
- Maintain the tool’s labels and nameplates. These carry important information. If unreadable or missing, contact Princess Auto Ltd. for replacements.
WARNING! Only qualified service personnel should repair the tool. An improperly repaired tool may present a hazard to the user and/or others.
DISPOSAL
Recycle a tool damaged beyond repair at the appropriate facility.
Contact your local municipality for a list of disposal facilities or by-laws for electronic devices. batteries. oil or other toxic liquids.
IMPORTANT! DO NOT pollute the environment by allowing uncontrolled discharge of waste oil.
TROUBLESHOOTING
Visit a Princess Auto Ltd. location for a solution if the tool does not function properly or parts are missing. If unable to do so. have a qualified technician service the tool.
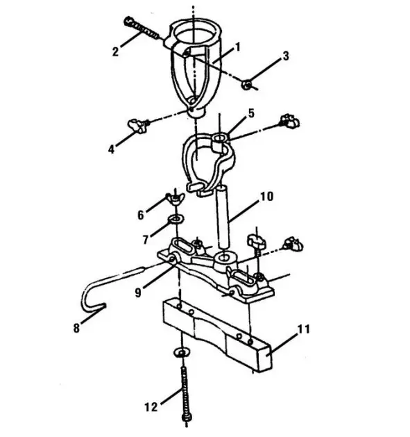
PARTS BREAKDOWN

PARTS LIST
| # | DESCRIPTION | QTY |
| 1 | Chisel holder | 1 |
| 2 | 5/16 – 18 x 2 ½ in. hex head screw | 1 |
| 3 | 5/16 – 18 hex nut | 1 |
| 4 | Knob with threaded stud | 4 |
| 5 | Arm | 1 |
| 6 | 5/16 – 18 wing nut | 2 |
| 7 | Washer | 4 |
| 8 | Curved rod | 2 |
| 9 | Rod holder | 1 |
| 10 | Steel rod | 1 |
| 11 | Fence | 1 |
| 12 | 5/16 – 18 x 4 square 2-head screw | 2 |
For technical questions call 1-800-665-8685


















