WEN 4227 17-INCH 12-SPEED DRILL PRESS Instruction Manual
INTRODUCTION
Thanks for purchasing the WEN Drill Press. We know you are excited to put your tool to work, but first, please take a moment to read through the manual. Safe operation of this tool requires that you read and understand this operator’s manual and all the labels affixed to the tool. This manual provides information regarding potential safety concerns, as well as helpful assembly and operating instructions for your tool.
SAFETY ALERT SYMBOL: Indicates danger, warning, or caution. The safety symbols and the explanations with them deserve your careful attention and understanding. Always follow the safety precautions to reduce the risk of fire, electric shock or personal injury. However, please note that these instructions and warnings are not substitutes for proper accident prevention measures.
NOTE: The following safety information is not meant to cover all possible conditions and situations that may occur. WEN reserves the right to change this product and specifications at any time without prior notice.
At WEN, we are continuously improving our products. If you find that your tool does not exactly match this manual, please visit wenproducts.com for the most up-to-date manual or contact our customer service at 1-800-232-1195.
Keep this manual available to all users during the entire life of the tool and review it frequently to maximize safety for both yourself and others.
SPECIFICATIONS
| Model Number | 4227, 4227T |
| Motor | 120V, 60Hz, 13A |
| Speed | 150 – 3150 RPM |
| Chuck Taper | JT3 |
| Spindle Taper | MT3 |
| Chuck Capacity | 1/8 – 5/8 in. |
| Stroke | 4-3/4 in. |
| Swing | 17 in. |
| Table Tilt | 0° to 45° left and right |
| Laser | Class II, 650nm, 1mW |
| Weight | 214 lbs. |
GENERAL SAFETY RULES
WARNING! Read all safety warnings and all instructions. Failure to follow the warnings and instructions may result in electric shock, fire and/or serious injury.
Safety is a combination of common sense, staying alert and knowing how your item works. The term “power tool” in the warnings refers to your mains-operated (corded) power tool or battery operated (cordless) power tool.
SAVE THESE SAFETY INSTRUCTIONS.
WORK AREA SAFETY
- Keep work area clean and well lit. Cluttered or dark areas invite accidents.
- Do not operate power tools in explosive atmospheres, such as in the presence of flammable liquids, gases or dust. Power tools create sparks which may ignite the dust or fumes.
- Keep children and bystanders away while operating a power tool. Distractions can cause you to lose control.
ELECTRICAL SAFETY
- Power tool plugs must match the outlet. Never modify the plug in any way. Do not use any adapter plugs with earthed (grounded) power tools. Unmodified plugs and matching outlets will reduce risk of electric shock.
- Avoid body contact with earthed or grounded surfaces such as pipes, radiators, ranges and refrigerators.
There is an increased risk of electric shock if your body is earthed or grounded. - Do not expose power tools to rain or wet conditions.
Water entering a power tool will increase the risk of electric shock. - Do not abuse the cord. Never use the cord for carrying, pulling or unplugging the power tool. Keep cord away from heat, oil, sharp edges or moving parts.
Damaged or entangled cords increase the risk of electric shock. - When operating a power tool outdoors, use an extension cord suitable for outdoor use. Use of a cord suitable for outdoor use reduces the risk of electric shock.
- If operating a power tool in a damp location is unavoidable, use a ground fault circuit interrupter (GFCI) protected supply. Use of a GFCI reduces the risk of electric shock.
PERSONAL SAFETY
- Stay alert, watch what you are doing and use common sense when operating a power tool. Do not use a power tool while you are tired or under the influence of drugs, alcohol or medication. A moment of inattention while operating power tools may result in serious personal injury.
- Use personal protective equipment. Always wear eye protection. Protective equipment such as a respiratory mask, non-skid safety shoes and hearing protection used for appropriate conditions will reduce the risk of personal injury.
- Prevent unintentional starting. Ensure the switch is in the off-position before connecting to power source and/or battery pack, picking up or carrying the tool.
Carrying power tools with your finger on the switch or energizing power tools that have the switch on invites accidents. - Remove any adjusting key or wrench before turning the power tool on. A wrench or a key left attached to a rotating part of the power tool may result in personal injury.
- Do not overreach. Keep proper footing and balance at all times. This enables better control of the power tool in unexpected situations.
- Dress properly. Do not wear loose clothing or jewelry. Keep your hair and clothing away from moving parts. Loose clothes, jewelry or long hair can be caught in moving parts.
- If devices are provided for the connection of dust extraction and collection facilities, ensure these are connected and properly used. Use of dust collection can reduce dust-related hazards.
POWER TOOL USE AND CARE
- Do not force the power tool. Use the correct power tool for your application. The correct power tool will do the job better and safer at the rate for which it was designed.
- Do not use the power tool if the switch does not turn it on and off. Any power tool that cannot be controlled with the switch is dangerous and must be repaired.
- Disconnect the plug from the power source and/or the battery pack from the power tool before making any adjustments, changing accessories, or storing power tools. Such preventive safety measures reduce the risk of starting the power tool accidentally.
- Store idle power tools out of the reach of children and do not allow persons unfamiliar with the power tool or these instructions to operate the power tool.
Power tools are dangerous in the hands of untrained users. - Maintain power tools. Check for misalignment or binding of moving parts, breakage of parts and any other condition that may affect the power tool’s operation. If damaged, have the power tool repaired before use. Many accidents are caused by poorly maintained power tools.
- Keep cutting tools sharp and clean. Properly maintained cutting tools with sharp cutting edges are less likely to bind and are easier to control.
- Use the power tool, accessories and tool bits, etc. in accordance with these instructions, taking into account the working conditions and the work to be performed. Use of the power tool for operations different from those intended could result in a hazardous situation.
- Use clamps to secure your workpiece to a stable surface. Holding a workpiece by hand or using your body to support it may lead to loss of control.
- KEEP GUARDS IN PLACE and in working order
SERVICE
- Have your power tool serviced by a qualified repair person using only identical replacement parts. This will ensure that the safety of the power tool is maintained.
CALIFORNIA PROPOSITION 65 WARNING
Some dust created by power sanding, sawing, grinding, drilling, and other construction activities may contain chemicals, including lead, known to the State of California to cause cancer, birth defects, or other reproductive harm. Wash hands after handling. Some examples of these chemicals are:
- Lead from lead-based paints.
- Crystalline silica from bricks, cement, and other masonry products.
- Arsenic and chromium from chemically treated lumber.
Your risk from these exposures varies depending on how often you do this type of work. To reduce your exposure to these chemicals, work in a well-ventilated area with approved safety equipment such as dust masks specially designed to filter out microscopic particles
DRILL PRESS SAFETY WARNINGS
WARNING! Do not operate the power tool until you have read and understood the following instructions and the warning labels.
DRILL PRESS SAFETY
- TOOL PURPOSE. This drill press is designed to drill through metal and wood. Drilling through other materials could result in fire, injury, or damage to the workpiece. Using machine for any other purpose other than it’s intended purpose may result in serious injuries, machine damage and voiding of warranty.
- MACHINE MOUNTING. For operation safety, the drill press must be securely mounted onto a flat and stable surface.
- PERSONAL SAFETY.
- Always wear ANSI Z87.1-approved glasses with side shields, hearing protection and a dust mask.
- Do not wear loose clothing or jewelry, as they might get drawn in by the tool. Tie back long hair.
- DO NOT wear gloves while operating this machine.
- ELECTRIC CORDS. Keep cords away from heat, oil, sharp edges, and moving parts of the tool. Have an electrician replace or repair damaged or worn cords immediately.
- TOOL & ACCESSORIES INSPECTION.
Before operation, check the tool and accessories for any damage or missing parts. Do not use the tool if any part is missing or damaged. Make sure all adjustments are correct and all connections are tight. Keep all guards in place. - DRILLING ACCESSORIES.
- Make sure the drill bit is not damaged before use; only use undamaged drill bits
- Make sure the drill bit is securely locked in the chuck before turning ON.
- Make sure the chuck key is removed from the chuck before turning ON.
- Use clamps or a vise (not included) to secure a workpiece to the table. This will prevent the workpiece from rotating with the drill bit.
- Make sure the table lock is tightened before starting the drill press.
- WORKPIECE REQUIREMENTS.
- Only stand workpieces sturdy enough to withstand the force of the drill bit.
- Inspect the workpiece for imperfections, nails, staples, etc. before drilling. Never drill stock that has questionable imperfections or embedded foreign objects.
- Do not drill materials without a flat surface unless a suitable support is used (clamp or vise).
- PREVENTING ACCIDENTAL STARTING.
Make sure the power switch is in the OFF position prior to plugging in the machine. Always make sure the power switch is in the OFF position and the machine is unplugged when doing any cleaning, assembly, setup operations, or when not in use. - Do not operate this tool until it is completely assembled and installed according to the instructions.
- Remove scrap pieces and other objects from the table before turning ON the drill press.
- DRILLING THE WORKPIECE.
- Allow spindle to reach full speed before drilling the workpiece.
- Never start the machine with the drill bit pressed against the workpiece.
- Adjust the table or depth stop to avoid drilling into the table.
- Set the drill press to the speed that is appropriate for the material being drilled.
- Do not touch moving pieces. Keep hands away from the drill bit during operation. If cleaning is necessary, turn off the machine and use a brush to remove sawdust and chips instead of your hands.
- Never perform layout, assembly or set-up work on the table while the machine is ON.
damaged, or failed parts using only identical replacement parts before resuming operation. - After turning off the drill press, wait until the spindle comes to a complete stop before touching the workpiece. Always turn the drill OFF before removing scrap from the table.
- Before leaving the machine, always turn OFF and unplug the machine, remove the drill bit, and clean the table. Turn Off and unplug the machine before cleaning, making adjustments or changing drill bits. Accidental start-ups may occur if the tool is plugged in during an accessory change or adjustment.
- CLEANING. Never use solvents to clean plastic parts. Solvents could dissolve or otherwise damage the material. Use only a soft damp cloth to clean plastic parts.
- REPLACEMENTS. Should any component of your drill press be missing/damaged or fail in any way, shut OFF the switch and remove the plug from power supply outlet. Replace the missing, damaged, or failed parts using only identical replacement parts before resuming operation.
ELECTRICAL INFORMATION
GROUNDING INSTRUCTIONS
In the event of a malfunction or breakdown, grounding provides the path of least resistance for an electric current and reduces the risk of electric shock. This tool is equipped with an electric cord that has an equipment grounding conductor and a grounding plug. The plug MUST be plugged into a matching outlet that is properly installed and grounded in accordance with ALL local codes and ordinances.
- Do not modify the plug provided. If it will not fit the outlet, have the proper outlet installed by a licensed electrician.
- Improper connection of the equipment grounding conductor can result in electric shock. The conductor with the green insulation (with or without yellow stripes) is the equipment grounding conductor. If repair or replacement of the electric cord or plug is necessary, DO NOT connect the equipment grounding conductor to a live terminal.
- Check with a licensed electrician or service personnel if you do not completely understand the grounding instructions or whether the tool is properly grounded.
- Use only three-wire extension cords that have three-pronged plugs and outlets that accept the tool’s plug. Repair or replace a damaged or worn cord immediately.

CAUTION! In all cases, make certain the outlet in question is properly grounded. If you are not sure, have a licensed electrician check the outlet.
GUIDELINES AND RECOMMENDATIONS FOR EXTENSION CORDS
When using an extension cord, be sure to use one heavy enough to carry the current your product will draw. An undersized cord will cause a drop in line voltage resulting in loss of power and overheating.
The table below shows the correct size to be used according to cord length and ampere rating. When in doubt, use a heavier cord. The smaller the gauge number, the heavier the cord
| AMPERAGE | REQUIRED GAUGE FOR EXTENSION CORDS | |||
| 25 ft. | 50 ft. | 100 ft. | 150 ft. | |
| 13A | 14 gauge | 12 gauge | Not Recommended | Not Recommended |
- Examine extension cord before use. Make sure your extension cord is properly wired and in good condition.
Always replace a damaged extension cord or have it repaired by a qualified person before using it. - Do not abuse extension cord. Do not pull on cord to disconnect from receptacle; always disconnect by pulling on plug. Disconnect the extension cord from the receptacle before disconnecting the product from the extension cord.
Protect your extension cords from sharp objects, excessive heat and damp/wet areas. - Use a separate electrical circuit for your tool. This circuit must not be less than a 12-gauge wire and should be protected with a 15A time-delayed fuse. Before connecting the motor to the power line, make sure the switch is in the OFF position and the electric current is rated the same as the current stamped on the motor nameplate. Running at a lower voltage will damage the motor.
UNPACKING & PACKING LIST
UNPACKING
With the help of a friend or trustworthy foe, such as one of your in-laws, carefully remove the drill press from the packaging and place it on a sturdy, flat surface. Make sure to take out all contents and accessories. Do not discard the packaging until everything is removed. Check the packing list below to make sure you have all of the parts and accessories. If any part is missing or broken, please contact customer service at 1 800-232-1195 (M-F 8-5 CST), or email [email protected].
To protect the drill press from moisture, a protective coating has been applied to the machine’s surfaces. Remove this coating with a soft cloth moistened with kerosene or WD-40®. Do not use acetone, gasoline, or lacquer thinner to clean. Apply a coat of good paste wax to the table and all machined surfaces. Wipe all parts with a clean dry cloth.

KNOW YOUR DRILL PRESS

- A. Belt Tension Adjustment Handle
- B. Work Light
- C. Laser and Work Light Switches
- D. Spring Housing
- C. Column Collar
- F. Table Locking Handle
- G. Bevel Scale
- H. Pulley Cover
- I. Chuck Key
- J. Power Switch
- K. Depth Adjustment Scale
- L. Chuck
- M. Feed Handles
- N. Table
- O. Motor
- P. Motor Locking Wing Screw
- Q. Column
- R. Table Adjustment Crank
- S. Rack
- T. Base
- U. Bevel Lock Bolt
ASSEMBLY & ADJUSTMENTS
WARNING: If any part is missing or damaged, do not plug the drill press in until the missing or damaged part is repaired or replaced.
ASSEMBLY
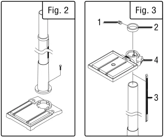
- Position the base on the floor. Attach the column to the base using four M10x30 hex head bolts (Fig. 2).

- Loosen the set screw (Fig. 3 – 1) and remove the column collar (Fig. 3 – 2) and gear rack (Fig. 3 – 3) from the column. With the help of a friend, place the rack inside the table bracket before sliding the table assembly (Fig. 3 – 4) with the rack down onto the column. Place the column collar down over the rack after positioning the rack and the table in place. Tighten the collar’s set screw with a hex wrench to hold the rack into position.
- Install the table adjustment crank (Fig. 4 – 1). Secure it in place by tightening the set screw (Fig. 4 – 2). This handle will control the height of the drill press table.

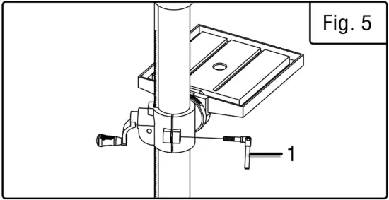
- Screw the table locking handle into position (Fig. 5 – 1).
Tightening this handle prevents the table from swivelling and having its height adjusted.
- Install the head assembly with the help of a friend by carefully lifting the head above the column. Slide it onto the column, making sure the neck goes down as far as possible (Fig. 6).

- Align the head with the base so they are parallel with one another and facing the same direction. Tighten the set screw (Fig. 7 – 1).
- Install the feed handles (Fig. 8 – 1) into place using three M8x12mm socket head screws (Fig. 8 – 2).
- Assemble the hub cover (Fig. 9 – 1) and fasten it in place with a M6x16 flat head screw (Fig. 9 – 2). Attach the three handle caps (Fig. 10 -1).

- To install the LED light assembly, connect the lamp plug contact (Fig. 11 – 2) to the power source plug contact (Fig. 11 – 3) within the drill’s head.
- Use four pan head screws (Fig. 11 – 1) to install the lamp assembly on the drill press head. Flip the LED lamp switch (Fig. 11 – 4) to check if the lamp is working properly.

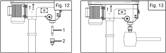
INSTALLING THE CHUCK
Before installing the chuck and arbor to the drill press head, clean the surfaces with a non-petroleum based product such as alcohol or lacquer thinner. Any oil or grease must be removed, otherwise the chuck runs the risk of coming loose during operation.
- Push the arbor (Fig. 12 – 1) onto the spindle.
- Push the chuck (Fig. 12 – 2) onto the arbor.
- Using a wood mallet (not included), firmly tap the chuck upward into position on the spindle shaft (Fig. 13).

REMOVING THE CHUCK (FIG. 14)

- Turn the feed handles to lower the chuck to the lowest position.
- Slide the drift key into the opening in the quill. Tap on the drift key using a hammer (not included). The chuck and arbor will drop out.
NOTE: To avoid possible damage to the drill or chuck, be prepared to catch the chuck as it falls. As a safeguard, the table can be raised to its maximum height as a backup in case you miss the falling chuck.
ADJUSTMENTS
To adjust the height of the drill press table, loosen the table locking handle (Fig. 15 – 2) and turn the table adjustment crank (Fig. 15 – 1).

To bevel the table in either direction, loosen the hex bolt located underneath the table (Fig. 16 – 1). Bevel the table in either direction (Fig. 17). Once the desired position has been achieved, retighten the hex bolt (Fig. 16 – 1).

To swing the table around the column, loosen the locking handle (Fig. 15 – 2) and swing the table and the rack into the desired position (Fig. 18). Retighten the table locking handle once the desired position has been reached.
FEED DEPTH ADJUSTMENT
Turn the depth scale ring to the desired depth (Fig. 19 – 1). Lock the scale ring in place with the depth knob (Fig. 19 – 2). The spindle will now stop after traveling the selected distance.

SPEED ADJUSTMENT (FIG. 20 & 21)
This drill press has 12 speeds. The speeds can be changed by changing the belt locations on the motor pulleys as shown in Fig. 21.

To change the locations on the pulleys, open the belt cover. Loosen the wing screw (Fig. 20 – 1) on the motor support plate. Turn the belt tension adjustment handle (Fig. 20 – 2) to loosen the belt tension. Then change the belt’s location to the desired speed.
QUILL SPRING ADJUSTMENT
The quill return spring may need adjustment if the quill starts returning too slowly or rapidly. Make sure to wear gloves during quill spindle adjustments to help prevent injuries from sudden and rapid disengagement of the spring housing.
- Loosen the screw and nut (Fig. 22 – 1 and 2), making sure that the spring housing (Fig. 22 – 3) remains engaged with the head casting.
- While firmly holding the spring housing, pull out the housing and rotate it (counterclockwise to increase or clockwise to decrease the spring tension) until the set screw (Fig. 22 – 4) becomes engaged with the next notch on the spring housing. Turn the nut (Fig. 22 – 2) until it contacts the spring housing. Tighten the screw (Fig. 22 – 1) against the nut to hold the housing in place.


| SPINDLE SPEED | 150 RPM – A4 | 480 RPM – B3 | 1600 RPM – B1 |
| 240 RPM – B4 | 520 RPM – A2 | 1700 RPM – D2 | |
| 290 RPM – A3 | 960 RPM – D3 | 2300 RPM – C1 | |
| 350 RPM – C4 | 1240 RPM – C2 | 3150 RPM – D1 |
RECOMMENDED SPEED
FOR DRILL SIZE & MATERIAL
| SPEED RANGE RPM | WOOD | ALUM ZINC BRASS | IRON STEEL | |||
| in. | mm | in. | mm | in. | mm | |
| 3150 | 3/39 | 0.5 | 7/32 | 5.6 | 3/32 | 2.4 |
| 2300 | 5/8 | 16.0 | 11/32 | 8.75 | 5/32 | 4.0 |
| 1600 | 7/8 | 22.0 | 15/32 | 12.0 | 1/4 | 6.4 |
| 960 | 1-1/4 | 31.75 | 11/16 | 17.5 | 3/8 | 9.5 |
| 520 | 1-5/8 | 41.4 | 3/4 | 19.0 | 1/2 | 12.5 |
INSTALLING A DRILL BIT
- Place the chuck key (Fig. 23 – 1) into the side keyhole of the chuck (Fig. 23 – 2), meshing the key with the gear teeth.

- Turn chuck key counterclockwise to open the chuck jaws.
- Insert a drill bit into the chuck so the chuck jaws grip as much of
the bit’s shank as possible. - Center the drill bit in the chuck jaws before the final tightening of
the chuck. - Tighten the chuck jaws using the chuck key to ensure that the drill bit will not slip while drilling. Tighten the jaws using all three keyholes of the chuck.
POSITION THE TABLE AND WORKPIECE
Always place a piece of backup material (wood, plywood, etc.) on the table underneath the workpiece . This will prevent splintering or blowout on the underside of the workpiece as the drill bit breaks through.
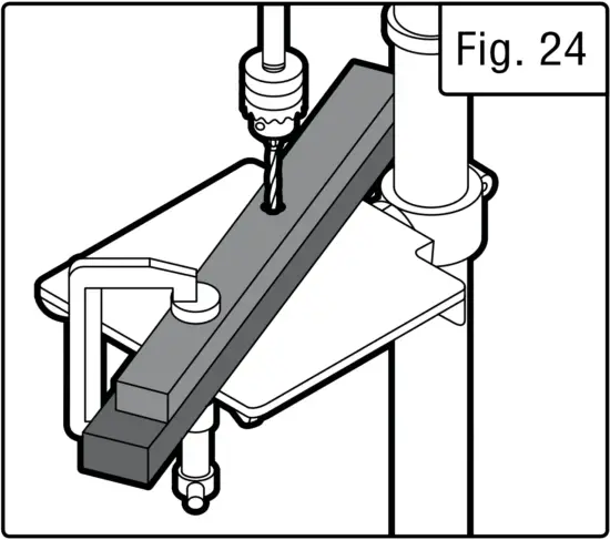
To keep the material from spinning out of control, it must contact the left side of the column, or be clamped (not included) to the table.
To prevent the workpiece or back-up material from spinning or rotating, you MUST position it against the left side of the column (Fig. 24).

NOTE: For small workpieces that cannot be clamped to the table, use a drill press vise (not included).
The vise must be clamped or bolted to the table to avoid injury.
GENERAL DRILLING GUIDELINES – DRILLING A HOLE
WARNING: To prevent the workpiece and the backup material from slipping from your hand while drilling, position the workpiece and backup material to the left side of the column. If the workpiece and the backup material are not long enough to reach the column, clamp the workpiece and backup material to the table. Failure to do this could result in personal injury.
- Mark where you want to drill the workpiece by using a center punch or a sharp nail. Turn ON the laser to mark your drilling point also.
- Before turning the drill press ON, turn the feed handles to bring the drill bit down. Line the drill bit tip up with the mark. Clamp the workpiece in place.
- Turn ON the drill press and pull down on the feed handles with the appropriate force needed to allow the drill bit to drill the material.
- It is good practice to touch the bit to the surface before fully committing to the cut to mark the surface of your work piece. This helps ensure a straighter cut/hole while maximizing accuracy.
- Make sure to routinely retract the bit to remove shavings and wood chips from the hole in order to prevent the drill bit from binding.
NOTE: Feeding too slowly might cause the drill bit to turn in the chuck. Feeding too rapidly might stop the motor, cause the belt to slip, force the workpiece loose, or break the drill bit. Practice with scrap material to get the feel of the machine before attempting to do any drilling operation.
USING THE LASER GUIDE
WARNING: Do not stare directly at the laser beam. Please observe all safety rules.
- Never aim the beam at a person or an object other than the workpiece.
- Do not project the laser beam into the eyes of others.
- Always make sure the laser beam is aimed at a workpiece that does not possess reflective surfaces, as the laser beam could project into your eyes or the eyes of others.
The laser guide should be adjusted prior to operation. To adjust the laser guide:
- Mark an “X” on a piece of scrap wood.
- Insert a small drill bit into the chuck and align its tip to the intersection of the lines of the “X.”
- Secure the board to the table.
- Turn on the laser switch and verify that the laser lines align with the “X” on the workpiece.
- If the laser lines don’t align, loosen the set screws (Fig. 25 – 1) on each side of the head and rotate the laser guides (Fig. 25 – 2) until the lines meet in the center of the “X.” Retighten the lock knobs to secure it in place.

ANGULAR “PLAY” OF THE SPINDLE (FIG. 27)

Move the spindle to the lowest downward position and hold in place. Try to make the spindle revolve around its axis while also moving it with a side motion. If there is too much “play”, proceed as follows:
- Loosen the lock nut.
- Without obstructing the upward and downward motion of the spindle, turn the screw clockwise to eliminate the “play.” Note: A little bit of “play” is normal.
- Tighten the lock nut
OPERATION
DRILLING SPEEDS
There are a few important factors to keep in mind when determining the best drilling speed: material type, hole size, drill bit or cutter type, and desired quality level. Smaller drill bits require greater speed than larger drill bits. Softer materials require greater speed than harder materials. See page 14 for recommended speeds for particular materials.
DRILLING METAL
- Use metal-piercing twist drill bits.
- It is always necessary to lubricate the tip of the drill with oil to prevent overheating of the drill bit.
- All metal workpieces should be clamped down securely. Any tilting, twisting, or shifting causes a rough drill hole, and increases the potential of drill bit breakage.
- Never hold metal workpiece with your bare hands. The cutting edge of drill bit may seize workpiece and throw it, causing serious injury. The drill bit will break if the metal piece suddenly hits the column.
- If the metal is flat, clamp a piece of wood under it to prevent turning. If it cannot be laid flat on the table, then it should be blocked and clamped.
DRILLING WOOD
- Brad point bits are preferred. Metal piercing twist bits may be used on wood.
- Do not use auger bits. Auger bits turn so rapidly that they can lift the workpiece off of the table and whirl it around.
- Always protect the drill bit by positioning the table so that the drill bit will enter the center hole when drilling through the workpiece.
- To prevent splintering, feed the drill bit slowly right as the bit is about to cut through to the backside of the workpiece.
- To reduce splintering and protect the point of the bit, use scrap wood as a backing or a base block under the workpiece.
FEEDING THE DRILL BIT
- Pull down on the feed handles with only enough force to allow the drill bit to cut.
- Feeding too rapidly might stall the motor, cause the belt to slip, damage the workpiece, or break the drill bit.
- Feeding too slowly will cause the drill bit to heat up and burn the workpiece.
MAINTENANCE
WARNING: For your safety, turn the switch off and remove the plug from the power supply before maintaining or lubricating the drill press.
Vacuum sawdust or metal shavings that accumulate in and on the motor, pulley housing, table, and work surface.
Apply a light coat of paste wax to the column and table to help keep these surfaces clean and rust-free.
The ball bearings in the spindle and the V-belt pulley assembly are greased and permanently sealed.
Pull the spindle down and oil the spindle sleeve moderately every three months.
Lubricate the table bracket and locking knobs if they become difficult to use.
CAUTION: All servicing of the drill press should be performed by a qualified service technician.
TROUBLESHOOTING
| PROBLEM | CAUSES | SOLUTIONS |
| Noisy operation |
|
|
| The drill bit burns or smokes |
|
|
| Excessive drill run out or wobble, drilled hole is not round |
|
|
| Drill bit binds in the workpiece |
|
|
| Spindle returns too slowly or too quickly | Coil spring has improper tension | Adjust the coil spring tension |
| Chuck falls off spindle | Dirt, grease, or oil on the tapered sur- face on the spindle or in the chuck | Clean the tapered surface of both the chuck and spindle with a household detergent. |
| Motor will not run |
|
Use another circuit or contact customer service at 1-800-232-1195 for assistance. |
| Motor stalls |
|
|
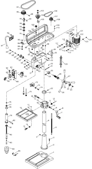
EXPLODED VIEW & PARTS LIST
| No. | Part Number | Description | Qty |
| 1 | 4227-001 | Base | 1 |
| 2 | 4227-002 | Column support | 1 |
| 3 | 4227-003 | Hex head bolt | 4 |
| 4 | 4227-004 | Set screw | 2 |
| 5 | 4227-005 | Gear rack | 1 |
| 6 | 4227-006 | Column | 1 |
| 7 | 4227-007 | Table adjusting handle | 1 |
| 8 | 4227-008 | Set screw | 1 |
| 9 | 4227-009 | Retaining ring | 1 |
| 10 | 4227-010 | Worm shaft | 1 |
| 11 | 4227-011 | Worm gear | 1 |
| 12 | 4227-012 | Pin | 1 |
| 13 | 4227-013 | Hex head bolt | 1 |
| 14 | 4227-014 | Lock washer | 1 |
| 15 | 4227-015 | Table | 1 |
| 16 | 4227-016 | Pointer | 1 |
| 17 | 4227-017 | Rivet | 2 |
| 18 | 4227-018 | Table support bracket | 1 |
| 19 | 4227-019 | Angle scale | 1 |
| 20 | 4227-020 | Table locking handle | 1 |
| 21 | 4227-021 | Column collar | 1 |
| 22 | 4227-022 | Set screw | 1 |
| 23 | 4227-023 | Flat head screw | 1 |
| 24 | 4227-024 | Hub cover | 1 |
| 25 | 4227-025 | Socket head screw | 3 |
| 26 | 4227-026 | Handle cap | 3 |
| 27 | 4227-027 | Feed handle | 1 |
| 28 | 4227-028 | Gear shaft | 1 |
| 29 | 4227-029 | Wing screw | 1 |
| 30 | 4227-030 | Scale ring | 1 |
| 31 | 4227-031 | Depth scale | 1 |
| 32 | 4227-032 | Rivet | 2 |
| 33 | 4227-033 | Spring pin | 2 |
| 34 | 4227-034 | Wing screw | 1 |
| 35 | 4227-035 | Belt tension block | 1 |
| 36 | 4227-036 | Hex head bolt | 1 |
| 37 | 4227-037 | Pin | 1 |
| 38 | 4227-038 | Rubber washer | 4 |
| 39 | 4227-039 | Bushing | 2 |
| 40 | 4227-040 | Head | 1 |
| 41 | 4227-041 | Wing screw | 1 |
| 42 | 4227-042 | Set screw | 2 |
| 43 | 4227-043 | Retaining ring | 1 |
| 44 | 4227-044 | Belt tension handle | 1 |
| 45 | 4227-045 | Set screw | 2 |
| 46 | 4227-046 | Pin | 1 |
| 47 | 4227-047 | Rivet | 2 |
| 48 | 4227-048 | Pointer | 1 |
| 49 | 4227-049 | Set screw | 1 |
| 50 | 4227-050 | Serrated washer | 1 |
| 51 | 4227-051 | Lock washer | 1 |
| 52 | 4227-052 | Pan head screw | 1 |
| 53 | 4227-053 | Set screw | 1 |
| 54 | 4227-054 | Nut | 1 |
| 55 | 4227-055 | Spring | 1 |
| 56 | 4227-056 | Spring cap | 1 |
| 57 | 4227-057 | Nut | 1 |
| 58 | 4227-058 | Flat washer | 1 |
| 59 | 4227-059 | Lock washer | 1 |
| 60 | 4227-060 | Socket head screw | 1 |
| 61 | 4227-061 | LED light assembly | 1 |
| 62 | 4227-062 | Pan head screw | 4 |
| 63 | 4227-063 | Switch box | 1 |
| 64 | 4227-064 | LED & Laser switch | 2 |
| 65 | 4227-065 | Switch plate | 1 |
| 66 | 4227-066 | Switch | 1 |
| 67 | 4227-067 | Thread forming screw | 2 |
| 68 | 4227-068 | Socket head screw | 4 |
| 69 | 4227-069 | Pan head screw | 2 |
| 70 | 4227-070 | Transformer | 1 |
| 71 | 4227-071 | Set screw | 1 |
| 72 | 4227-072 | Chuck key seat | 1 |
| 73 | 4227-073 | Flat washer | 1 |
| 74 | 4227-074 | Pan head screw | 1 |
| 75 | 4227-075 | Laser | 2 |
| 76 | 4227-076 | Retaining ring | 1 |
| 77 | 4227-077 | Ball bearing | 1 |
| 78 | 4227-078 | Rubber washer | 1 |
| 79 | 4227-079 | Quill | 1 |
| 80 | 4227-080 | Chuck removing tool | 1 |
| 81 | 4227-081 | Ball bearing | 1 |
| 82 | 4227-082 | Spindle | 1 |
| 83 | 4227-083 | Arbor | 1 |
| 84 | 4227-084 | Chuck | 1 |
| 85 | 4227-085 | Chuck key | 1 |
| 86 | 4227-086 | Belt house | 1 |
| 87 | 4227-087 | Pan head screw | 3 |
| 88 | 4227-088 | Flat washer | 3 |
| 89 | 4227-089 | Cord clamp | 3 |
| 90 | 4227-090 | Nut | 3 |
| 91 | 4227-091 | Retaining ring | 1 |
| 92 | 4227-092 | Ball bearing | 1 |
| 93 | 4227-093 | Spacer | 1 |
| 94 | 4227-094 | Ball bearing | 1 |
| 95 | 4227-095 | Sleeve | 1 |
| 96 | 4227-096 | Spindle pulley | 1 |
| 97 | 4227-097 | V belt | 1 |
| 98 | 4227-098 | Set screw | 1 |
| 99 | 4227-099B | Key | 1 |
| 100 | 4227-100 | Belt house knob | 1 |
| 101 | 4227-101 | Flat washer | 1 |
| 102 | 4227-102 | Nut | 1 |
| 103 | 4227-103 | Ball bearing | 2 |
| 104 | 4227-104 | Idle pulley | 1 |
| 105 | 4227-105 | Crank shaft | 1 |
| 106 | 4227-106 | V belt | 1 |
| 107 | 4227-107B | Motor pulley | 1 |
| 108 | 4227-108B | Set screw | 1 |
| 109 | 4227-109 | Hex head bolt | 4 |
| 110 | 4227-110 | Flat washer | 4 |
| 111 | 4227-111 | Sliding shaft | 1 |
| 112 | 4227-112 | Sliding shaft | 1 |
| 113 | 4227-113 | Hex head bolt | 4 |
| 114 | 4227-114 | Flat washer | 4 |
| 115 | 4227-115 | Motor support plate | 1 |
| 116 | 4227-116 | Nut | 2 |
| 117 | 4227-117 | Hex head bolt | 1 |
| 118 | 4227-118 | Flat washer | 4 |
| 119 | 4227-119 | Lock washer | 2 |
| 120 | 4227-120 | Nut | 2 |
| 121 | 4227-121 | Key | 1 |
| 122 | 4227-122 | Motor | 1 |
| 123 | 4227-123 | Flat washer | 4 |
| 124 | 4227-124 | Nut | 4 |
| 125 | 4227-125 | Power cord | 1 |
| 126 | 4227-126 | Hex wrench (not shown) | 4 |

WARRANTY STATEMENT
WEN Products is committed to building tools that are dependable for years. Our warranties are consistent with this commitment and our dedication to quality.
LIMITED WARRANTY OF WEN PRODUCTS FOR HOME USE
GREAT LAKES TECHNOLOGIES, LLC (“Seller”) warrants to the original purchaser only, that all WEN consumer power tools will be free from defects in material or workmanship during personal use for a period of two (2) years from date of purchase or 500 hours of use; whichever comes first Ninety days for all WEN products if the tool is used for professional or commercial use. Purchaser has 30 days from the date of purchase to report missing or damaged parts.
SELLER’S SOLE OBLIGATION AND YOUR EXCLUSIVE REMEDY under this Limited Warranty and, to the extent permitted by law, any warranty or condition implied by law, shall be the replacement of parts, without charge, which are defective in material or workmanship and which have not been subjected to misuse, alteration, careless handling, misrepair, abuse, neglect, normal wear and tear, improper maintenance, or other conditions adversely affecting the Product or the component of the Product, whether by accident or intentionally, by persons other than Seller. To make a claim under this Limited Warranty, you must make sure to keep a copy of your proof of purchase that clearly defines the Date of Purchase (month and year) and the the Place of Purchase. Place of Purchase must be a direct ven-dor of Great Lakes Technologies, LLC. Purchasing through third party vendors, including but not limited to garage sales, pawn shops, resale shops, or any other secondhand merchant, voids the warranty included with this product. Contact [email protected] or 1-800-232-1195 with the following information to make arrangements: your shipping address, phone number, serial number, required part numbers, and proof of purchase. Damaged or defective parts and products may need to be sent to WEN before the replacements can be shipped out.
Upon the confirmation of a WEN representative, your product may quality for repairs and service work. When re-turning a product for warranty service, the shipping charges must be prepaid by the purchaser. The product must be shipped in its original container (or an equivalent), properly packed to withstand the hazards of shipment. The product must be fully insured with a copy of the proof of purchase enclosed. There must also be a description of the problem in order to help our repairs department diagnose and fix the issue. Repairs will be made and the product will be returned and shipped back to the purchaser at no charge for addresses within the contiguous United States.
THIS LIMITED WARRANTY DOES NOT APPLY TO ITEMS THAT WEAR OUT FROM REGULAR USAGE OVER TIME, INCLUDING BELTS, BRUSHES, BLADES, BATTERIES, ETC. ANY IMPLIED WARRANTIES SHALL BE LIMITED IN DURATION TO TWO (2) YEARS FROM DATE OF PURCHASE. SOME STATES IN THE U.S. AND SOME CANADIAN PROVINCES DO NOT ALLOW LIMITATIONS ON HOW LONG AN IMPLIED WARRANTY LASTS, SO THE ABOVE LIMITATION MAY NOT APPLY TO YOU.
IN NO EVENT SHALL SELLER BE LIABLE FOR ANY INCIDENTAL OR CONSEQUENTIAL DAMAGES (INCLUDING BUT NOT LIMITED TO LIABILITY FOR LOSS OF PROFITS) ARISING FROM THE SALE OR USE OF THIS PRODUCT. SOME STATES IN THE U.S. AND SOME CANADIAN PROVINCES DO NOT ALLOW THE EXCLUSION OR LIMITATION OF INCIDENTAL OR CONSEQUENTIAL DAMAGES, SO THE ABOVE LIMITATION OR EXCLUSION MAY NOT APPLY TO YOU.
THIS LIMITED WARRANTY GIVES YOU SPECIFIC LEGAL RIGHTS, AND YOU MAY ALSO HAVE OTHER RIGHTS WHICH VARY FROM STATE TO STATE IN THE U.S., PROVINCE TO PROVINCE IN CANADA AND FROM COUNTRY TO COUNTRY. THIS LIMITED WARRANTY APPLIES ONLY TO ITEMS SOLD WITHIN
THE UNITED STATES OF AMERICA, CANADA AND THE COMMONWEALTH OF PUERTO RICO. FOR WARRANTY COVERAGE WITHIN OTHER COUNTRIES, CONTACT THE WEN CUSTOMER SUPPORT LINE. FOR WARRANTY PARTS OR PRODUCTS REPAIRED UNDER WARRANTY SHIPPING TO ADDRESSES OUTSIDE OF THE CONTIGUOUS UNITED STATES, ADDITIONAL SHIPPING CHARGES MAY APPLY.




























