WEN 4208 8 Inch 5 Speed Drill Press

NEED HELP? CONTACT US!
Have product questions? Need technical support? Please feel free to contact us:
1-847-429-9263 (M-F 8AM-5PM CST)
[email protected]
IMPORTANT: Your new tool has been engineered and manufactured to WEN’s highest standards for dependability, ease of operation, and operator safety. When properly cared for, this product will supply you years of rugged, trouble-free performance. Pay close attention to the rules for safe operation, warnings, and cautions. If you use your tool properly and for its intended purpose, you will enjoy years of safe, reliable service.
For replacement parts and the most up-to-date instruction manuals, visit WENPRODUCTS.COM
To purchase accessories for your tool, visit WENPRODUCTS.COM
” Drill Press Vise (Model 423DPV)
6” Drill Press Clamp (Model 426DPC)
9” Drill Press Clamp (Model 429DPC)
7pc Forstner Bit Set (Model FB7)
16pc Forstner Bit Set (Model FB16)
INTRODUCTION
Thanks for purchasing the WEN Drill Press. We know you are excited to put your tool to work, but first, please take a moment to read through the manual. Safe operation of this tool requires that you read and understand this operator’s manual and all the labels affixed to the tool. This manual provides information regarding potential safety concerns, as well as helpful assembly and operating instructions for your tool.
SAFETY ALERT SYMBOL: Indicates danger, warning, or caution. The safety symbols and the explanations with them deserve your careful attention and understanding. Always follow the safety precautions to reduce the risk of fire, electric shock or personal injury. However, please note that these instructions and warnings are not substitutes for proper accident prevention measures.
NOTE: The following safety information is not meant to cover all possible conditions and situations that may occur. WEN reserves the right to change this product and specifications at any time without prior notice.
At WEN, we are continuously improving our products. If you find that your tool does not exactly match this manual, please visit wenproducts.com for the most up-to-date manual or contact our customer service at 1 847-429-9263.
Keep this manual available to all users during the entire life of the tool and review it frequently to maximize safety for both yourself and others.
SPECIFICATIONS
| Model Number | 4208, 4208T |
| Motor | 120V, 60 Hz, 2.3A |
| Chuck Capacity | 0.5″ |
| Spindle Stroke | 2″ |
| Spindle Taper | JT33 |
| Speeds | 740, 1100, 1530, 2100, 3140 RPM |
| Swing | 8″ |
| Table Size | 6.5″ x 6.5″ |
| Column Diameter | 1.75″ |
| Base Size | 11″ x 7″ |
| Total Height | 23.1″ |
| Weight | 34.2 lbs |
GENERAL SAFETY RULES
WARNING! Read all safety warnings and all instructions. Failure to follow the warnings and instructions may result in electric shock, fire and/or serious injury
Safety is a combination of common sense, staying alert and knowing how your item works. The term “power tool” in the warnings refers to your mains-operated (corded) power tool or battery-operated (cordless) power tool.
SAVE THESE SAFETY INSTRUCTIONS.
WORK AREA SAFETY
- Keep work area clean and well lit. Cluttered or dark areas invite accidents.
- Do not operate power tools in explosive atmospheres, such as in the presence of flammable liquids, gases or dust. Power tools create sparks which may ignite the dust or fumes.
- Keep children and bystanders away while operating a power tool. Distractions can cause you to lose control.
ELECTRICAL SAFETY
- Power tool plugs must match the outlet. Never modify the plug in any way. Do not use any adapter plugs with earthed (grounded) power tools. Unmodified plugs and matching outlets will reduce risk of electric shock.
- Avoid body contact with earthed or grounded surfaces such as pipes, radiators, ranges and refrigerators. There is an increased risk of electric shock if your body is earthed or grounded.
- Do not expose power tools to rain or wet conditions. Water entering a power tool will increase the risk of electric shock.
- Do not abuse the cord. Never use the cord for carrying, pulling or unplugging the power tool. Keep cord away from heat, oil, sharp edges or moving parts. Damaged or entangled cords increase the risk of electric shock.
- When operating a power tool outdoors, use an extension cord suitable for outdoor use. Use of a cord suitable for outdoor use reduces the risk of electric shock.
- If operating a power tool in a damp location is unavoidable, use a ground fault circuit interrupter (GFCI) protected supply. Use of a GFCI reduces the risk of electric shock.
PERSONAL SAFETY
- Stay alert, watch what you are doing and use common sense when operating a power tool. Do not use a power tool while you are tired or under the influence of drugs, alcohol or medication. A moment of inattention while operating power tools may result in serious personal injury.
- Use personal protective equipment. Always wear eye protection. Protective equipment such as a respiratory mask, non-skid safety shoes and hearing protection used for appropriate conditions will reduce the risk of personal injury.
- Prevent unintentional starting. Ensure the switch is in the off-position before connecting to power source and/or battery pack, picking up or carrying the tool. Carrying power tools with your finger on the switch or energizing power tools that have the switch on invites accidents.
- Remove any adjusting key or wrench before turning the power tool on. A wrench or a key left attached to a rotating part of the power tool may result in personal injury.
- Do not overreach. Keep proper footing and balance at all times. This enables better control of the power tool in unexpected situations.
- Dress properly. Do not wear loose clothing or jewelry. Keep your hair and clothing away from moving parts. Loose clothes, jewelry or long hair can be caught in moving parts.
- If devices are provided for the connection of dust extraction and collection facilities, ensure these are connected and properly used. Use of dust collection can reduce dust-related hazards.
POWER TOOL USE AND CARE
- Do not force the power tool. Use the correct power tool for your application. The correct power tool will do the job better and safer at the rate for which it was designed.
- Do not use the power tool if the switch does not turn it on and off. Any power tool that cannot be controlled with the switch is dangerous and must be repaired.
- Disconnect the plug from the power source and/or the battery pack from the power tool before making any adjustments, changing accessories, or storing power tools. Such preventive safety measures reduce the risk of starting the power tool accidentally.
- Store idle power tools out of the reach of children and do not allow persons unfamiliar with the power tool or these instructions to operate the power tool. Power tools are dangerous in the hands of untrained users.
- Maintain power tools. Check for misalignment or binding of moving parts, breakage of parts and any other condition that may affect the power tool’s operation. If damaged, have the power tool repaired before use. Many accidents are caused by poorly maintained power tools.
- Keep cutting tools sharp and clean. Properly maintained cutting tools with sharp cutting edges are less likely to bind and are easier to control.
- Use the power tool, accessories and tool bits, etc. in accordance with these instructions, taking into account the working conditions and the work to be performed. Use of the power tool for operations different from those intended could result in a hazardous situation.
- Use clamps to secure your workpiece to a stable surface. Holding a workpiece by hand or using your body to support it may lead to loss of control.
- KEEP GUARDS IN PLACE and in working order.
SERVICE
- Have your power tool serviced by a qualified repair person using only identical replacement parts. This will ensure that the safety of the power tool is maintained.
CALIFORNIA PROPOSITION 65 WARNING
Some dust created by power sanding, sawing, grinding, drilling, and other construction activities may contain chemicals, including lead, known to the State of California to cause cancer, birth defects, or other reproductive harm. Wash hands after handling. Some examples of these chemicals are:
- Lead from lead-based paints.
- Crystalline silica from bricks, cement, and other masonry products.
- Arsenic and chromium from chemically treated lumber.
Your risk from these exposures varies depending on how often you do this type of work. To reduce your exposure to these chemicals, work in a well ventilated area
with approved safety equipment such as dust masks specially designed to filter out microscopic particles.
DRILL PRESS SAFETY WARNINGS
WARNING! Do not operate the power tool until you have read and understood the following instructions and the warning labels
- TOOL PURPOSE. This drill press is designed to drill through metal and wood. Drilling through other materials could result in fire, injury, or damage to the workpiece. Using the machine for any other purpose for which it is not designed may result in serious injuries, machine damage and voiding of the warranty.
- MACHINE MOUNTING. For operation safety, the drill press must be securely mounted onto a flat and stable surface or stand.
- PERSONAL SAFETY.
• Always wear ANSI Z87.1-approved glasses with side shields, hearing protection, and a dust mask.
• Do not wear loose clothing or jewelry, as they might get drawn in by the tool. Tie back long hair.
• Do not wear gloves while operating this machine. - ELECTRIC CORDS. Keep cords away from heat, oil, sharp edges, and moving parts of the tool. Have an electrician replace or repair damaged or worn cords immediately.
- TOOL & ACCESSORIES INSPECTION. Before operation, check the tool and accessories for any damage or missing parts. Do not use the tool if any part is missing or damaged. Make sure all adjustments are correct and all connections are tight. Keep all guards in place.
- DRILLING ACCESSORIES.
• Make sure the drill bit is not damaged before use, only use undamaged drill bits
• Make sure the drill bit is securely locked in the chuck before turning ON.
• Make sure the chuck key is removed from the chuck before turning ON.
• Use clamps or a vise to secure a workpiece to the table. This will prevent the workpiece from rotating with the drill bit. - Make sure the table lock is tightened before starting the drill press.
- WORKPIECE REQUIREMENTS.
• Only stand workpieces sturdy enough to with stand the force of the drill bit.
• Inspect workpiece for imperfections, nails, staples, etc. before drilling. Never drill stock that has questionable imperfections or embedded foreign objects.
• Do not drill materials without a flat surface un less a suitable support is used (clamp or vise). - PREVENTING ACCIDENTAL STARTING. Make sure the power switch is in the OFF position prior to plugging in the machine. Always make sure the power switch is in the OFF position and the machine is unplugged when doing any cleaning, assembly, setup operations, or when not in use.
- Do not operate this tool until it is completely assembled and installed according to the instructions.
- Remove scrap pieces and other objects from the table before turning ON the drill press.
- DRILLING THE WORKPIECE.
• Allow spindle to reach full speed before drilling the workpiece.
• Never start the machine with the drill bit pressed against the workpiece.
• Adjust the table or depth stop to avoid drilling into the table.
• Set the drill press to the speed that is appropriate for the material being drilled. - Do not touch moving pieces. Keep hands away from the drill bit during operation. If cleaning is necessary, turn off the machine and use a brush to remove sawdust and chips instead of your hands.
- Never perform layout, assembly or set-up work on the table while the machine is ON.
- After turning off the drill press, wait until the spindle comes to a complete stop before touching the workpiece. Always turn the drill OFF before removing scrap from the table.
- Before leaving the machine, always turn OFF and unplug the machine, remove the drill bit, and clean the table. Turn Off and unplug the machine before cleaning, making adjustments or changing drill bits. Accidental start-ups may occur if the tool is plugged in during an accessory change or adjustment.
- CLEANING. Never use solvents to clean plastic parts. Solvents could dissolve or otherwise damage the material. Use only a soft damp cloth to clean plastic parts.
- REPLACEMENTS. Should any component of your drill press be missing/damaged or fail in any way, shut OFF the switch and remove the plug from power supply outlet. Replace the missing, damaged, or failed parts using only identical replacement parts before resuming operation.
CALIFORNIA PROPOSITION 65 WARNING
Some dust created by power sanding, sawing, grinding, drilling, and other construction activities may
contain chemicals, including lead, known to the State of California to cause cancer, birth defects, or other reproductive harm. Wash hands after handling. Some examples of these chemicals are:
- Lead from lead-based paints.
- Crystalline silica from bricks, cement, and other masonry products.
- Arsenic and chromium from chemically treated lumber.
Your risk from these exposures varies depending on how often you do this type of work. To reduce your exposure to these chemicals, work in a wellventilated area with approved safety equipment such as dust masks specially designed to filter out microscopic particles.
ELECTRICAL INFORMATION
GROUNDING INSTRUCTIONS
In the event of a malfunction or breakdown, grounding provides the path of least resistance for an electric current and reduces the risk of electric shock. This tool is equipped with an electric cord that has an equipment grounding conductor and a grounding plug. The plug MUST be plugged into a matching outlet that is properly installed and grounded in accordance with ALL local codes and ordinances.
- Do not modify the plug provided. If it will not fit the outlet, have the proper outlet installed by a licensed electrician.
- Improper connection of the equipment grounding conductor can result in electric shock. The conductor with the green insulation (with or without yellow stripes) is the equipment grounding conductor. If repair or replacement of the electric cord or plug is necessary, DO NOT connect the equipment grounding conductor to a live terminal.
- Check with a licensed electrician or service personnel if you do not completely understand the grounding instructions or whether the tool is properly grounded.
- Use only three-wire extension cords that have three-pronged plugs and outlets that accept the tool’s plug (INSERT CR). Repair or replace a damaged or worn cord immediately.

CAUTION! In all cases, make certain the outlet in question is properly grounded. If you are not sure, have a licensed electrician check the outlet.
GUIDELINES AND RECOMMENDATIONS FOR EXTENSION CORDS
When using an extension cord, be sure to use one heavy enough to carry the current your product will draw. An undersized cord will cause a drop in line voltage resulting in loss of power and overheating. The table below shows the correct size to be used according to cord length and ampere rating. When in doubt, use a heavier cord. The smaller the gauge number, the heavier the cord.
| AMPERAGE | REQUIRED GAUGE FOR EXTENSION CORDS | |||
| 25 ft. | 50 ft. | 100 ft. | 150 ft. | |
| 2.3A | 18 gauge | 16 gauge | 16 gauge | 14 gauge |
- Examine extension cord before use. Make sure your extension cord is properly wired and in good condition. Always replace a damaged extension cord or have it repaired by a qualified person before using it.
- Do not abuse extension cord. Do not pull on cord to disconnect from receptacle; always disconnect by pulling on plug. Disconnect the extension cord from the receptacle before disconnecting the product from the extension cord. Protect your extension cords from sharp objects, excessive heat and damp/wet areas.
- Use a separate electrical circuit for your tool. This circuit must not be less than a 12-gauge wire and should be protected with a 15A time-delayed fuse. Before connecting the motor to the power line, make sure the switch is in the OFF position and the electric current is rated the same as the current stamped on the motor nameplate. Running at a lower voltage will damage the motor.
NPACKING & PACKING LIST
WARNING! Do not plug in or turn on the tool until it is fully assembled according to the instructions. Failure to follow the safety instructions may result in serious personal injury.
UNPACKING
With the help of a friend or trustworthy foe, carefully remove the Drill Press from the packaging. Make sure to take out all contents and accessories. Do not discard the packaging until everything is removed. Check the packing list below to make sure you have all of the parts and accessories. If any part is missing or broken, please contact our customer service at 1-847-429-9263 (M-F 8-5 CST), or email [email protected].
PACKING LIST

- Head / Motor Assembly………………………………1
- Table Locking Handle…………………………………1
- Table Asssembly………………………………………..1
- Base…………………………………………………….1
- Column Assembly……………………………………..1
- Chuck…………………………………………………..1
- Chuck Key………………………………………………..1
- Feed Handles……………………………………………3
- Hex Wrench……………………………………………..1
- Hex Head Bolts…………………………………………3
ASSEMBLY / ADJUSTMENT TOOLS
The tools listed below are not included but are required for either assembly or adjustment:
- Adjustable wrench
- Hammer and block of wood or rubber mallet, or dead-blow hamme
KNOW YOUR DRILL PRESS
TOOL PURPOSE
Drill clean, precise cylindrical holes into workpieces or enlarge existing holes with your Drill Press. Refer to the following diagrams to become familiarized with all the parts and controls of your Drill Press. The components will be referred to later in the manual for assembly and operation instructions
DRILL PRESS

HOUSING

ASSEMBLY & ADJUSTMENTS
WARNING! Do not plug in or turn on the tool until it is fully assembled according to the instructions. Failure to follow the safety instructions may result in serious personal injury
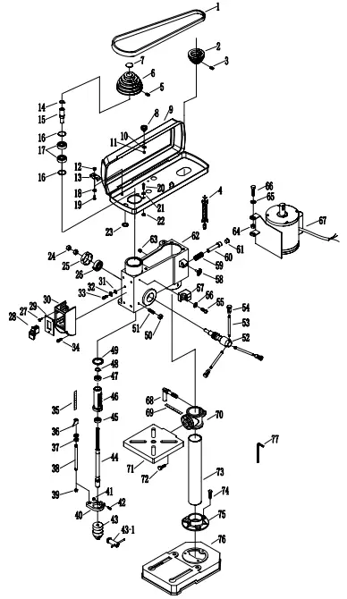
ATTACHING COLUMN ASSEMBLY TO BASE
- Place the column tube (Fig. 2 – 1) on the base (Fig. 2 – 2), aligning the column support holes to the base holes.
- Install a hex head bolt (Fig. 2 – 3) in each of the three column support holes and tighten using the adjustable wrench (not included).

ATTACHING TABLE TO COLUMN
- Slide the table assembly (Fig. 3 – 1) down directly onto the column (Fig. 3 – 2) with the top of the table face up.
- Position the table directly over the base, and tighten the table locking handle (Fig. 3 – 3) to secure table assembly.

NOTE: Make sure to insert the table locking handle into the side of the column as shown in Fig. 3 (the left hand side if facing the front of the drill press). Otherwise, the table will not tighten correctly
DRILL PRESS HEAD TO COLUMN
WARNING! The drill press head is heavy. To avoid injury, two people should lift it into position.
- Carefully lift the drill press head assembly and position it over the column.
- Place the mounting opening on the drill press head over the top of the column. Make sure the drill press head is seated properly on the column.
- Align the direction of the drill press head with the direction of the base and the table.
- Tighten set screws (Fig. 4 – 2) on both sides using the included hex wrench.

FEED HANDLES
- Insert the three feed handles (Fig. 4 – 1) into the threaded openings on the feed hub.
Manually tighten the handles into the openings.
NOTE: When using the drill press, one or two of the feed handles may be removed if an unusually-shaped workpiece interferes with handle rotation.
MOUNTING THE DRILL PRESS
The drill press must be securely fastened through the mounting holes (Fig. 5 – 1) to a stand or workbench with heavy-duty fasteners (Fig. 5 – 2) (fasteners and mounting hardware not included). This will prevent the drill press from tipping over, sliding, or walking during operation.
IMPORTANT: If the stand or workbench has a tendency to move during operation, fasten the workbench securely to the floor.
INSTALLING THE CHUCK
WARNING! Before any assembly of the chuck to the drill press spindle, clean all mating surfaces with a nonpetroleum based product; such as acetone or lacquer thinner. Any oil or grease used in the packing of these parts must be removed; otherwise the chuck may come loose during operation.
- Unplug your drill press before you begin installing the chuck. Lower the drill press table and place a cloth on it to protect the chuck if it is dropped.
- Wipe the chuck and spindle with a clean rag. Do not use solvents yet, these will be used when you are ready to set it into place.
- Completely remove any burrs found on the inner mating surface of the chuck with a diamond coated tool or a fine file. Use a grade 000 steel wool pad to lightly go over the chuck and spindle. This removes oxidation and dirt that you cannot see.
NOTE: Do steps 1-3 even if your chuck is new. New chucks can still have burrs, oxidation, and dirt. - Use lacquer thinner or acetone on a lint free rag to clean the chuck. Do not touch these surfaces with your hands after cleaning. Rubbing alcohol does not work well, as it contains oil. Let the chuck dry before continuing.
- Retract the jaws of the chuck all the way into the body. Slide the chuck’s socket onto the spindle.
- Using hand force, firmly push the chuck (Fig. 6 – 1) up onto the spindle (Fig. 6 – 2). Using a rubber mallet or dead blow hammer, tap the chuck upwards once to lock the tapers together. You can also use a piece of wood between the chuck and a standard hammer (Fig. 6). Test the fit by gently pulling downward on the chuck. If the chuck pulls off, go back to step one and try again, making sure to thoroughly clean the mating surfaces. Your chuck is now set into your drill press and should stay in place until you need to remove it.

CAUTION! To avoid damaging the chuck, make sure the jaws are completely recessed into the chuck. Do not use a metal hammer to drive the chuck into the spindle.
REMOVING THE CHUCK
NOTE: To avoid possible damage to the drill or chuck, be prepared to catch the chuck as it falls. Placing a towel on the drill press table can soften the impact if you do drop the chuck.
- Turn the feed handles to lower the chuck to the lowest position, making it close to the table.
- Place a ball joint separator (not included, Fig. 7 – 1) above the chuck (Fig. 7 – 2) and tap it lightly with a hammer to cause the chuck to drop from the spindle. You should hold the chuck and be ready to catch it when it is released.

Alternate Method:
Place the chuck key into the opening on the side of the chuck. Open the drill press cover and hold the spindle pulley stationary. Using the chuck key for leverage, rotate the entire chuck clockwise while gently pulling downwards. Remove the chuck from the spindle.
RAISING AND LOWERING THE TABLE
- Loosen the table locking handle (Fig. 8 -1) and slide the table until it is at the desired height.
- Tighten the table locking handle before drilling.

ROTATE THE TABLE
- Loosen the table locking handle and turn the table around the column to the desired position.
- Tighten the table locking handle before drilling.
TILT THE TABLE
- Loosen the bevel lock bolt (Fig. 9 – 1) with a 19 mm socket or wrench (not included).
- Tilt the table to the desired angle, using the bevel scale (Fig. 9 – 2) as a basic guide.
- Re-tighten the bevel lock bolt.
- To return the table to its original horizontal position, loosen the bevel lock bolt.
- Realign the table to the 0° setting on the bevel scale.
- Tighten the bevel lock bolt with the wrench.

INSTALLING A DRILL BIT
- Place the chuck key (Fig. 10 – 1) into the side keyhole of the chuck (Fig. 10 – 2), meshing the key with the gear teeth.

- Turn chuck key counterclockwise to open the chuck jaws.
- Insert a drill bit into the chuck so the chuck jaws grip as much of the bit’s shank as possible.
- Center the drill bit in the chuck jaws before the final tightening of the chuck.
- Tighten the chuck jaws using the chuck key to ensure that the drill bit will not slip while drilling. Tighten the jaws using all three keyholes of the chuck.
- Remove the chuck key. Store in the rubber key holder (Fig. 11 – 3).
WARNING! To avoid injury, make sure the chuck key is removed from the chuck before starting any drilling operation.
SPEED ADJUSTMENT
- Unplug the drill press.
- To change to another one of the five available speeds, open the belt housing cover (Fig. 11 – 1) and loosen the belt tension locking knob (Fig. 11 – 2).

- Pull the motor towards the front of the press and tighten the belt tension locking knob. Adjust the position of the belt on the belt pulleys (Fig. 12).

NOTE: Ensure that the belt runs on the same setting of each pulley (e.g. if the belt is on the third setting of the motor pulley, it should be on the third setting of the spindle pulley as well). - Loosen the belt tension locking knob and push the motor towards the rear of the drill press, ensuring that the belt is under tension. Tighten the belt tension locking knob. Closethe belt housing cover.
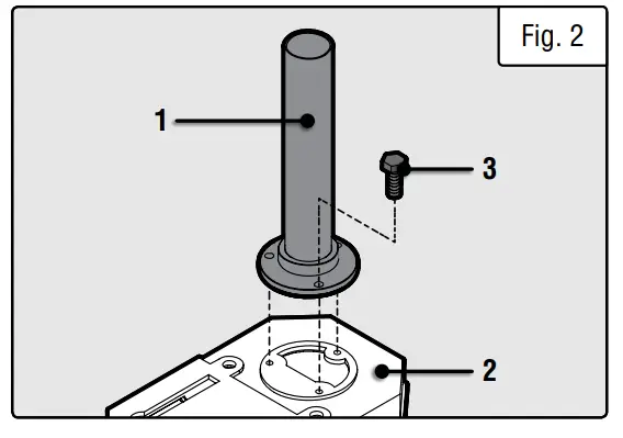
SPINDLE RETURN SPRING
The spindle is equipped with an auto-return mechanism.
The main components are a spring and a notched housing.
The spring was properly adjusted at the factory and should not be readjusted unless absolutely necessay.
WARNING! Alwasy wear work gloves to prevent injury during spingle return spring adjustments.
- Unplug the drill press.
- Loosen the two housing nuts (Fig. 13 – 1) approximately 1/4” (6 mm). Do not remove the nuts from the threaded shaft. Do not allow the spring or spring housing to slip out of control. Keep a firm grip on the spring while wearing work gloves.
- While firmly holding the spring housing (Fig. 13 – 2), carefully pull the spring housing out until it clears the raised notch (Fig. 13 – 3).

- Turn the housing so that the next notch is engaged with the raised notch.
• To increase the spindle return tension, turn the spring housing counter-clockwise.
• To decrease the tension, turn the spring housing clock- wise. - Tighten the two housing nuts. Do not overtighten the two nuts. If the nuts are tightened too much, the movement of the spindle and feed handles will become sluggish.
REPLACING THE BELT
WARNING! Disconnect the drill press from the power source before replacing the belt.
- Open the housing cover (Fig. 14 – 1). Loosen the belt tension locking knob (Fig. 14 – 2).

- Remove the belt from the housing cover if it is broken. If it is not broken, but is too stretched to operate correctly, work the belt off the drive (motor) pulley. Then remove the belt from the front pulley (Fig. 15).

- Replace with a new belt. Install the belt over the pulleys at the desired speed. Pull the motor back to make the belt taut. Once the desired tension has been achieved, tighten the belt tension locking knob.
OPERATION
ON / OFF SWITCH
- To turn drill press ON, insert the yellow safety key (Fig. 16 – 1) into the switch housing (Fig. 16 – 2). As a safety feature, the switch cannot be turned ON without the safety key.

- Flip the switch upward to the ON position.
- To turn the drill press OFF, flip the switch downward.
- To lock the switch in the OFF position, remove the safety key from the switch. Store the safety key in a safe place out of the reach of children.
POSITIONING THE TABLE AND WORKPIECE
Always place a piece of scrap material (wood, plywood, etc.) on the table underneath the workpiece. This will prevent splintering on the underside of the workpiece as the drill bit breaks through. To keep material from spinning out of control, it must contact left side of the column as illustrated, or be clamped (not included) to the table (Fig. 17).
NOTE: For small workpieces that cannot be clamped to the table, use a drill press vise (not included). The vise must be clamped or bolted to the table to avoid injury. Drill press clamps and drill press vises can be purchased at wenproducts.com.
GENERAL DRILLING GUIDELINES – DRILLING A HOLE
WARNING! To prevent the workpiece and the backup material from slipping from your hand while drilling, position the workpiece and backup material to the left side of the column. If the workpiece and the backup material are not long enough to reach the column, clamp the workpiece and backup material to the table. Failure to do this could result in personal injury.
- Mark where you want to drill in workpiece by using a center punch or a sharp nail, or turn ON the laser to mark your drilling point.
- Before turning the drill press ON, turn the feed handles to bring the drill bit down. Line the drill bit tip up with the mark. Clamp the workpiece in place.
- Turn ON the drill press and pull down on the feed handles with the appropriate force needed to allow the drill bit to drill through the material.
NOTE: Feeding too slowly might cause the drill bit to turn in the chuck. Feeding too rapidly
might stop the motor, cause the belt to slip, force the workpiece loose, or break the drill bit. Practice with scrap material to get the feel of the machine before attempting to do any drilling operation.
DRILLING SPEEDS
There are a few important factors to keep in mind when determining the best drilling speed:
• Material type
• Hole size
• Drill bit or cutter type
• Quality desired
Smaller drill bits require greater speed than larger drill bits. Softer materials require greater speed than harder materials.
DRILLING WOOD
- Brad point bits are preferred. Metal-piercing twist bits may be used on wood.
- Do not use auger bits. Auger bits turn so rapidly that they can lift the workpiece off of the table and whirl it around.
- To prevent splintering, feed drill bit slowly right as the bit is about to cut through to the backside of the workpiece.
- To reduce splintering and protect the point of the bit, use scrap wood or a base block under the workpiece.
- Always protect the drill bit by positioning the table so that the drill bit will enter the center hole when drilling through the workpiece.
FEEDING THE DRILL BIT
- Pull down on the feed handles with only enough force to allow the drill bit to cut.
- Feeding too rapidly might stall the motor, cause the belt to slip, damage the workpiece, or break the drill bit.
- Feeding too slowly will cause the drill bit to heat up and burn the workpiece.
MAINTENANCE
WARNING! To avoid accidents, turn OFF and unplug the tool from the electrical outlet before cleaning, adjusting, or performing any maintenance or lubrication work.
WARNING! Any attempt to repair or replace electrical parts on this tool may be hazardous. Servicing of the tool must be performed by a qualified technician. When servicing, use only identical WEN replacement parts. Use of other parts may be hazardous or induce product failure.
ROUTINE INSPECTION
Before each use, inspect the tool. If any of these following conditions exist, do not use until parts are replaced.
Check for:
• Loose hardware or improper mounting
• Misalignment
• Damaged cord / electrical wiring
• Cracked or broken parts
• Any other condition that may affect its safe operation
CAUTION! Most plastics are susceptible to damage from various types of commercial solvents. Do not use any cleaning products that could damage plastic parts. Some of these include but are not limited to: gasoline, carbon tetrachloride, chlorinated cleaning solvents, and household detergents that contain ammonia.
CLEANING & STORAGE
- After every operation, use a vacuum to remove sawdust or metal shavings from the tool surfaces, motor housing and work area. Keep the ventilation openings free from dust and debris to prevent the motor from overheating.
- Wipe the tool surfaces clean with a soft cloth or brush. Make sure water does not get into the tool.
- Apply a light coat of paste wax to the column and table to help keep these surfaces clean and rust free.
- Store the tool in a clean and dry place away from the reach of children.
LUBRICATION
The ball bearings in the spindle and the V-belt pulley assembly are greased and permanently sealed, and require no lubrication. Pull the spindle down and oil the quill moderately every three months. Lubricate the table bracket and locking knobs if they become difficult to use.
PRODUCT DISPOSAL
Used power tools should not be disposed of together with household waste. This product contains electronic components that should be recycled. Please take this product to your local recycling facility for responsible disposal and to minimize its environmental impact
Please recycle the packaging and electronic components where facilities exist.
TROUBLESHOOTING GUIDE
WARNING! Stop using the generator immediately if any of the following problems occur or risk serious personal injury. If you have any questions, please contact customer service at 1-847-429-9263 (M-F 8-5 CST), or email [email protected].
| PROBLEM | CAUSE | SOLUTION |
| Noisy operation |
|
|
| The drill bit burns or smokes |
|
|
| Excessive drill run out or wobble; drilled hole is not round |
|
|
| Drill bit binds in the workpiece |
|
|
| Spindle returns too slowly or too quickly | Coil spring has improper tension | Adjust the coil spring tension (see p .15) |
| Chuck falls off spindle | Dirt, grease, or oil on the tapered sur- face on the spindle or in the chuk | Clean the tapered surface of both the chuck and spindle as instructed above |
| Motor will not run |
|
|
| Motor stalls |
|
|
EXPLODED VIEW & PARTS LIST

| No. | Part No. | Description | Qty. |
| 1 | 4208C-001 | V Belt | 1 |
| 2 | 4208C-002 | Motor Pulley | 1 |
| 3 | 4208C-003 | Set Screw | 1 |
| 4 | 4208C-004 | Power Cord | 1 |
| 5 | 4208C-005 | Set Screw | 1 |
| 6 | 4208C-006 | Spindle Pulley | 1 |
| 7 | 4208C-007 | Pulley Cap | 1 |
| 8 | 4208C-008 | Belt House Knob | 1 |
| 9 | 4208C-009 | Belt House | 1 |
| 10 | 4208C-010 | Flat Washer | 1 |
| 11 | 4208C-011 | Nut | 1 |
| 12 | 4208C-012 | Hex Nut | 2 |
| 13 | 4208C-013 | Cord Clamper | 2 |
| 14 | 4208C-014 | Retaining Ring | 1 |
| 15 | 4208C-015 | Sleeve | 1 |
| 16 | 4208C-016 | Retaining Ring | 2 |
| 17 | 4208C-017 | Ball Bearing | 2 |
| 18 | 4208C-018 | Flat Washer | 2 |
| 19 | 4208C-019 | Pan Head Screw | 2 |
| 20 | 4208C-020 | Pan Head Screw | 4 |
| 21 | 4208C-021 | Flat Washer | 4 |
| 22 | 4208C-022 | Rubber Washer | 4 |
| 23 | 4208C-023 | Bushing | 2 |
| 24 | 4208C-024 | Hex Nut | 2 |
| 25 | 4208C-025 | Spring Cap | 1 |
| 26 | 4208C-026 | Spring | 1 |
| 27 | 4208C-027 | Screw | 3 |
| 28 | 4208C-028 | Switch | 1 |
| 29 | 4208C-029 | Switch Plate | 1 |
| 30 | 4208C-030 | Switch Box | 1 |
| 31 | 4208C-031 | Serrated Washer | 2 |
| 32 | 4208C-032 | Lock Washer | 2 |
| 33 | 4208C-033 | Screw | 2 |
| 34 | 4208C-034 | Screw | 4 |
| 35 | 4208C-035 | Depth Scale | 1 |
| 36 | 4208C-036 | Pointer | 1 |
| 37 | 4208C-037 | Hex Nut | 2 |
| 38 | 4208C-038 | Depth Rod | 1 |
| 39 | 4208C-039 | Hex Nut | 1 |
| 40 | 4208C-040 | Quill Collar | 1 |
| 41 | 4208C-041 | Hex Nut | 1 |
| 42 | 4208C-042 | Screw | 1 |
| 43 | 4208C-043 | Chuck | 1 |
| 43-1 | 4208C-043-1 | Chuck Key | 1 |
| 44 | 4208C-044 | Spindle | 1 |
| 45 | 4208C-045 | Ball Bearing | 1 |
| 46 | 4208C-046 | Quill | 1 |
| 47 | 4208C-047 | Ball Bearing | 1 |
| 48 | 4208C-048 | Retaining Ring | 1 |
| 49 | 4208C-049 | Rubber Washer | 1 |
| 50 | 4208C-050 | Hex Nut | 1 |
| 51 | 4208C-051 | Set Screw | 1 |
| 52 | 4208C-052 | Gear Shaft | 1 |
| 53 | 4208C-053 | Feeding handle | 3 |
| 54 | 4208C-054 | Knob | 3 |
| 55 | 4208C-055 | Flat Washer | 1 |
| 56 | 4208C-056 | Pan Head Screw | 1 |
| 57 | 4208C-057 | Chuck Key Seat | 1 |
| 58 | 4208C-058 | Wing Screw | 1 |
| 59 | 4208C-059 | Spring | 1 |
| 60 | 4208C-060 | Pushing Shaft | 1 |
| 61 | 4208C-061 | Cap | 1 |
| 62 | 4208C-062 | Head | 1 |
| 63 | 4208C-063 | Set Screw | 2 |
| 64 | 4208C-064 | Hex Nut | 2 |
| 65 | 4208C-065 | Flat Washer | 4 |
| 66 | 4208C-066 | Bolt | 2 |
| 67 | 4208C-067 | Motor | 1 |
| 68 | 4208C-068 | Locking Handle | 1 |
| 69 | 4208C-069 | Angle Scale | 1 |
| 70 | 4208C-070 | Table Support Bracket | 1 |
| 71 | 4208C-071 | Table | 1 |
| 72 | 4208C-072 | Bolt | 1 |
| 73 | 4208C-073 | Column | 1 |
| 74 | 4208C-074 | Bolt | 3 |
| 75 | 4208C-075 | Column Support | 1 |
| 76 | 4208C-076 | Base | 1 |
| 77 | 4208C-077 | Wrench | 1 |
WARRANTY STATEMENT
WEN Products is committed to building tools that are dependable for years. Our warranties are consistent with this commitment and our dedication to quality.
LIMITED WARRANTY OF WEN PRODUCTS FOR HOME USE
GREAT LAKES TECHNOLOGIES, LLC (“Seller”) warrants to the original purchaser only, that all WEN consumer power tools will be free from defects in material or workmanship during personal use for a period of two (2) years from date of purchase or 500 hours of use; whichever comes fi rst. Ninety days for all WEN products if the tool is used for professional or commercial use. Purchaser has 30 days from the date of purchase to report missing or damaged parts.
SELLER’S SOLE OBLIGATION ANO YOUR EXCLUSIVE REMEDY under this Limited Warranty and, to the extent permitted by law, any warranty or condition implied by law, shall be the replacement of parts, without charge, which are defective in material or workmanship and which have not been subjected to misuse, alteration, careless handling, misrepair, abuse, neglect, normal wear and tear, improper maintenance, or other conditions adversely affecting the Product or the component of the Product, whether by accident or intentionally, by persons other than Seller. To make a claim under this Limited Warranty, you must make sure to keep a copy of your proof of purchase that clearly defines the Date of Purchase (month and year) and the Place of Purchase. Place of Purchase must be a direct vendor of Great Lakes Technologies, LLC. Purchasing through third party vendors, including but not limited to garage sales, pawn shops, resale shops, or any other secondhand merchant, voids the warranty included with this product. Contact [email protected] or 1-847-429-9263 with the following information to make arrangements: your shipping address, phone number, serial number, required part numbers, and proof of purchase. Damaged or defective parts and products may need to be sent to WEN before the replacements can be shipped out.
Upon the confirmation of a WEN representative, your product may qualify for repairs and service work. When returning a product for warranty service, the shipping charges must be prepaid by the purchaser. The product must be shipped in its original container (or an equivalent), properly packed to withstand the hazards of shipment. The product must be fully insured with a copy of the proof of purchase enclosed. There must also be a description of the problem in order to help our repairs department diagnose and fix the issue. Repairs will be made and the product will be returned and shipped back to the purchaser at no charge for addresses within the contiguous United States.
THIS LIMITED WARRANTY DOES NOT APPLY TO ITEMS THAT WEAR OUT FROM REGULAR USAGE OVER TIME, INCLUDING BELTS, BRUSHES, BLADES, BATTERIES, ETC. ANY IMPLIED WARRANTIES SHALL BE LIMITED IN DURATION TO TWO (2) YEARS FROM DATE OF PURCHASE. SOME STATES
IN THE U.S. AND SOME CANADIAN PROVINCES DO NOT ALLOW LIMITATIONS ON HOW LONG AN IMPLIED WARRANTY LASTS, SO THE ABOVE LIMITATION MAY NOT APPLY TO YOU. IN NO EVENT SHALL SELLER BE LIABLE FOR ANY INCIDENTAL OR CONSEQUENTIAL DAMAGES (INCLUDING BUT NOT LIMITED TO LIABILITY FOR LOSS OF PROFITS) ARISING FROM THE SALE OR USE OF THIS PRODUCT. SOME STATES IN THE U.S. AND SOME CANADIAN PROVINCES DO NOT ALLOW THE EXCLUSION OR LIMITATION OF INCIDENTAL OR CONSEQUENTIAL DAMAGES, SO THE ABOVE LIMITATION OR EXCLUSION MAY NOT APPLY TO YOU.
THIS LIMITED WARRANTY GIVES YOU SPECIFIC LEGAL RIGHTS, AND YOU MAY ALSO HAVE OTHER RIGHTS WHICH VARY FROM STATE TO STATE IN THE U.S., PROVINCE TO PROVINCE IN CANADA AND FROM COUNTRY TO COUNTRY.
THIS LIMITED WARRANTY APPLIES ONLY TO ITEMS SOLD WITHIN THE UNITED STATES OF AMERICA, CANADA AND THE COMMONWEALTH OF PUERTO RICO. FOR WARRANTY COVERAGE WITHIN OTHER COUNTRIES, CONTACT THE WEN CUSTOMER SUPPORT LINE. FOR WARRANTY PARTS OR PRODUCTS REPAIRED UNDER WARRANTY SHIPPING TO ADDRESSES OUTSIDE OF THE CONTIGUOUS UNITED STATES, ADDITIONAL SHIPPING CHARGES MAY APPLY.


































