HILTI NURON BX Series Cordless Concrete Nailer User Guide
Original Operating Instructions
About this documentation
- Read this documentation before initial operation or use. This is a prerequisite for safe, trouble-free handling and use of the product.
- Observe the safety instructions and warnings in this documentation and on the product.
- Always keep the operating instructions with the product and make sure that the operating instructions are with the product when it is given to other persons.
Explanation of symbols
Warnings
Warnings alert persons to hazards that occur when handling or using the product. The following signal words
are used:
DANGER
- Draws attention to imminent danger that will lead to serious personal injury or fatality.
WARNING
- Draws attention to a potential threat of danger that can lead to serious injury or fatality.
CAUTION
- Draws attention to a potentially dangerous situation that could lead to personal injury or damage to the equipment or other property.
Symbols in the operating instructions
The following symbols are used in these operating instructions:
![]() | Comply with the operating instructions |
![]() | Instructions for use and other useful information |
![]() | Dealing with recyclable materials |
![]() | Do not dispose of electric equipment and batteries as household waste |
| Hilti Li ion battery | |
| Hilti charger |
Symbols in illustrations
The following symbols are used in illustrations:
| These numbers refer to the illustrations at the beginning of these operating instructions. | |
| The numbering reflects the sequence of operations shown in the illustrations and may deviate from the steps described in the text. | |
![]() | Item reference numbers are used in the overview illustration and refer to the numbers used in the key in the product overview section. |
| These characters are intended to specifically draw your attention to certain points when handling the product. |
Symbols on the product
The following symbols can be used on the product:
![]() | General symbol for “must do” |
![]() | Wear eye protection |
![]() | Wear hearing protection |
![]() | Wear a hard hat |
![]() | The product supports near-field communication (NFC) technology compatible with iOS and Android platforms. |
| Li-ion battery | |
![]() | Never use the battery as a striking tool. |
![]() | Do not drop the battery. Never use a battery that has suffered an impact or is damaged in any other way. |
Product Information
Products are designed for professional users and only trained, authorized personnel are permitted to operate, service and maintain the products. This personnel must be specifically informed about the possible hazards. The product and its ancillary equipment can present hazards if used incorrectly by untrained personnel or if used not in accordance with the intended use.
The type designation and serial number are printed on the rating plate.
- Write down the serial number in the table below. You will be required to state the product details when contacting Hilti Service or your local Hilti organization to inquire about the product.
Product information
| Fastening tool | BX 3-22 | BX 3-L-22 | BX 3-ME-22 |
| Generation | 03 |
| Serial no. |
Declaration of conformity
The manufacturer declares, on his sole responsibility, that the product described here complies with the applicable legislation and standards. A copy of the declaration of conformity can be found at the end of this documentation.
The technical documentation is filed here: Hilti Entwicklungsgesellschaft mbH | Tool Certification | Hiltistrasse 6 | D-86916 Kaufering, Germany
Safety
WARNING
Read all safety warnings, instructions, illustrations and specifications provided with this power tool. Failure to follow all instructions listed below may result in electric shock, fire and/or serious injury.
Save all warnings and instructions for future reference.
The term “power tool” in the warnings refers to your mains-operated (corded) power tool or battery-operated (cordless) power tool.
Work area safety
- Keep work area clean and well lit. Cluttered or dark areas invite accidents.
- Do not operate power tools in explosive atmospheres, such as in the presence of flammable liquids, gases or dust. Power tools create sparks which may ignite the dust or fumes.
- Keep children and bystanders away while operating a power tool. Distractions can cause you to lose control.
Electrical safety
- Power tool plugs must match the outlet. Never modify the plug in any way. Do not use any adapter plugs with earthed (grounded) power tools. Unmodified plugs and matching outlets will reduce risk of electric shock.
- Avoid body contact with earthed or grounded surfaces, such as pipes, radiators, ranges and refrigerators. There is an increased risk of electric shock if your body is earthed or grounded.
- Do not expose power tools to rain or wet conditions. Water entering a power tool will increase the risk of electric shock.
- Do not abuse the cord. Never use the cord for carrying, pulling or unplugging the power tool. Keep cord away from heat, oil, sharp edges or moving parts. Damaged or entangled cords increase the risk of electric shock.
- When operating a power tool outdoors, use an extension cord suitable for outdoor use. Use of a cord suitable for outdoor use reduces the risk of electric shock.
- If operating a power tool in a damp location is unavoidable, use a residual current device (RCD) protected supply. Use of an RCD reduces the risk of electric shock.
Personal safety
- Stay alert, watch what you are doing and use common sense when operating a power tool. Do not use a power tool while you are tired or under the influence of drugs, alcohol or medication. A moment of inattention while operating power tools may result in serious personal injury.
- Use personal protective equipment. Always wear eye protection. Protective equipment such as a dust mask, non-skid safety shoes, hard hat or hearing protection used for appropriate conditions will reduce personal injuries.
- Prevent unintentional starting. Ensure the switch is in the off-position before connecting to power source and/or battery pack, picking up or carrying the tool. Carrying power tools with your finger on the switch or energizing power tools that have the switch on invites accidents.
- Remove any adjusting key or wrench before turning the power tool on. A wrench or a key left attached to a rotating part of the power tool may result in personal injury.
- Do not overreach. Keep proper footing and balance at all times. This enables better control of the power tool in unexpected situations.
- Dress properly. Do not wear loose clothing or jewelry. Keep your hair and clothing away from moving parts. Loose clothes, jewelry or long hair can be caught in moving parts.
- If devices are provided for the connection of dust extraction and collection facilities, ensure these are connected and properly used. Use of dust collection can reduce dust-related hazards.
- Do not let familiarity gained from frequent use of tools allow you to become complacent and ignore tool safety principles. A careless action can cause severe injury within a fraction of a second.
Power tool use and care
- Do not force the power tool. Use the correct power tool for your application. The correct power tool will do the job better and safer at the rate for which it was designed.
- Do not use the power tool if the switch does not turn it on and off. Any power tool that cannot be controlled with the switch is dangerous and must be repaired.
- Disconnect the plug from the power source and/or remove the battery pack, if detachable, from the power tool before making any adjustments, changing accessories, or storing power tools.
Such preventive safety measures reduce the risk of starting the power tool accidentally. - Store idle power tools out of the reach of children and do not allow persons unfamiliar with the power tool or these instructions to operate the power tool. Power tools are dangerous in the hands of untrained users.
- Maintain power tools and accessories. Check for misalignment or binding of moving parts, breakage of parts and any other condition that may affect the power tool’s operation. If damaged, have the power tool repaired before use. Many accidents are caused by poorly maintained power tools.
- Keep cutting tools sharp and clean. Properly maintained cutting tools with sharp cutting edges are less likely to bind and are easier to control.
- Use the power tool, accessories and tool bits etc. in accordance with these instructions, taking into account the working conditions and the work to be performed. Use of the power tool for operations different from those intended could result in a hazardous situation.
- Keep handles and grasping surfaces dry, clean and free from oil and grease. Slippery handles and grasping surfaces do not allow for safe handling and control of the tool in unexpected situations.
Battery tool use and care
- Recharge only with the charger specified by the manufacturer. A charger that is suitable for one type of battery pack may create a risk of fire when used with another battery pack.
- Use power tools only with specifically designated battery packs. Use of any other battery packs may create a risk of injury and fire.
- When battery pack is not in use, keep it away from other metal objects, like paper clips, coins, keys, nails, screws or other small metal objects, that can make a connection from one terminal to another. Shorting the battery terminals together may cause burns or a fire.
- Under abusive conditions, liquid may be ejected from the battery; avoid contact. If contact accidentally occurs, flush with water. If liquid contacts eyes, additionally seek medical help. Liquid ejected from the battery may cause irritation or burns.
- Do not use a battery pack or tool that is damaged or modified. Damaged or modified batteries may exhibit unpredictable behavior resulting in fire, explosion or risk of injury.
- Do not expose a battery pack or tool to fire or excessive temperature. Exposure to fire or temperature above 130° C (265 °F) may cause explosion.
- Follow all charging instructions and do not charge the battery pack or tool outside the temperature range specified in the instructions. Charging improperly or at temperatures outside the specified range may damage the battery and increase the risk of fire.
Service
- Have your power tool serviced by a qualified repair person using only identical replacement parts. This will ensure that the safety of the power tool is maintained.
- Never service damaged battery packs. Service of battery packs should only be performed by the manufacturer or authorized service providers.
Tacker safety warnings
- Always assume that the tool contains fasteners. Careless handling of the fastening tool can result in unexpected firing of nails causing personal injury.
- Do not point the tool towards yourself or anyone nearby. A nail will be ejected by the tool if it is triggered unexpectedly, possibly leading to injury.
- Do not actuate the tool unless the tool is placed firmly against the workpiece. If the tool is not in contact with the workpiece, the fastener may be deflected away from your target.
- Disconnect the tool from the power source when the fastener jams in the tool. While removing a jammed fastener, the fastening tool may be accidentally activated if it is plugged in.
- Use caution while removing a jammed fastener. The mechanism may be under tension and the nail may be forcefully ejected while attempting to free a jam.
- When fastening electrical cables, make sure the cables are not energized. Hold the fastening tool only by insulated gripping surfaces. Use only fasteners designed for electrical cable installations.
Check that the fastener has not damaged the insulation of the electrical cable. A nail that damages the insulation of electric cables can lead to electric shock and fire hazards.
Safety instructions
Requirements to be met by users
- Only authorized, appropriately trained persons may operate or service this product. Personal protective equipment
- You and all other persons in the vicinity must wear suitable eye protection, ear protection and a hard hat while the tool is in use.
Personal safety
- Observe the information printed in the operating instructions concerning operation, care and maintenance.
- Stay alert, watch what you are doing and use common sense when operating a fastening tool. Do not use the product when you are tired or under the influence of drugs, alcohol or medication. Take a break if you experience pain or feel unwell. A moment of inattention while operating the fastening tool can result in serious injury.
- Avoid awkward postures. Make sure you work from a safe stance and stay in balance at all times.
- Wear non-skid shoes.
- Never pull the fastener guide or fastener back with your hand.
- Under certain circumstances, the product could be made ready to fire by pulling the fastener guide or the fastener back by hand. When the tool is ready to fire, fasteners or the piston could accidentally be driven into parts of the body.
- Keep your arms slightly bent while operating the product (do not straighten your arms).
- Keep other people away from the working area, especially children.
- Risk of injury by falling tools and/or accessories. Before starting work, check that the battery and installed accessories are secure.
- Keep the air vents clear at all times. Risk of burn injuries due to blocked air vents!
- Do not look directly into the light source (LEDs) of the power tool and do not aim the beam at other persons’ faces. Risk of dazzling or eye damage.
Fastening tool use and care
- Danger of fasteners penetrating right through! Before driving fasteners, check to make sure that no one is present behind or below the object into which the fastener is to be driven.
- Use the right product for the job. Do not use the product for purposes for which it was not intended. Use it only as directed and when in faultless condition.
- Never leave a loaded product unattended.
- Always unload the product (remove fasteners) before cleaning, maintenance, changing the fastener guide, before work breaks and before storing the product.
- When not in use, the product must be unloaded and stored in a locked, dry place where it is inaccessible to children.
- Check the product and its accessories for damage. Check that moving parts function faultlessly, without sticking, and that no parts are damaged.
- All parts must be fitted correctly and fulfill all conditions necessary for correct operation of the product. Damaged parts must be properly repaired or replaced by Hilti Service unless otherwise stated in the operating instructions.
- Before beginning work, check the working area for concealed electric cables or gas and water pipes.
External metal parts of the product could give you an electric shock or cause an explosion if you accidentally damage an electric cable or a gas or water pipe. - Do not attempt to drive fasteners into unsuitable materials.
- Unsuitable materials include welded steel and cast steel, cast iron, glass, marble, plastic, bronze, brass, copper, insulating material, hollow brick, ceramic brick, thin sheet metal (< 4 mm) and cellular concrete. Driving a fastener into these materials may cause the fastener to break, shatter or to be driven right through.
- Pull the trigger only when the product is fully pressed against the working surface at right angles.
- When driving fasteners, always hold the product at right angles to the working surface in order to prevent the fastener from being deflected by the material.
- Keep the grips dry, clean and free from oil and grease.
- Never drop the product.
- Do not use the magazine as a grip.
- Do not use the product in places where there is a risk of fire or explosion, unless the product is specially approved for this type of use.
- Never drive fasteners into existing holes unless this is recommended by Hilti (e.g. DX-Kwik).
Mechanical safety rules
- Do not tamper with or modify the product or accessories, especially the piston.
- Use only fasteners of a type approved for use with the product. Thermal safety rules
- Do not exceed the recommended maximum fastener driving rate.
- If the product has overheated, allow it to cool down.
- Do not dismantle the product while it is hot. Allow the product to cool down.
Battery use and care
- Comply with the following safety instructions for the safe handling and use of Li-ion batteries.
Failure to comply can lead to skin irritation, severe corrosive injury, chemical burns, fire and/or explosion. - Use only batteries that are in perfect working order.
- Treat batteries with care in order to avoid damage and prevent leakage of fluids that are extremely harmful to health.
- Do not under any circumstances modify or tamper with batteries!
- Do not disassemble, crush or incinerate batteries and do not subject them to temperatures over 80 °C (176 °F).
- Never use or charge a battery that has suffered an impact or been damaged in any other way. Check your batteries regularly for signs of damage.
- Never use recycled or repaired batteries.
- Never use the battery or a battery-operated power tool as a striking tool.
- Never expose batteries to the direct rays of the sun, elevated temperature, sparking, or open flame. This can lead to explosions.
- Do not touch the battery poles with your fingers, tools, jewelry, or other electrically conductive objects.
This can damage the battery and also cause material damage and personal injury. - Keep batteries away from rain, moisture and liquids. Penetrating moisture can cause short circuits, electric shock, burns, fire and explosions.
- Use only chargers and power tools approved for the specific battery type. Read and follow the relevant operating instructions.
- Do not use or store the battery in explosive environments.
- If the battery is too hot to touch, it may be defective. Put the battery in a place where it is clearly visible and where there is no risk of fire, at an adequate distance from flammable materials. Allow the battery to cool down. If it is still too hot to touch after an hour, the battery is faulty. Consult Hilti Service or read the document entitled “Instructions on safety and use for Hilti Li-ion batteries”.
Observe the special guidelines applicable to the transport, storage and use of lithium-ion batteries.
Read the instructions on safety and use of Hilti Li-ion batteries that you can access by scanning the QR code at the end of these operating instructions.
Description
- Nosepiece
- Fastener guide
- Fastener guide locking catch
- Single-fastener head (BX 3-ME-22)
- Air vents
- Eye for tool tether
- Belt hook
- Safety trigger
- Grip
- Belt hook/scaffold hook
- Battery release button
- Battery status indicator
- Li ion battery
- Installation opening for accessories
- Nail pusher
- Nail pusher release mechanism
- Support leg
- Magazine
- Status indicator, fastening tool
- Work-area light.

Equipment
The fastener guide and the support leg are product-dependent. The support legs and fastener guides with which the product is equipped are listed in the table below.
Further information can be found in the case lid, in your Hilti Store or at: www.hilti.group
| Product | BX 3-22 | BX 3-L-22 | BX 3-ME-22 |
| Fastener guide | X-FG B3 IF 02 | X-FG B3 IF 02 | X-FG B3 ME |
| Product | BX 3-22 | BX 3-L-22 | BX 3-ME-22 |
| Support leg | X-SL B3 03 | X-SL B3 03 | X-SL B3 ME 03 |
Intended use
The product is a hand-held, cordless fastening tool. It is designed to drive specially manufactured fasteners into concrete, steel, masonry, sand-lime block and other materials suitable for use of the direct fastening technique. The product is also designed to fasten electrical cables with clips if the appropriate fasteners are used. Use only approved fasteners in combination with their corresponding fastener guide (see the section headed “Technical data”).
The fastening tool, battery and fasteners together form a technical entity. This means that trouble-free fastening with this fastening tool can be ensured only when the fasteners specially manufactured for the purpose by Hilti and the chargers and batteries recommended by Hilti are used. The fastening and application recommendations made by Hilti apply only when these conditions are observed.
- The fastening tool is for hand-held use only.
- Misuse must be ruled out. Misuse is understood to include driving fasteners into very soft materials (e.g. wood) or into excessively hard materials (e.g. high-strength steel or very hard natural stone).
- For this product, use only Hilti Neuron lithium-ion batteries of the B 22 series. For optimum performance, Hilti recommends the batteries stated in the table at the end of these operating instructions for this product.
- For these batteries, use only Hilti chargers of the type series stated in the table at the end of these operating instructions.
Safety devices
When using the nail magazine, the nail detector prevents triggering without a nail loaded, which could damage the fastening tool.
The contact pressure safety device is intended to prevent the free flighting of nails (i.e. actuation and driving a nail when the nosepiece is not in contact with the workpiece). When using a nail magazine, the fastening tool can be pressed against the surface and triggered only when a nail is loaded in the tool.
Features
The fastening tool is equipped with an ergonomic, non-slip and vibration-absorbing grip, a belt and scaffold hook and a support leg. The fastening tool is protected against overload by electronic overload protection and from overheating by temperature monitoring.
Status indicator, fastening tool
The status indicator of the fastening tool provides information about the status of the fastening tool.
| Status | Meaning |
| LED is off | The fastening tool is switched off |
| The LED shows green. | The fastening tool is switched on and ready for use |
| The LED flashes green. | Battery too hot or battery too weak |
| The LED flashes green every 3 seconds. | The fastening tool is in stand-by mode. Press the nose of the tool against the working surface to switch it on |
| The LED lights blue. | The fastening tool is switched on, nail strips require to be loaded |
| LED flashes blue. | The fastening tool is switched on, the magazine is completely empty |
| The LED flashes yellow. | Fastening tool is too hot, see Troubleshooting |
| The LED flashes red. | Malfunction; see “Troubleshooting” |
| The LED shows red. | Malfunction; see “Troubleshooting” |
Status indicators of the Li ion battery
Hilti Nuron Li-ion batteries can indicate state of charge, fault messages and the battery’s state of health.
Indicators for state of charge and fault messages
WARNING
Risk of injury by a falling battery!
- If the release button is pressed with a battery inserted in the product, subsequently check that the battery is correctly re-engaged and secure
Short-press the release button of the battery to get whichever of the following status indications is applicable at the time.
State of charge and, if applicable, faults are indicated constantly as long as the connected product is switched on.
| Status | Meaning |
| Four (4) LEDs show constantly green | State of charge: 100 % to 71 % |
| Three (3) LEDs show constantly green | State of charge: 70 % to 51 % |
| Two (2) LEDs show constantly green | State of charge: 50 % to 26 % |
| One (1) LED shows constantly green | State of charge: 25 % to 10 % |
| One (1) LED slow-flashes green | State of charge: < 10 % |
| One (1) LED quick-flashes green | The Li-ion battery is completely discharged. Recharge the battery. If the LED again starts quick-flashing after the battery has been charged, consult Hilti Service. |
| One (1) LED quick-flashes yellow | The Li-ion battery or the product in which it is inserted is overloaded, too hot or too cold, or experiencing some other fault. Bring the product and the battery to the recommended working temperature and do not overload the product when it is in use. |
| One (1) LED shows yellow | The Li-ion battery and the product in which it is inserted are not compatible. Consult Hilti Service. |
| One (1) LED quick-flashes red | The Li-ion battery is locked and cannot be used. Consult Hilti Service. |
Indicators showing the battery’s state of health
To check the battery’s state of health, press the release button and hold it down for longer than three seconds. The system does not detect a potential malfunction of the battery due to misuse, for example battery dropped or pierced, external heat damage, etc.
| Status | Meaning |
| All LEDs show in sequence, followed by one (1) LED showing constantly green. | The battery can remain in use. |
| All LEDs show in sequence, followed by one (1) LED quick-flashing yellow. | The check to ascertain the battery’s state of health did not complete. Repeat the procedure, or consult Hilti Service. |
| All LEDs show in sequence, followed by one (1) LED showing constantly red. | If a connected product can still be used, the remaining battery capacity is below 50 %. If a connected product can no longer be used, the battery has reached the end of its useful life and has to be replaced. Consult Hilti Service. |
Bluetooth® (optional)
The Bluetooth ® word mark and logos are registered trademarks owned by Bluetooth SIG, Inc. and any use of such marks by Hilti Corporation is under license.
Intended use
This product is equipped with a Bluetooth ® Low Energy Module which enables the status checking of a power tool and the transfer of settings and data based on Bluetooth ® wireless technology, a data transfer system by which the two Bluetooth-enabled products can communicate with each other over a short distance. This product is designed to enable communication and data transfers between smart phones and
Hilti gateway. The product can submit data attributes such as location of the receiving device, runtime, total application count, application count during interval and timestamp of transfer. Information about the connectivity functions offered can be found in the respective Hilti application (app) or in the operating instructions of the power tool you are using.
Data transmission via Bluetooth ®
The transmission interval can vary, depending on the available power source of the product. The signal range may vary greatly depending on external conditions, including the receiving device used. The Bluetooth ® range may be significantly weaker inside closed rooms and through metallic barriers (e g. walls, shelving units, cases, etc.). Depending on ambient conditions, several transmission intervals may be required before the tool is detected.
If the tool is not detected, check the following:
- Is the distance to the mobile terminal device too great?
→ Reduce the distance between the mobile terminal device and the tool
Installing and setting up the app
In order to be able to use the connectivity functions, you first have to install the respective Hilti app.
- Download the app from an appropriate app store.
You will require a user account on the corresponding app store to do this. - After starting the app for the first time, please either log in with your account or register.
- The display of your mobile terminal device will show you all the subsequent steps required to connect the power tool to the mobile terminal device.
First, fully complete the tutorial for the app. This will give you a better overview of how the connection is made and how the connectivity functions are used.
Deep discharge protection
The product has a hibernation mode to protect the Li-ion battery from deep discharge. This prevents deep discharge of the battery.
- Deep discharge protection is activated after 360 minutes.
- To deactivate deep discharge protection, remove and then reinsert the battery.
Items supplied
fastening tool, operating instructions.
Other system products approved for use with this product can be found at your local Hilti Store or at: www.hilti.group
Technical data
| BX 3-22 | BX 3-L-22 | BX 3-ME-22 | |
| Weight in accordance with EPTA Procedure 01, without battery | 3.5 kg | 3.5 kg | 3.4 kg |
| Nail length (collated nails) | 14 mm … 30 mm | 14 mm … 36 mm | 14 mm … 24 mm |
| Nail length (single nails) | •/• | •/• | 30 mm … 36 mm |
| Nail diameter | 3 mm | 2.75 mm … 3.0 mm | 3 mm |
| Magazine capacity | 30 nails | 30 nails | 20 nails |
| Compression stroke | 12 mm | 12 mm | 12 mm |
| Contact pressure | 50 N … 70 N | 50 N … 70 N | 50 N … 70 N |
| BX 3-22 | BX 3-L-22 | BX 3-ME-22 | |
| Recommended maximum fastener driving rate at room temperature | 700/h | 700/h | 700/h |
| Rated voltage | 21.6 V | 21.6 V | 21.6 V |
| Maximum emitted trans- mission power, Blue- tooth® | 8 dBm | 8 dBm | 8 dBm |
| Bluetooth frequency range | 2,402 MHz … 2,480 MHz | 2,402 MHz … 2,480 MHz | 2,402 MHz … 2,480 MHz |
| Storage temperature | −20 ℃ … 70 ℃ | −20 ℃ … 70 ℃ | −20 ℃ … 70 ℃ |
| Ambient temperature for operation | −17 ℃ … 60 ℃ | −17 ℃ … 60 ℃ | −17 ℃ … 60 ℃ |
Battery
| Battery operating voltage | 21.6 V |
| Weight, battery | See the end of these operating instructions |
| Ambient temperature for operation | −17 ℃ … 60 ℃ |
| Storage temperature | −20 ℃ … 40 ℃ |
| Battery charging starting temperature | −10 ℃ … 45 ℃ |
Noise information and vibration values in accordance with EN 62841
The sound pressure and vibration values given in these instructions were measured in accordance with a standardized test and can be used to compare one power tool with another. They can also be used for a preliminary assessment of exposure.
The data given represent the main applications of the power tool. However, if the power tool is used for different applications, with different accessory tools, or is poorly maintained, the data can vary. This can significantly increase exposure over the total working period.
An accurate estimation of exposure should also take into account the times when the tool is switched off, or when it is running but not actually being used for a job. This can significantly reduce exposure over the total working period.
Identify additional safety measures to protect the operator from the effects of noise and/or vibration, for example: maintaining the power tool and accessory tools, keeping the hands warm, organization of work patterns.
Noise information
| BX 3-22 | BX 3-L-22 | BX 3-ME-22 | ||
| Typical A-weighted emission sound power level (when driving nails) (LWA) | Concrete | 96 dB | 96 dB | 96 dB |
| Steel | 100 dB | 100 dB | 100 dB | |
| Typical A-weighted emission sound pressure level (when driving nails) (LpA) | Concrete | 85 dB | 85 dB | 85 dB |
| Steel | 89 dB | 89 dB | 89 dB | |
| Uncertainty for the given sound level (KWA, KPA) | 3 dB | 3 dB | 3 dB | |
Total uniaxial vibration values (in z-direction)
| BX 3-22 | BX 3-L-22 | BX 3-ME-22 | ||
| Vibration emission value (driving in nails) with B22 55 battery (a h) | Concrete | 2.5 m/s² | 2.5 m/s² | 2.5 m/s² |
| Steel | ||||
| 3.3 m/s² | 3.3 m/s² | 3.3 m/s² | ||
| Vibration emission value (driving in nails) with B22 85 battery (a h) | Concrete | 2.9 m/s² | 2.9 m/s² | 2.9 m/s² |
| BX 3-22 | BX 3-L-22 | BX 3-ME-22 | ||
| Vibration emission value (driving in nails) with B22 85 battery (a h) | Steel | 3.5 m/s² | 3.5 m/s² | 3.5 m/s² |
| Uncertainty (K) | 1.5 m/s² | 1.5 m/s² | 1.5 m/s² | |
Preparations at the workplace
WARNING:
Risk of injury by inadvertent starting.
- Before inserting the battery, make sure that the product is switched off.
- Remove the battery before making any adjustments to the power tool or before changing accessories.
Observe the safety instructions and warnings in this documentation and on the product.
Charging the battery
- Before charging the battery, read the operating instructions for the charger.
- Make sure that the contacts on the battery and the contacts on the charger are clean and dry.
- Use an approved charger to charge the battery. → page 7
Inserting the battery
WARNING:
Risk of injury by short circuit or falling battery/
- Before inserting the battery, make sure that the contacts on the battery and the contacts on the product are free of foreign matter.
- Make sure that the battery always engages correctly.
- Charge the battery fully before using it for the first time.
- Push the battery into the product until it engages with an audible click.
- Check that the battery is seated securely.
Removing the batter
- Press the battery release button.
- Remove the battery from the product
Removing the fastener guide
- Pull the nail pusher down until it engages.
- Unload the magazine. → page 14
- Slide the fastener guide locking catch as far as it will go in the direction of the arrow.
- The fastener guide will be released.
- Remove the fastener guide
Inserting the fastener guide
- Pull the nail pusher down until it engages.
- Unload the magazine. → page 14
- Slide the fastener guide locking catch as far as it will go in the direction of the arrow and hold it in this position.
- Slide the fastener guide into the nosepiece until it is heard to engage.
- Release the fastener guide locking catch.
- The fastener guide jumps to the middle position.
- Grip and pull the fastener guide to check that it is securely seated
Working safely with the belt and scaffold hook(Figure 2).

- Before beginning work, make sure that the belt hook / scaffold hook is securely attached to the product.
- Use the belt hook / scaffold hook only when necessary. Put the product safely aside if it is to remain unused for a lengthy period of time.
Fall arrest (Figure 3)

WARNING: Risk of injury by falling tool and/or accessory.
- Use only the Hilti tool tether recommended for your product.
- Prior to each use, always check the attachment point of the tool tether for possible damage.
- Do not secure a tool tether to the belt hook. Do not use a belt hook to lift the product.
Comply with the national regulations for working at heights.
As drop arrester for this product, use only the Hilti tool tether #2261970.
- Use one carabiner to secure the tool tether to the product as shown in the illustration. Check that the carabiner holds securely.
- Secure the second carabiner to a load-bearing structure. Check that the carabiner holds securely.
Comply with the operating instructions of the Hilti tool tether.
Loading for magazine operation (Figure 4)
CAUTION
Crush hazard! If it is allowed to snap back, the nail pusher can cause injuries and damage the fastening tool.
- When you pull down the nail pusher make sure it engages securely. Do not allow the nail pusher to snap back.
- Pull the nail pusher down until it engages.
- Slide the nail strips into the magazine (a maximum of 3 strips of 10 nails).
- Hold the nail pusher securely and press the nail pusher release button.
- Guide the nail pusher back until it contacts a nail.
Loading for single-fastener mode
CAUTION
Crush hazard! If it is allowed to snap back, the nail pusher can cause injuries and damage the fastening tool.
- When you pull down the nail pusher make sure it engages securely. Do not allow the nail pusher to snap back.
- Pull the nail pusher down until it engages.
- Slide the nail strip(s) out of the magazine and check that the magazine is empty.
Damage to the fastening tool can result if you do not remove all the nails from the magazine before using the tool in single-fastener mode. - Hold the nail pusher securely and press the nail pusher release mechanism.
- Guide the nail pusher back.
- Insert the nail into the recess in the fastener guide. Optionally, you can then also fit an approved fastening element on to the nose of the fastener guide.
Attempting to drive a fastener with more than one nail in the fastener guide can cause damage to the fastening tool. When operating the tool in single-fastener mode, load only one nail into the fastener guide. - Activate the single-fastener selector switch.
- The single-fastener switch engages with an audible click.
Pulling the nail pusher down a few centimeters will disengage the single-fastener switch
Operation
Observe the safety instructions and warnings in this documentation and on the product.
Using the support leg (Figure 5)
On an even working surface, the support leg makes it easier to hold the fastening tool perpendicular as attention then only has to be paid to lateral alignment. On uneven surfaces it might be necessary to retract the support leg in order to ensure that the fastener guide is perpendicular to the working surface.
Retracting the support leg
- Push against the support leg to release it from its engaged position.
- Swing the support leg back.
Extending the support leg
CAUTION
Risk of pinching the fingers. When folding the support leg back there is a risk of trapping and pinching the fingers between the support leg and the casing of the tool.
- Hold the fastening tool by the grip when extending/retracting the support leg.
- Swing the support leg forward.
- Push against the support leg from below until it engages in the extended position.
Switching Bluetooth (optional) off
- Press the fastening tool against the base material for 10 seconds.
- After 6 seconds the spring element audibly relieves its tension (keep the fastening tool pressed against the base material for another 4 seconds).
- Status indicator flashes blue 3 times.
- Motor noise sounds 3 times.
- No further data transfer is possible.
Bluetooth can be deactivated if you are in a sensitive environment (e.g. a hospital) where use of Bluetooth is prohibited.
To switch Bluetooth back on, remove and then re-insert the battery.
Switching the fastening tool on/off
Switching on the fastening tool
Warning
Risk of injury! Pressing the nosepiece of the fastening tool against a part of the body may lead to serious injury due to inadvertent firing and release of a fastener.
- Never press the nosepiece of the fastening tool against your hand or any other part of the body
- For magazine operation, load the magazine. → page 12
- Insert the battery. → page 11
- Status indicator slow-flashes green.
- If you continue to operate the fastening tool after battery performance drops, the fastening tool will switch itself off automatically before damage to the battery cells occurs.
- To switch the fastening tool on, press it against a suitable surface.
- Fastening tool is tensioned.
- The status indicator shows green.
Switching off the fastening tool
Remove the battery. → page 11
- The spring mechanism audibly relieves its tension and the status indicator goes out.
- After 6 minutes the fastening tool generates a motor sound as an alert indicating that the fastening tool is about to switch off. After issuing this alert, the fastening tool switches off automatically.
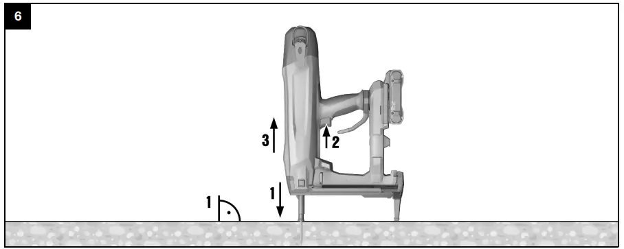
Driving a fastener ( Figure 6)

WARNING
Risk of injury by fasteners penetrating right through.
- Before driving fasteners, check to make sure that no one is present behind or below the object into which the fastener is to be driven.
WARNING
Risk of injury by flying parts. When driving a fastener, there is a risk of injury to the body and eyes caused by splintered fragments of the workpiece and by flying parts of the nail strip.
- Wear personal protective equipment and always wear eye protection and protective gloves. Other persons in the vicinity must also wear eye protection and a hard hat.
WARNING
Risk of injury! Pressing the nosepiece of the fastening tool against a part of the body may lead to serious injury due to inadvertent firing and release of a fastener.
- Never press the nosepiece of the fastening tool against your hand or any other part of the body.
- Before beginning the work, carry out a test by driving 2 fasteners into the material you are working on.
- Hold the fastening tool perpendicular to the working surface and press it against the surface, pushing the fastener guide in as far as it will go.
- The fastening tool is switched on.
- Drive the fastener by pressing the safety trigger.
- Lift the fastening tool completely clear of the working surface after driving a fastener.
The fastening tool changes automatically to standby mode if the fastener guide is pressed against the working surface for longer than 6 seconds without a fastener being driven. Again pressing the nosepiece against the base material reloads the fastening tool for firing.
Removing a nail when in magazine mode
- Pull the nail pusher down until it engages.
- Slide the nail downwards out of the magazine.
- Hold the nail pusher securely and press the nail pusher release button.
- Guide the nail pusher back to its original position.
Releasing a jammed nail
WARNING
There is a risk of injury and damage to the fastening tool. Use of unsuitable items instead of the recommended genuine Hilti accessories may result in injury or damage to the fastening tool.
- To release a jammed nail, use only the recommended drift punch set.
WARNING
Risk of injury by flying parts! Triggering the tool (attempting to drive a fastener) when foreign objects are present in the area around the fastener guide, or when a fastener is jammed in the fastener guide, may lead to injury caused by flying objects or fragments.
- Never attempt to clear malfunctions of the fastening tool by continuing to trigger the tool!
Individual nails may get stuck in the fastener guide. You can remove jammed nails from the fastener guide with the aid of the X-NP drift punch set. Accessories are available from your Hilti Store or can be ordered online at www.hilti.group
- Remove the fastener guide (see → page 11).
- Fit the fastener guide into the supporting sleeve from the drift punch set.
- Use the drift punch and a hammer to drive the jammed nail out of the fastener guide.
- Fit the fastener guide (see → page 11).
Care and Maintenance
WARNING
Risk of injury with battery inserted !
- Always remove the battery before carrying out care and maintenance tasks!
Care of the product
- Carefully remove stubborn dirt.
- Carefully clean the air vents, if present, with a dry, soft brush.
- Use only a slightly damp cloth to clean the housing. Do not use cleaning agents containing silicone as these can attack the plastic parts.
- Use a dry, clean cloth to clean the contacts of the product.
Care of the Li ion batteries
- Never use a battery with clogged air vents. Clean the air vents carefully using a dry, soft brush.
- Avoid unnecessary exposure of the battery to dust and dirt. Never expose the battery to high levels of moisture (e.g. by being dipped in water or left in the rain).
If a battery has been soaked by moisture, treat it as a damaged battery. Isolate it in a non-flammable container and consult Hilti Service. - Keep the battery free of extraneous oil and grease. Do not permit dust or dirt to accumulate unnecessarily on the battery. Clean the battery with a dry, soft brush or a clean, dry cloth. Do not use cleaning agents containing silicone as these can attack the plastic parts.
Do not touch the contacts of the battery and do not remove the factory-applied grease from the contacts. - Use only a slightly damp cloth to clean the housing. Do not use cleaning agents containing silicone as these can attack the plastic parts.
Maintenance
- Check all visible parts and controls for signs of damage at regular intervals and make sure that they all function correctly.
- Do not use the product if signs of damage are found or if parts malfunction. Immediately have the product repaired by Hilti Service.
- After cleaning and maintenance, install all guards and protective devices and check that they are in full working order.
To help ensure safe and reliable operation, use only genuine Hilti spare parts and consumables. Spare parts, consumables and accessories approved by Hilti for use with your product can be found at your Hilti Store or online at: www.hilti.group
Cleaning the inside of the nosepiece
- Remove the fastener guide. → page 11
- Clean the inside of the nosepiece.
- Insert the fastener guide. → page 11
Transport and storage of cordless tools and batteries
Transport
CAUTION:
Accidental starting during transport !
- Always transport your products with the batteries removed!
- Remove the battery.
- Always transport and store the tool in a secured case.
- Never transport batteries in bulk form (loose, unprotected). During transport, batteries should be protected from excessive shock and vibration and isolated from any conductive materials or other batteries that may come in contact with the terminals and cause a short circuit. Comply with the locally applicable regulations for transporting batteries.
- Do not send batteries through the mail. Consult your shipper for instructions on how to ship undamaged batteries.
- Prior to each use and before and after prolonged transport, check the product and the batteries for damage.
Storage
WARNING
Accidental damage caused by defective or leaking batteries !
- Always store your products with the batteries removed!
- Store the product and the batteries in a cool and dry place. Comply with the temperature limits stated in the technical data.
- Do not store batteries on the charger. Always remove the battery from the charger when the charging operation has completed.
- Never leave batteries in direct sunlight, on sources of heat, or behind glass.
- Store the product and batteries where they cannot be accessed by children or unauthorized persons.
- Prior to each use and before and after prolonged storage, check the product and the batteries for damage.
Troubleshooting
| Trouble or fault | Possible cause | Action to be taken |
| Status indicator flashes green. | The battery is empty. |
|
| The spring element is not tensioned, status indicator flashes green | The battery is empty. |
|
| The fastener guide cannot be pressed in and status indicator shows blue. | The magazine is empty. |
|
| The fastener guide cannot be pressed in and status for shows green | The nail pusher is jammed. |
|
| Nail jammed in the fastener guide. |
| |
| There is a delay before the spring mechanism is tensioned, the status indicator flashes blue and a signal tone is emitted simultaneously; the status indicator then lights blue for 6 minutes. | The magazine is empty |
|
| The spring element is not tensioned and status indicator flashes yellow. | The fastening tool has overheated. |
|
| Battery temperature too high |
| |
| Battery temperature too low. |
| |
| The spring element is not tensioned and the status indicator flashes red. | The fastener guide is not fitted correctly. |
|
| The spring element is not tensioned and the status indicator lights red. | System fault. |
|
| The spring element is not tensioned; no status indication | The battery is empty |
|
| The battery is not fitted correctly |
| |
| Deep discharge protection is active. |
| |
| The fastener guide is jammed in the pressed-in state | Dirt between the fastener guide and the nosepiece. |
|
Unless otherwise stated, all the light signals described here relate to the status indicator of the fastening tool. If a problem occurs, always observe the charge-status and fault indicator of the battery. See the section headed Status indicators of the Li ion battery.
If the trouble you are experiencing is not listed in this table or you are unable to rectify the problem by yourself, please contact Hilti Service.
Disposal
WARNING
Risk of injury due to incorrect disposal! Health hazards due to escaping gases or liquids.
- DO NOT send batteries through the mail!
- Cover the terminals with a non-conductive material (such as electrical tape) to prevent short circuiting.
- Dispose of your battery out of the reach of children.
- Dispose of the battery at your Hilti Store, or consult your local governmental garbage disposal or public health and safety resources for disposal instructions.
Most of the materials from which Hilti products are manufactured can be recycled. The materials must be correctly separated before they can be recycled. In many countries, your old tools, machines or appliances can be returned to Hilti for recycling. Ask Hilti Service or your Hilti sales representative for further information.
Do not dispose of power tools, electronic equipment or batteries as household waste!
Manufacturer’s warranty
- Please contact your local Hilti representative if you have questions about the warranty conditions.
Further information
For more information on operation, technology, environment and recycling, follow this link: qr.hilti.com/manual?id=2268212&id=2268213
This link is also to be found at the end of the documentation, in the form of a QR code.
Scan Me
CE Declaration of Conformity I UK Declaration of Conformity
Manufacturer:
Hilti Corporation Feldkircherstra0e 100
9494 Schaan I Liechtenstein
Importer:
Hilti (Gt. Britain) Limited
1 Trafford Wharf Road, Old Trafford Manchester, M17 1BY
| Serial Numbers: 1-99999999999 | ||
| 2006/42/EC I Supply of Machinery (Safety) | EN 60745-1:2009 | EN 301 489-1 V2.2.3 |
| Regulations 2008 2014,/30/EU I Electromagnetic Compatibility | +AII:2010 EN 60745-2-16:2010 | EN 301 489-17 V3.2.2 EN 300 328 V 2.1.1 |

Mario Grazioli
Head of Quality Management Business Unit Direct Fastening

Dr. Lars Taenzer
Head of BU Direct Fastening Business Unit Direct Fastening
![]()
| C 4-22 |
| C 6-22 |
| C 8-22 |
![]()
| B 22-55(01) | 0,56 kg | 1.23ib |
| B 22-85 (01) | 0,77 kg | 1.70ib |

Customer Support
Hilti Corporation
LI-9494 Schaan
Tel: +4232342111
Fax: +4232342965
www.hilti.group
































