MF FIRE NOVA Series Wood Burning Stove Reduced Clearance Kit

Product Information
The Nova Series Reduced Clearance Kit is designed to provide lower back wall clearance to combustibles. This kit is intended as a supplement to the Nova, Nova Tower, Nova 2, and Nova 2 Tower Owner’s Manuals. The kit is comprised of two parts, which vary depending on your model:
- Nova Reduced Clearance Kit (MF02-RCK)
- Nova Series Pipe Shield (0364-000-C)
- Nova Reduced Clearance Air Duct (N92) for Nova and Nova Tower models
- Nova 2 Reduced Clearance Kit (MF03-RCK)
- Nova Series Pipe Shield (0364-000-C)
- Nova 2 Reduced Clearance Air Duct (N93) for Nova 2 and Nova 2 Tower models
If any portions of the kit are damaged or removed, the stove cannot be operated unless clearance to combustibles is re-evaluated based on guidance in the respective product Owner’s Manual. Failure to follow all clearance to combustible requirements may result in property damage, bodily injury, or even death.
Product Usage Instructions
Before installing and using your new room heater with the Nova Series Reduced Clearance Kit, please read this entire manual. Failure to follow instructions may result in property damage, bodily injury, or even death. Contact local building or fire officials about restrictions and installation inspection requirements in your area. Do not install Nova in a mobile home.
- Hang the reduced clearance air duct from the two rear air duct bolts already installed on the rear of the stove.
- Refer to the table above for required clearances to combustibles for your specific model using the Nova Series Reduced Clearance Kit.
- If any portions of the kit are damaged or removed, the stove cannot be operated unless clearance to combustibles is re-evaluated based on guidance in the respective product Owner’s Manual.
Safety Notice
Please save these instructions for future reference. Please check our website for the most up-to-date version of this manual. Please read this entire manual before you install and use your new room heater. Failure to follow instructions may result in property damage, bodily injury, or even death. Contact local building or fire officials about restrictions and installation inspection requirements in your area. Do not install Nova in a mobile home!
The Nova Series Reduced Clearance Kit is installed to receive lower back wall clearance to combustibles. This Owner’s Manual is intended for use as a supplement to:
- Nova and Nova Tower Owner’s Manual, or
- Nova 2 and Nova 2 Tower Owner’s Manual
If any portions of the Nova Series Reduced Clearance Kit are damaged or removed, the stove cannot be operated unless clearance to combustibles are re-evaluated based on guidance in the respective product Owner’s Manual. Failure to follow all clearance to combustible requirements may result in property damage, damage, bodily injury, or even death
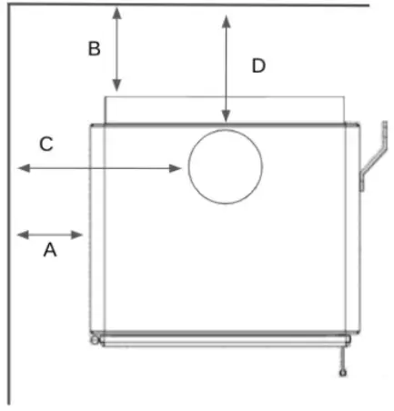
Top vent, ceiling exit

| Nova, Nova Tower Double Wall Connector Pipe with Reduced Clearance Kit | Nova 2, Nova 2 Tower Double Connector Pipe with Reduced Clearance Kit | ||
| A | Sidewall to unit | 20” (508 mm) | 22” (559 mm) |
| B | Backwall to unit | 7.5” (191 mm) | 9” (229 mm) |
| C | Sidewall to connector | 28” (711 mm) | 31” (787 mm) |
| D | Backwall to connector | 13” (330 mm) | 12.5” (318 mm) |
Your reduced clearance kit is comprised of two parts, depending on your model:
| Nova Reduced Clearance Kit (MF02-RCK) | Nova 2/Nova 2 Tower Reduced Clearance Kit (MF03-RCK) |
| Nova Series Pipe Shield (0364-000-C) | Nova Series Pipe Shield (0364-000-C) |
| Nova Reduced Clearance Air Duct (N92) | Nova 2 Reduced Clearance Air Duct (N93) |
The pipe shield should be placed atop the stove, centered behind the double wall connector pipe. It must be set back by ½” off the back of the double wall pipe. No additional securement is needed. If the pipe shield is damaged or removed, the stove cannot be operated unless clearance to combustibles are re-evaluated based on guidance in the respective product Owner’s Manual. Failure to follow all clearance to combustible requirements may result in property damage, damage, bodily injury, or even death.
The reduced clearance air duct should be hung from the two rear air duct bolts already installed on the rear of the stove.
Manufactured by:
MF Fire, Inc.
3031 Washington Blvd STE G, Baltimore, MD, USA.

















