NDV-8503-R LEXIDOME IP indoor 8000i 6MP PTRZ Network Dome Camera with 3.9-10mm Lens
Instruction Manual
NDV-8503-R LEXIDOME IP indoor 8000i 6MP PTRZ Network Dome Camera with 3.9-10mm Lens
NDV‑8502‑R | NDV‑8503‑R | NDV‑8504‑R
NDV‑8502‑RX | NDV‑8503‑RX
Safety
Read, follow, and retain for future reference all of the following safety instructions. Follow all warnings before operating the device.
1.1 Safety precautions
Caution!
Installation should only be performed by qualified service personnel in accordance with the National Electrical Code (NEC 800 CEC Section 60) or applicable local codes.
1.2 Important safety instructions
- To clean the device, do not use liquid cleaners or aerosol cleaners.
- Do not install the device near any heat sources such as radiators, heaters, stoves, or other equipment (including amplifiers) that produce heat.
- Do not spill liquids on the device before installation is completed.
- Take precautions to protect the device from power and lightning surges.
- If powered by a power adapter, the adapter should be properly grounded. The power cord must be connected to a socket or outlet with a ground connection.
- Use green/yellow (green with a yellow stripe) ground wires.
- Adjust only those controls specified in the operating instructions.
- Operate the device only from the type of power source indicated on the label.
- Unless qualified, do not attempt to service a damaged device yourself. Refer all servicing to qualified service personnel.
- Install in accordance with the manufacturer’s instructions in accordance with applicable local codes.
- Use only attachments/accessories specified by the manufacturer.
- Protect all connection cables from possible damage, particularly at connection points.
Caution!
The Low Voltage power supply unit must comply with EN/UL 62368-1. The power supply must be a SELV-LPS.
1.3 Notices
UL Disclaimer
Underwriter Laboratories Inc. (“UL”) has not tested the performance or reliability of the security or signaling aspects of this product. UL has only tested fire, shock and/or casualty hazards as outlined in Standard(s) for Safety for Information Technology Equipment, UL 62368-1. UL Certification does not cover the performance or reliability of the security or signaling aspects of this product.
UL MAKES NO REPRESENTATIONS, WARRANTIES, OR CERTIFICATIONS WHATSOEVER REGARDING THE PERFORMANCE OR RELIABILITY OF ANY SECURITY OR SIGNALING-RELATED FUNCTIONS OF THIS PRODUCT.
FCC statement (USA)
- This device complies with Part 15 of the FCC Rules. Operation is subject to the following two conditions:
– This device may not cause harmful interference.
– This device must accept any interference received, including interference that may cause undesired operation. - Changes or modifications not expressly approved by the party responsible for compliance could void the user’s authority to operate the equipment.
Note: This equipment has been tested and found to comply with the limits for a Class B digital device, pursuant to Part 15 of the FCC Rules. These limits are designed to provide reasonable protection against harmful interference in a residential installation. This equipment generates uses and can radiate radio frequency energy and, if not installed and used in accordance with the instructions, may cause harmful interference to radio communications. However, there is no guarantee that interference will not occur in a particular installation. If this equipment does cause harmful interference to radio or television reception, which can be determined by turning the equipment off and on, the user is encouraged to try to correct the interference by one or more of the following measures:
– Reorient or relocate the receiving antenna.
– Increase the separation between the equipment and receiver.
– Connect the equipment into an outlet on a circuit different from that to which the receiver is connected.
– Consult the dealer or an experienced radio/TV technician for help.
FCC supplier’s Declaration of Conformity
FLEXIDOME IP indoor 8000i: NDV-8502-R, NDV-8503-R, NDV-8504-R, NDV-8502-RX, NDV-8503RX
Responsible party
Bosch Security Systems Inc
130 Perinton Parkway
14450 Fairport, NY, USA
www.boschsecurity.us
Use the latest software
Before operating the device for the first time, make sure that you install the latest applicable release of your software version. For consistent functionality, compatibility, performance, and security, regularly update the software throughout the operational life of the device. Follow the instructions in the product documentation regarding software updates.
The following links provide more information:
– General information: https://www.boschsecurity.com/xc/en/support/product-security/
– Security advisories, that is a list of identified vulnerabilities and proposed solutions: https://www.boschsecurity.com/xc/en/support/product-security/security-advisories.html
Bosch assumes no liability whatsoever for any damage caused by operating its products with outdated software components.
Old electrical and electronic equipment
This product and/or battery must be disposed of separately from household waste. Dispose of such equipment according to local laws and regulations, to allow their reuse and/or recycling. This will help in conserving resources, and in protecting human health and the environment.
Short information
This manual has been compiled with great care and the information it contains has been thoroughly verified. The text was correct at the time of publication, however, the content can change without notice. Bosch Security Systems accepts no liability for damage resulting directly or indirectly from faults, incompleteness or discrepancies between this manual and the product described.
Copyright
This manual is the intellectual property of Bosch Security Systems and is protected by copyright.
All rights reserved.
Trademarks
All hardware and software product names used in this document are likely to be registered trademarks and must be treated accordingly.
More information
For more information please contact the nearest Bosch Security Systems location or visit www.boschsecurity.com.
https://www.boschsecurity.com/xc/en/product-catalog/
System Overview
3.1 Product Description
The FLEXIDOME IP indoor 8000i series offers a range of cameras that, depending on its features, provide crisp and highly detailed images even in extreme low-light situations, up to the perfect balance between high resolution and extreme low-light sensitivity with starlight X technology, ensuring highly detailed images even in the most challenging situations.
The camera’s remote commissioning functionality makes sure installation and commissioning can be done in very little time. Using a PC or a mobile device with the Bosch Project Assistant app, you can pan, tilt, roll and zoom (PTRZ) and point the camera to the required field of view with a single click – without ever having to touch the camera or lens.
Product Overview

- Mounting plate
- Camera module

- Reset button
- microSD card slots
- Microphone
- RJ45 connector
LED overview
A status LED can be seen in the camera bubble on the opposite side of the camera lens.
Refer to the table below for the different status LED functions.
| Status LED | Meaning |
| Solid red | Booting |
| Flashing red | Resetting |
| Solid green | Active; but no video is being streamed |
| Flashing green | Active and video are being streamed |
3.2 Intended use
The camera is designed to be integrated into professional IP video surveillance solutions as a surveillance camera. Installation, commissioning, and operation of the camera shall be carried out by trained professionals only.
The use of surveillance cameras is restricted by national laws and regulations. Use the camera accordingly.
Preparing for installation
4.1 Unpacking
This equipment should be unpacked and handled with care. If an item appears to have been damaged in shipment, notify the shipper immediately.
Verify that all parts are included. If any items are missing, notify your Bosch Security Systems sales or customer service representative.
The original packaging is the safest container in which to transport the unit and can be used if returning the unit for service.
4.2 Contents
| Quantity | Component | |
![]() | 1 | Mounting plate |
| 1 | Camera module | |
| 1 | Conduit plate | |
| 1 | Conduit cover: pre-installed on conduit plate | |
| 2 | Conduit plate hole adapters: M25 (3/4 inch) – pre-installed on conduit plate – and M20 (1/2 inch) | |
| 1 | Conduit hole adapter rubber: for diameters less than M20 (1/2 inch) | |
| 1 | Screw | |
| 1 | Washer: for mounting of conduit plate | |
| 1 | TR20 bit | |
![]() | 1 | Quick installation guide |
| 1 | Safety information | |
| 3 | Identification label sticker |
Make sure that:
- All parts are included and without damage.
- The necessary cable is ready for use (refer to Wiring, page 10 for more information): network cable, shorter than 100 m.
4.3 Wiring
Connect the camera to a 10/100 Base-T network:
- Use STP Category 5e (or higher) network cable shorter than 100 m with RJ45 connectors (the camera network socket is Auto MDIX compliant).
- Power is supplied to the camera through the network cable compliant with the Power-over-Ethernet standard.
Notice!
Use only PoE-approved devices.
In-box configuration
Inbox configuration of the camera can be done via a wired connection with the camera still inside the box, by using a mobile device or PC.
- Connect a network cable with PoE, and wait 1 minute for the camera to power up.
- Connect and configure the camera via the wired network by using the web interface, the Project Assistant app or the Configuration Manager.
For more detail about the Project Assistant app, refer to Commissioning, page 32.
5.1 SD card installation
Notice!
Bosch recommends the use of industrial micro SD cards with health monitoring.
- Unscrew the thumb screw of the microSD card compartment. No tools are needed.

- Open the lid of the microSD card compartment.

- Install the microSD card(s) in the microSD slot(s).
Notice!
The camera supports dual microSD cards for increased maximum storage capacity or enhanced data protection. In case only one microSD card is used, install it into the microSD card slot 1. - Press the microSD card firmly until it latches into place in the slot.
To remove the card, press it into the slot until it unlatches again. Then, remove it from the slot. - Close the lid of the microSD card compartment.
- Tighten the thumb screw of the microSD card compartment by hand.
Hardware installation
Caution!
Do not remove the bubble to move the camera lens manually.
The lens system is motorized for easy commissioning. Moving these parts manually will break the gears and damage the camera. In order to move or focus the camera lens, always use the motorized PTRZ controls mentioned in this manual. Removal of the bubble is only allowed for bubble replacement.
6.1 Installing the mounting plate
The mounting plate is used to fix the camera to a flat surface. It offers different holes and slots for a variety of fixing options.
- 10.2 cm / 4 in. Square junction box
- Pole mount (NDA-8001-PLEN/NDA-8001-IC/NDA-U-PMAL/NDA-UPMAS)/Corner mount (NDA-U-CMA)
- Single gang box or universal slot, 45 mm / 1.8 into 85 mm/3.3 in
- Double gang box
- Ceiling/wall mount and pendant interface plate (NDA-8000-PIP)
Installation options
The camera has two configurations for surface mounting:
- Refer to Installing the mounting plate without conduit, page 14, if the wires are not on the outside of the surface.
- Refer to Installing the mounting plate with conduit, page 15, if the wires are on the outside of the surface.
Additionally, the camera has various mounting options when combined with the available accessories. Refer to Mounting accessories, page 27 for the available accessories.
Notice!
The plugs and screws for surface mounting are not supplied with the camera.
6.1.1 Installing the mounting plate without conduit
- Remove the mounting plate from the box.
- Position the mounting plate with the center hole on top of the cable exit on the surface, and mark the positions of the screw holes on the surface.
– For a camera mounted on a wall: make sure that the mounting plate is oriented at a 90º angle, with the holes parallel to the floor, for proper alignment of mounting screws and logos.

- Drill the 4 holes with the appropriate diameter drill to support your 5-6 mm (0.2 inches) screws and plugs.
- Install 4 plugs in the holes.
- Put the cable through the center hole of the mounting plate.
- Attach the mounting plate to the surface with 4 screws. Tighten the screws between 4 and 7 Nm (3 and 5.2 lb-ft).
6.1.2 Installing the mounting plate with conduit
– For a camera mounted on a wall: make sure that the mounting plate is oriented at a 90º angle, with the holes parallel to the floor, for proper alignment of mounting screws and logos.


- Remove the conduit plate from the box.
- Mark the position of the hole on the surface.
- Drill the hole with the appropriate diameter drill.
- Install a plug in the hole.
- Select the applicable conduit plate adapter and install it on the conduit plate:
– If the conduit is M25 / ¾ in., use the conduit plate adapter with the larger hole (mounted by default).
– If the conduit is M20 / ½ in., use the conduit plate adapter with the smaller hole.
– If the conduit or cable diameter is smaller than M20, use the rubber adapter with the conduit plate adapter with the larger hole. The rubber must be perforated to put the conduit or cable through.
- Put the cable through the hole of the conduit plate.
- Attach the conduit plate with the conduit plate adapter to the surface with the washer and a 5-6 mm (0.2 in.) screw. Tighten the screw between 2.5 and 4 Nm (1.8 lb-ft and 3 lb-ft).
- Remove the mounting plate from the box.
- Mark the positions of the holes on the surface. The mounting plate has only one side available for the conduit. Make sure to position it accordingly.

- Drill the 4 holes with the appropriate diameter drill to support your 5-6 mm (0.2 inches) screws and plugs.
- Install 4 plugs in the holes.
- Attach the mounting plate to the surface with 4 screws. Tighten the screws between 4 and 7 Nm (3 and 5.2 lb-ft).

- Install the conduit cover on the conduit plate with the bolt. Tighten the screw between 1.4 and 2 Nm (1 lb-ft and 1.5 lb-ft).

- Prepare the camera module and remove the conduit door.
6.2 Wiring the camera module
- Remove the camera module from the box.
Wiring options
Chose one of the two possible wiring options:
- Wiring the camera module, page 18
- Wiring the camera module with the IP54 protection kit, page 18
6.2.1 Wiring the camera module
Notice!
IP5X ingress protection
If you were the camera module according to the following instructions, the camera is providing IP5X protection against dust ingress.
- Remove the camera module from the box.
- Connect the network cable to the RJ-45 connector of the camera module.
6.2.2 Wiring the camera module with the IP54 protection kit
Notice!
IP54 ingress protection
If you were the camera module according to the following instructions, the camera is providing IP54 protection against dust and water ingress.
Notice!
NDA-8001-IP IP54 protection kit
Use the NDA-8001-IP IP54 protection kit (sold separately) to wire the camera module with IP54 ingress protection.
- Remove the NDA-8001-IP IP54 protection kit from the box.
- Put the RJ-45 punch-through aid on the network cable.

- Remove the tube from the M20 rubber grommet.

- Put the M20 rubber grommet on the edge of the RJ-45 punch-through aid. Since the grommet is directional, the punch-through tool and cable should be inserted from the side with the larger diameter.

- Push the RJ-45 punch-through aid together with the network cable connector through the M20 rubber grommet. Leave about 12 cm (5 inches) between the grommet and the end of the cable.

- Remove the RJ-45 punch-through aid.
- Screw the two ball studs into the raised screw pods of the camera module as shown below.

- Slide the IP54 cover onto the network cable.
- Remove the camera module from the box.
- Connect the network cable to the RJ-45 connector of the camera module.

- Push the IP54 cover onto the two ball studs in the camera module until it clicks into place.

- Tighten the three screws of the IP54 cover between 0.6 and 0.8 Nm (0.44 and 0.59 ft-lb).

- Push the M20 rubber grommet down into the IP54 cover and ensure it’s fitted correctly all around to ensure a waterproof seal.

- Check and make sure that the grommet sleeve faces outwards for a proper waterproof seal. If facing inwards, slightly pull back the network cable.

6.3 Installing the camera module
- If the installation of the mounting plate was done with the conduit, remove the door on the camera module. Keep the screw and lid.

- Align the camera according to the conduit installation.
– If the installation of the mounting plate was done without the conduit (A), align the silver triangle on the conduit door with the red circle on the mounting plate.
– If the installation of the mounting plate was done with the conduit (B), align the cutout with the conduit installed on the mounting plate. - Push the camera against the mounting plate and turn the camera clockwise until it clicks into place. Make sure that the camera module is secured.

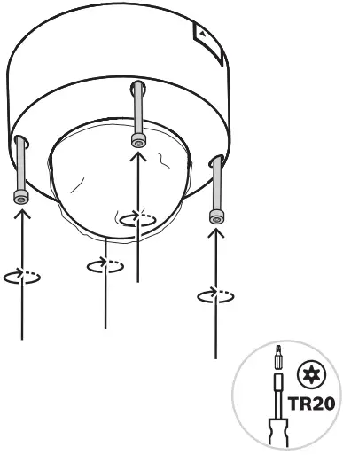
- Tighten the 4 captive screws of the screw holes in the camera module between 1 and 1.5 Nm (0.74 and 1.1 ft-lb).

- Remove the protective cover from the bubble.

6.4 Mounting accessories
| NDA-8001-IP | RJ45 waterproofing kit. | ![]() |
| NDA-8000-CBL | Clear replacement bubble. | ![]() |
| NDA-8000-TBL | Tinted bubble. | ![]() |
| NDA-8000-IC | In-ceiling mount kit. | ![]() |
| NDA-8000-PLAN | Plenum-rated in-ceiling mount kit. | ![]() |
| NDA-8001-IC | In-ceiling mount kit with microphone support. | ![]() |
| NDA-8001-PLAN | Plenum-rated in-ceiling mount kit with microphone support. | ![]() |
| NDA-8000-SP | Optional soft ceiling support for in-ceiling mount kit. | ![]() |
| NDA-8000-PIP | Pendant interface plate for FLEXIDOME IP 8000i, indoor. | ![]() |
| NDA-U-WMT | Universal wall mount for dome cameras, white. | ![]() |
| NDA-U-PMT | Universal pipe mount for dome cameras, 31 cm, white. | |
| NDA-U-PMTS | Universal pendant pipe mount for dome cameras, 11 cm (4″), white. | |
| NDA-U-PMTE | Extension for universal pipe mount, 50 cm, white. | |
| NDA-U-PSMB | Surface mount box (SMB) for wall mount or pipe mount. | ![]() |
| NDA-U-PA0 | Surveillance cabinet, 24 VAC input. | ![]() |
| NDA-U-PA1 | Surveillance cabinet, 100 120 VAC input. | ![]() |
| NDA-U-PA2 | Surveillance cabinet, 230 VAC input. | ![]() |
| NDA-U-PMAL | Universal pole mount adapter, white; large. | ![]() |
| NDA-U-PMAS | Universal pole mount adapter, white; small. | ![]() |
| NDA-U-WMTG | Universal wall mount, compatible with gang box installation for fixed dome cameras only, white. | ![]() |
| NDA-U-PMTG | Universal pipe mount, compatible with gang box installation for fixed dome cameras only, white. | ![]() |
| VG4-SFPSCKT | Ethernet media converter video transmitter/data receiver fiber optic kit | ![]() |
| SFP-2 | SFP Fiber Optic Module, 2 km (1.2 miles), 2 LC connectors. Multi-mode, 1310 mm. | ![]() |
| SFP-3 | SFP Fiber Optic Module, 20 km (12.4 miles), 2 LC connectors. Single-mode, 1310 nm. | ![]() |
| SFP-25 | SFP Fiber Optic Module, 2 km (1.2 miles), 1 SC connector. Multi-mode, 1310/1550 nm. | ![]() |
| SFP-26 | SFP Fiber Optic Module, 2 km (1.2 miles), 1 SC connector. Multi-mode, 1550/1310 nm. | ![]() |
6.5 Removing the camera
- Untighten the 4 captive screws of the screw holes in the camera module.
- Push the camera upwards and rotate counterclockwise to un-click it from the mounting plate.

- Disconnect the Ethernet cable and remove the camera.
Commissioning
With the remote commissioning functionality, only a PC or a mobile device is needed to pan, tilt, roll, and zoom (PTRZ), and point the camera to the required field of view – without ever having to remove the camera from the box.
Do the commissioning locally at the camera via WiFi network if it’s available using the Project assistant app, available for iOS, Windows, or Android, or by connecting remotely to the camera via the network using the Project Assistant app, the camera’s web interface, or the Configuration Manager.
To commission the camera using the Project Assistant app:
- Connect the network cable to the PoE.
- Download the Project Assistant app.
https://downloadstore.boschsecurity.com/index.php?type=COMAPPW - Do the necessary steps to configure the device. Use the step-by-step instructional video for help.
https://youtu.be/Xw3QUk8AHx0
If required, re-commissioning can be done at any time.
Notice!
The remote commissioning functionality (PTRZ) of the camera is designed as an installation aid for first set-up or adjustments at a later moment in time.
Connection via the web browser
This device can be accessed via a web browser to configure, control, receive live images, and replay stored video.
For the best experience, use the Microsoft Internet Explorer browser with the Bosch MPEG-ActiveX plugin. This enables these functions:
- Native Bosch video decoder.
- Video analytics overlays.
- Video analytics configuration.
- Live Page: snapshot and record to PC.
- Status icon overlays.
Optionally, these tools can be used to configure the device: - Project Assistant app: user-friendly software to change basic device configurations and set fields of view. Available on iOS, Android, and Windows.
- Configuration Manager: advanced configuration software available for Windows. Download the software from https://downloadstore.boschsecurity.com.
8.1 System requirements
The system recommendations are:
- Computer with Intel Skylake processor or better.
- Intel HD530 graphic card with performance that matches or is better than the resolution of the device.
- Windows 7 (or later) operating system.
- Network access.
- Internet Explorer version 11 or later
- or Application software: Video Security Client, BVMS, or Project Assistant app.
8.2 Establishing the connection
The device must have a valid IP address to operate on the network and a compatible subnet mask.
By default, DHCP is pre-set at the factory On plus Link-Local so a DHCP server assigns an IP address or, if no DHCP server is available, a link-local address (auto-IP) is assigned within the range 169.254.1.0 to 169.254.254.255.
The Project Assistant app or Configuration Manager can be used to find the IP address.
Download the software from https://downloadstore.boschsecurity.com:
- Start the web browser.
- Enter the IP address of the device as the URL.
- During the initial installation, confirm any security questions that show.
If a RADIUS server is used for network access control (802.1x authentication), you must configure the device before the device can communicate with the network.
To configure the device, connect it directly to a computer using a network cable and then set the service-level password.
8.3 Password protection in camera
The device is password-protected. The first time that any user accesses the device, the device will prompt the user to set a password at the service level.
The camera requires a strong password. Follow the prompts in the dialog box, which specifies what is required. The system measures the strength of the password that you enter.
When you use Configuration Manager to access your device for the first time, you must set the initial password of the device in Configuration Manager. The Users section (General > Unit Access > Users) displays the message, “Before you can use this device you have to secure it with an initial password.”
Note: After you set the initial password, a “lock” icon appears next to the device name in the Devices list in Configuration Manager.
You can also launch the device webpage directly. In the device webpage, an initial password page appears, displaying input fields and a password strength gauge.
Enter the user name (“Service”) and a password in the appropriate fields. Refer to the section User Management for more information.
After a service-level password is set for the device, the device displays a dialog box that prompts users to enter the user name (“Service”) and the service-level password every time they access the device.
- Fill in the fields User name and Password.
- Click OK. If the password is correct, the desired page appears.
Note: New releases of software may require you to set a new and stronger password.
Troubleshooting
9.1 Resolving problems
The following table is intended to help identify the causes of malfunctions and correct them where possible.
| Malfunction | Possible causes | Solution |
| The unit does not operate. | Power failure. | Make sure that the power supply is working properly. |
| Faulty cable connections. | Do a check of all cables, plugs, contacts, and connections. | |
| PTRZ does not work | Motors have been used for a long and have overheated. | Pause any lens movement until the motors have cooled down. |
| Camera parts are out of place or broken due to transportation. | Please contact your supplier or system integrator, or go directly to Bosch Security Systems customer service. | |
| PTRZ does not work correctly. | The camera has lost calibration during transportation. | Reset the PTR in the user interface to reset the pan, tilt, and roll motors. Reset the lens in the user interface to reset the focus and zoom of the lens. If that does not work, please contact your supplier or system integrator, or go directly to Bosch Security Systems customer service. |
| No connection was established, and no image transmission. | Incorrect unit configuration. | Check all configuration parameters (reset to factory default if necessary). |
| Faulty installation. | Check all cables, plugs, contacts, and connections. | |
| Wrong IP address. | Check the IP addresses (ping). | |
| Faulty data transmission within the LAN. | Check the data transmission with ping. | |
| The maximum number of connections has been reached. | Wait until there is a free connection and call the transmitter again. | |
| Moisture/condensation inside the bubble, camera leaking. | Housing is not closed properly | Re-install the camera and check for proper closure of the bubble cover and SD card lid. |
| Closing seals are damaged. | Please contact your supplier or system integrator, or go directly to Bosch Security Systems customer service. | |
| Rubber grommet not placed correctly on IP54 protection kit. | Re-install rubber grommet. | |
| The cable diameter or shape is not as specified for the IP54 protection kit. | Re-install camera with proper cabling. | |
| The air vent is blocked due to dirt/water. | Gently clean air vent. | |
| Air vents are damaged or loose. | Please contact your supplier or system integrator, or go directly to Bosch Security Systems customer service. | |
| The camera has been off for an extended period of time. | Turn the camera on and leave it on until condensation clears. | |
| No audio transmission to the remote station | Faulty microphone cable connection. | Open the camera bubble and correctly connect the microphone connector. |
| Incorrect configuration. | Check audio parameters on the Audio configuration and LIVE page functions pages. | |
| The unit does not report an alarm. | The alarm source is not selected. | Select possible alarm sources on the Alarm sources configuration page. |
| No alarm response was specified. | Specify the desired alarm response to the Alarm connections configuration page; if necessary change the IP address. | |
| The unit is not operational after a firmware upload. | Power failure during programming by firmware file. | Have the unit checked by Customer Service and replace it if necessary. |
| Incorrect firmware file. | Enter the IP address of the unit followed by /main.htm in your Web browser and repeat the upload. | |
| The web browser contains empty fields. | The active proxy server in the network. | Create a rule in the local computer’s proxy settings to exclude local IP addresses. |
9.2 Testing the network connection
The ping command can be used to check the connection between two IP addresses. This allows testing whether a device is active in the network.
- Open the DOS command prompt.
- Type ping followed by the IP address of the device.
If the device is found, the response appears as “Reply from … “, followed by the number of bytes sent and the transmission time in milliseconds. Otherwise, the device cannot be accessed via the network. This might be because:
- The device is not properly connected to the network. Check the cable connections in this case.
- The device is not correctly integrated into the network. Check the IP address, subnet mask, and gateway address.
9.3 Customer service
If a fault cannot be resolved, please contact your supplier or system integrator, or go directly to Bosch Security Systems customer service.
The version numbers of the internal firmware can be viewed on a service page. Please note this information before contacting customer service.
- In the address bar of your browser, after the unit IP address, enter: /version for example 192.168.0.80/version
- Write down the information or print out the page.
Maintenance
There are different types of bubbles available to choose from. All bubbles require special care when handling and cleaning to avoid scratches.
10.1 Bubble handling
The bubble may be packaged with a protective plastic sheet. It is recommended that the bubble remain stored this way until it is ready to install. Limit handling the bubble, as any scratches can quickly affect visibility.
10.2 Bubble cleaning
If cleaning the bubble is required, use the following procedures and comply with all the warnings listed below.
Cleaning the bubble interior
The extremely soft interior surface should not be cleaned by rubbing or dusting with a cloth.
Use clean dry compressed air, preferably from a spray can, to remove any dust from the interior surface.
Warning!
Do not use alcohol-based solutions to clean the bubble. This will cause it to the cloud and over time cause stress aging, which makes the bubble brittle.
Cleaning the bubble exterior
The exterior of the bubble is hard coated for increased scratch resistance. If cleaning is needed, only use clean microfiber lens cloths use a non-abrasive, solvent-free neutral soap or detergent with water. Dry the bubble thoroughly with a dry and clean microfiber lens cloth to prevent water spots. Never scrub the bubble with any abrasive material or cleaners.
Cautions
- Do not clean bubbles in the hot sun or on very hot days.
- Do not use abrasive or highly alkaline cleaners on the bubble.
- Do not scrape the bubble with razor blades or other sharp instruments.
- Do not use Benzene, Gasoline, Acetone, or Carbon Tetrachloride on the bubble.
10.3 Bubble replacement
Notice!
Yellowing of bubble
The bubble may become yellow over time due to exposure to UV radiation like direct or indirect sunlight.
In case the bubble gets damaged or yellow, it can be replaced by a clear bubble (NDA-8000CBL) or a tinted bubble (NDA-8000-TBL).
Clear bubbles offer maximum sensitivity by allowing as much light through as possible. Tinted bubbles offer covertness by making it difficult to see from the outside the direction the camera is facing.
For instructions on how to replace the bubble, refer to the respective Quick Installation Guide.
10.4 Camera reset
To reset the camera to factory settings:
- If the camera is already mounted, remove the camera module from its mounting plate.
- Unscrew the thumb screw of the microSD card compartment. No tools are needed.

- Open the lid of the microSD card compartment.

- Press tightly and hold the reset button for 15 seconds.
The LED light by the reset button flashes in red when the reset action is triggered.
- Release the reset button.
- Wait 60 seconds for the LED light to turn off and for the reset to be complete.
- Close the lid of the microSD card compartment.
- Tighten the thumb screw of the microSD card compartment by hand.
- If the camera was mounted, the camera module can now be re-attached to the mounting plate. For more information on how to install the camera module, refer to Installing the camera module, page 24.
Decommissioning
11.1 Transfer
The device should only be passed on together with this Installation manual.
11.2 Disposal
Old electrical and electronic equipment
This product and/or battery must be disposed of separately from household waste. Dispose of such equipment according to local laws and regulations, to allow their reuse and/or recycling. This will help in conserving resources, and in protecting human health and the environment.
Technical data
12.1 Dimensions
Dimensions in mm (inch)
12.2 Specifications
| Power | |
| Input voltage | PoE IEEE 802.3af / 802.3at Type 1, Class 3 |
| Power Consumption (typical / maximum) | PoE: 7 W / 11.5 W |
| Sensor | |||||
| NDV-8502-R | NDV-8503-R | NDV-8504-R | NDV-8502-RX | NDV-8503-RX | |
| Sensor type | 1/2.8‑inch CMOS | 1/1.8‑inch CMOS | |||
| Effective pixels | 1920 x 1080 2.9 μm pixels, 2.1MP (approx.) | 3264 x 1840 2.3 μm pixels, 6.0MP (approx.) | 3840 x 2160 2.0 μm pixels, 8.3MP (approx.) | 1920 x 1080 4.1 μm pixels, 2.1MP (approx.) | 2688 x 1520 2.9 μm pixels, 4.1MP (approx.) |
| Sensitivity | |||||
| NDV-8502-R | NDV-8503-R | NDV-8504-R | NDV-8502-RX | NDV-8503-RX | |
| Low-light technology | starlight | starlight X | |||
| Measured according to IEC 62676 Part 5 (1/25, F1.3) | |||||
| Color | 0.0104 lx | 0.0509 lx | 0.054 lx | 0.0061 lx | 0.0078 lx |
| Mono | 0.0039 lx | 0.0086 lx | 0.0098 lx | 0.0007 lx | 0.0008 lx |
| Dynamic range | |||||
| NDV-8502-R | NDV-8503-R | NDV-8504-R | NDV-8502-RX | NDV-8503-RX | |
| Dynamic range (WDR) | HDR 146 dB | HDR 120 dB | HDR X 144 dB | HDR X 141 dB | |
| Measured according to IEC 62676 Par t 5 | 108 dB WDR | 107 dB WDR | 108 dB WDR | 108 dB WDR | |
| Optical | |||||
| NDV-8502-R | NDV-8503-R | NDV-8504-R | NDV-8502-RX | NDV-8503-RX | |
| Lens | 3 to 9 mm P- iris lens (IR corrected); F-stop 1.2 – 2.3 | 3.9 to 10 mm P-iris lens (IR corrected); F-stop 1.6 – 2.7 | 4.4 to 10 mm P-iris lens (IR corrected); F-stop 1.3 – 1.97 | ||
| Adjustment | Motorized zoom/focus | ||||
| Iris control | P-iris control | ||||
| Viewing angle | Wide: 117º x 59º (H x V); Tele: 37º x 21º (H x V) | Wide: 117º x 62º (H x V); Tele: 44º x 24º (H x V) | Wide: 110° x 56° (H x V); Tele: 48° x 27° (H x V) | ||
| Platform | |
| Common product platform | CPP7.3 |
| Video streaming | |||||
| NDV-8502-R | NDV-8503-R | NDV-8504-R | NDV-8502-RX | NDV-8503-RX | |
| Video compression | H.265; H.264; M- JPEG | ||||
| Sensor modes | 25 fps, HDR, 1920 x 1080 (2.1 MP) 30 fps, HDR, 1920 x 1080 (2.1 MP) | 25 fps, HDR, 3072 x 1728 (5.3 MP) 30 fps, HDR, 3072 x 1728 (5.3 MP) | 20 fps, HDR, 3840 x 2160 (8.3 MP) 25 fps, 3840 x 2160 (8.3 MP) | 25 fps, HDR X, 1920 x 1080 (2.1 MP); | 25 fps, HDR X, 2688 x 1520 (4.1 MP); |
| Video streaming | |||||
| NDV-8502-R | NDV-8503-R | NDV-8504-R | NDV-8502-RX | NDV-8503-RX | |
| 50 fps, 1920 x 1080 (2.1 MP) 60 fps, 1920 x 1080 (2.1 MP) | 25 fps, 3264 x 1840 (6 MP) 30 fps, 3264 x 1840 (6 MP) | 30 fps, 3840 x 2160 (8.3 MP) | 30 fps, HDR X, 1920 x 1080 (2.1 MP); 50 fps, 1920 x 1080 (2.1 MP); 60 fps, 1920 x 1080 (2.1 MP) | 30 fps, HDR X, 2688 x 1520 (4.1 MP); 50 fps, 2688 x 1520 (4.1 MP); 60 fps, 2688 x 1520 (4.1 MP) | |
| Streaming | Multiple configurable streams in H.264, H.265, and M-JPEG, configurable frame rate and bandwidth. Regions of Interest (ROI) Bosch Intelligent Streaming | ||||
| Camera latency | 67 ms (2 MP, 60 fps) | 120 ms (6 MP, 30 fps) | 67 ms (60 fps) | ||
| GOP structure | IP, IBP, IBBP | IP | IBBP | ||
| Frame rate | 1-60 fps | 1-30 fps | 1-60 fps | ||
| Signal-to-Noise Ratio (SNR) | >55 dB | ||||
| Video resolution (H x V) | |||||
| NDV-8502-R | NDV-8503-R | NDV-8504-R | NDV-8502-RX | NDV-8503-RX | |
| Supported resolutions | HD 1080p 19 20 x 1080, 1.3MP 1536 x 864, HD 720p 128 0 x 720, SD 432p 768 x 432, D1 (4:3) 720 x 576, VGA (4:3) 640 x 480 | 6MP 3264 x 1 840, 5.3MP 3072 x 1728, 4.1MP 2688 x 1512, 3MP 2304 x 1 296, 2.8MP (4:3) 1 920 x 1440, HD 1080p 19 20 x 1080, 1.3MP 1536 x 864, 1.3MP (5:4) 1280 x 1024, HD 720p 128 0 x 720, SD 432p 768 x 432, SD 480p (4:3) 720 x 480, VGA (4:3) 640 x 480 | 4K UHD 3840 x 2160, 7.2MP 3584 x 2016, 2.8MP (4:3) 1920 x 1440, HD 1080p 19 20 x 1080, 1.3MP 1536 x 864, 1.3 MP (5:4) 1280 x 1024, HD 720p 128 0 x 720, SD 432p 768 x 432, SD 480p (4:3) 720 x 480, VGA (4:3) 640 x 480 | HD 1080p 19 20 x 1080, 1.3MP 1536 x 864, 1.3MP (5:4) 1280 x 1024, HD 720p 1280 x 720, SD 432p 768 x 432, SD 480p (4:3) 720 x 480, VGA (4:3) 640 x 480 | 4.1 MP 2688 x 1520, 3.7 MP 2560 x 1440, 2.8 MP (4:3) 1920 x 1440, HD 1080p 19 20 x 1080, 1.3MP 1536 x 864, 1.3 MP (5:4) 1280 x 1024, HD 720p 1280 x 720, SD 432p 768 x 432, SD 480p (4:3) 720 x 480, VGA (4:3) 640 x 480 |
| Camera installation | |
| Mirror image | On / Off |
| Rotate | 0° / 90° upright / 180° / 270° upright |
| Camera LED | Auto disable/Enable/Disable |
| Positioning | Coordinates / Mounting height |
| Camera view wizard | Motorized pan, tilt, roll, zoom, autofocus |
| Video functions – color | |
| Adjustable picture settings | Contrast, Saturation, Brightness |
| White Balance | 2500 to 10000K, 4 automatic modes (Basic, Standard, Sodium lamp, Dominant color), Manual mode and Hold mode |
| Video functions – ALC | |
| ALC | Mode (standard, fluorescent), Level, Average vs. peak, Speed, Maximum gain |
| Exposure | Automatic Electronic Shutter (AES); Fixed shutter (1/25[30] to 1/15000) selectable; Default shutter, Maximum shutter |
| P-iris | Automatic/manual, priority |
| Day/Night | Auto (adjustable switch points), Color, Monochrome |
| Video functions – enhance | |||||
| NDV-8502-R | NDV-8503-R | NDV-8504-R | NDV-8502-RX | NDV-8503-RX | |
| High dynamic range | HDR – Auto, HDR – Extreme | HDR X – Motion optimized, HDR X – Optimized DR, HDR X – Extreme DR | |||
| Enhancement s | Backlight compensation, Contrast enhancement | Backlight compensation, Contrast enhancement, Intelligent Auto Exposure | |||
| Intelligent defog | Intelligent Defog automatically adjusts parameters for the best picture in foggy or misty scenes (switchable) | ||||
| Sharpness | Sharpness enhancement level selectable | ||||
| Noise reduction | Intelligent Dynamic Noise Reduction with separate temporal and spatial adjustments | ||||
| Video content analysis | |||||
| NDV-8502-R | NDV-8503-R | NDV-8504-R | NDV-8502-RX | NDV-8503-RX | |
| Analysis type | Intelligent Video Analytics, Camera Trainer | ||||
| Maximum IVA detection range | Wide: 5.01 m – 32.68 m (16.44 ft – 107.22 ft) Tele: 15.29 m – 150.09 m (50.16 ft – 492.42 ft) (depending on setup and scene) | Wide: 4.72 m – 32.68 m (15.49 ft – 107.22 ft) Tele: 13.33 m – 130.87 m (43.73 ft – 429.36 ft) (depending on setup and scene) | Wide: 5.33 m – 37.34 m (17.49 ft – 122.51 ft) Tele: 11.80 m – 115.87 m (38.71 ft – 380.15 ft) (depending on setup and scene) | ||
| Configuration s | Silent VCA / Profile1/2 / Scheduled / Event triggered | ||||
| Alarm rules (combinable) | Any object, Object in the field, Line crossing, Enter / leave the field, Loitering, Follow route, Idle/removed object, Counting, Occupancy, Crowd density estimation, Condition change, Similarity search, Flow/counter flow | ||||
| Object filters | Duration, Size, Aspect ratio, Speed, Direction, Color, Object classes (4) | ||||
| Tracking modes | Standard (2D) tracking, 3D tracking, 3D people tracking, Ship tracking, Museum mode | ||||
| Calibration / Geolocation | Automatic, based on gyro sensor, focal length, and camera height | ||||
| Additional functionalities | Tamper detection, Face detection | ||||
| Additional functions | |
| Scene modes | 10 default modes with scheduler: Standard, Sodium lighting, Fast movement, Sensitivity boost, Dynamic backlight, Vibrant, Color only, Sports & Gaming, Retail, License Plate Recognition (LPR) |
| Privacy Masking | Eight independent areas, fully programmable |
| Display stamping | Name; Logo; Time; Alarm message |
| Pixel counter | Selectable area |
| Local storage | |
| Internal RAM | 5 s pre-alarm recording |
| Memory card slots | Dual SDXC/SDHC microSD card slots, up to 2TB. |
| Dual SD-card slot configurations | – Mirror (redundant storage) – Failover (extended service interval) – Extend (maximum retention time) – Automatic Network Replenishment |
| Local storage | |
| Industrial SD cards | Extreme lifetime and health monitoring support that provides early service indication. |
| Input/output | |
| Ethernet | Shielded RJ45 |
| Surge protection | Ethernet: 1 kV, 2 kA to the ground (8/20 µs pulse) |
| Fiber optics (sold separately) | The Fiber Optic Ethernet Media Converter kit (VG4- SFPSCKT) installed inside a Surveillance Cabinet (NDA-U- PA0, NDA-U-PA1, or NDA-U-PA2) provides the fiber optic interface to the mounted camera. |
| Audio streaming | |
| Audio input | Built-in microphone (can be permanently disabled) |
| Standard | G.711, 8 kHz sampling rate L16, 16 kHz sampling rate AAC-LC, 48 kbps at 16 kHz sampling rate AAC-LC, 80 kbps at 16 kHz sampling rate |
| Signal-to-Noise Ratio | >50 dB |
| Network | |
| Protocols | IPv4, IPv6, UDP, TCP, HTTP, HTTPS, RTP/RTCP, IGMP V2/V3, ICMP, ICMPv6, RTSP, FTP, ARP, DHCP, APIPA (Auto-IP, link local address), NTP (SNTP), SNMP (V1, V3, MIB-II), 802.1x, DNS, DNSv6, DDNS (DynDNS.org, selfHOST.de, no-ip.com), SMTP, iSCSI, UPnP (SSDP), DiffServ (QoS), LLDP, SOAP, Dropbox™, CHAP, digest authentication |
| Ethernet | 10/100 Base-T |
| Interoperability | ONVIF Profile S; ONVIF Profile G; ONVIF Profile M; ONVIF Profile T |
| Data security | |
| Crypto Coprocessor (TPM) | RSA 2048 bit, AES/CBC 256 bit |
| PKI | X.509 certificates |
| Encryption | Full end-to-end encryption with supported VMS Network: TLS1.0/1.2, AES128, AES256 Local storage: XTS-AES |
| Video authentication | checksum, MD5, SHA-1, SHA-256 |
| Mechanical | |||||
| NDV-8502-R | NDV-8503-R | NDV-8504-R | NDV-8502-RX | NDV-8503-RX | |
| Dimensions (D x H) | 177 x 148 mm (6.97 x 5.83 in) | ||||
| Mechanical | |||||
| NDV-8502-R | NDV-8503-R | NDV-8504-R | NDV-8502-RX | NDV-8503-RX | |
| Weight | 1988.45 g (4.38 lbs) | 2051.45 g (4.52 lbs) | 2040.00 g (4.5 lbs) | ||
| Mounting | Surface mount | ||||
| Color | White (RAL9003) | ||||
| Motorized PTR range | Pan: 0º to +361º; Tilt: -3º to +85º; Roll: -95º to +95º | ||||
| Dome bubble | Polycarbonate, clear with UV blocking anti-scratch coating | ||||
| Housing | Aluminum with dehumidifying membrane and polycarbonate shell | ||||
| Environmental | |
| Operating temperature | -20 °C to +55 °C (-4 °F to +131 °F) for continuous operation |
| Storage temperature | -30 °C to +70 °C (-22 °F to +158 °F) |
| Operating humidity | 5% to 93% RH non condensing 5% to 100% RH condensing |
| Storage humidity | Up to 98% RH |
| Impact resistance casing and dome | IK10 |
| Water/dust protection | IP5X, IP54 with NDA-8001-IP |
Support and training
Support
Access our support services at www.boschsecurity.com/xc/en/support/.
Bosch Security and Safety Systems offer support in these areas:
– Apps & Tools
– Building Information Modeling
– Warranty
– Troubleshooting
– Repair & Exchange
– Product Security
Bosch Building Technologies Academy
Visit the Bosch Building Technologies Academy website and have access to training courses, video tutorials, and documents: www.boschsecurity.com/xc/en/support/training/
Bosch Security Systems B.V.
Torenallee 49
5617 BA Eindhoven
Netherlands
www.boschsecurity.com
© Bosch Security Systems B.V., 2021
202108051735
References
Download Area | Bosch Security and Safety Systems
My Dyn Account
Free Dynamic DNS - Managed DNS - Managed Email - Domain Registration - No-IP
Webhosting und DynDNS von selfHOST - selfhost
Home | Bosch Security and Safety Systems I Global
Support | Bosch Security and Safety Systems I Global
Training | Bosch Security and Safety Systems | Bosch Security and Safety Systems I Global
Home | Bosch Security and Safety Systems I North America
Download Area | Bosch Security and Safety Systems
Product catalog worldwide | Bosch Security and Safety Systems I Global
Apps & Tools | Bosch Security and Safety Systems I Global
Building Information Modeling | Bosch Security and Safety Systems I Global
Product Security | Bosch Security and Safety Systems I Global
Security Advisories | Bosch Security and Safety Systems I Global
Repair & Exchange | Bosch Security and Safety Systems I Global
Trouble Shooting | Bosch Security and Safety Systems I Global
Warranty & Extension | Bosch Security and Safety Systems I Global




– For a camera mounted on a wall: make sure that the mounting plate is oriented at a 90º angle, with the holes parallel to the floor, for proper alignment of mounting screws and logos.





























































