BOSCH NDI-4512-A FLEXIDOME IP 4000i 2MP Outdoor Network Dome Camera Installation Guide
Assembly Instructions





If powered by a power adapter, the adapter should be properly grounded.

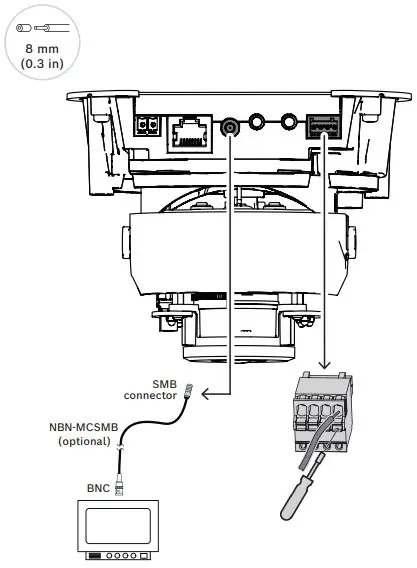
Alarm 4 3 2 1 Alarm IN OUT OUT 
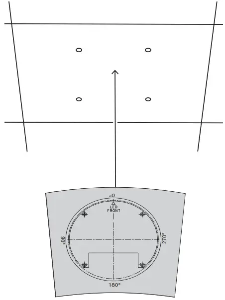
Do not position lightsensor below edge of cover (IR only).



Project Assistant App + Configuration Manager + Video Security Client
Windows | iOS | android

https://downloadstore,boschsecurity.com/
Bosch Security Systems B.V.
Torenallee 49
5617 BA Eindhoven
Netherlands
www.boschsecurity.com
© Bosch Security Systems B.V., 2022
![]()






























