Ermenrich NG40
Gas Detector
User Manual
NG40 Gas Detector

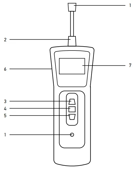
| 1 Warning LED 2 Gooseneck 3 UP button 4 POWER button | 5 DOWN button 6 Power input 7 LCD screen 8 Sensor |
Please carefully read the safety instructions and the user manual before using this product. Keep away from children. Use the device only as specified in the user manual.
Getting started
Press and hold the POWER button for 3 seconds to turn the device on or off. The detector will beep twice and start its 15-second warm-up. Once complete, it will show the HIGH and LOW values of the gas concentration.
Settings
Press the POWER button to enter the menu/confirm/save. Press the UP button to move upward and press the DOWN button to move downward. Select QUIT to get back to the menu.
Alarm setup
Move the cursor by pressing the DOWN button. Set up the new value by moving the cursor position, and then press the POWER/DOWN buttons to save the new alarm value.
Using
Point the sensor toward the area to test. When there is no gas exceeding the alarm points, the device will show the current level of gas concentration on the screen. When the present alarm points are exceeded, the device will activate audible/visual alarms (beeping, vibration, light) and it will only stop when the gas concentration is below the alarm points.
Charging
When the screen shows the low battery icon, please connect the device to a charger. Otherwise, it may malfunction.
Screen icons
| MAX | Latest maximum gas concentration value | To reset, press the DOWN button |
| AVG | Average gas concentration value within 3 min. | To reset, press the DOWN button |
| Battery | Battery status indicator | – |
| Gas concentration | Current value | Maximum 10,000ppm |
Specifications
| Gas detected | combustible gas |
| Detection range | 0–10,000ppm |
| Response time | instant |
| Alarm | sound, vibration, light |
| Alarm setpoint | low alarm: 500ppm; high alarm: 2000ppm |
| Power supply | li-ion rechargeable battery |
| Battery life | 2 years |
| Working battery time on a single charge | 8 hours |
| Operating temperature range | –20…+50°C (–4.0°…122°F) |
| Operating humidity | < 95 %RH |
| Dimensions (mm/in) | 195x70x20/ 7.6×2.7×0.7 |
| Weight (g/lb) | 172/ 0.38 |
The manufacturer reserves the right to make changes to the product range and specifications without prior notice.
Care and maintenance
Use the device only as specified in the user manual. Keep away from children. The device is designed to measure the concentration of gas in the air. If you measure high density gas, you might damage the device. Store the device in a dry cool place. Do not expose the device to shock, continuous vibrations, or extreme high or low temperatures. Do not try to disassemble the device on your own for any reason. For repairs and cleaning of any kind, please contact your local specialized service center. Protect the device from sudden impact and excessive mechanical force. Only use accessories and spare parts for this device that comply with the technical specifications. Never attempt to operate a damaged device or a device with damaged electrical parts! If a part of the device or battery is swallowed, seek medical attention immediately.
Battery safety instructions
Always purchase the correct size and grade of battery most suitable for the intended use. Always replace the whole set of batteries at one time; taking care not to mix old and new ones, or batteries of different types. Clean the battery contacts and also those of the device prior to battery installation. Make sure the batteries are installed correctly with regard to polarity (+ and –). Remove batteries from equipment that is not to be used for an extended period of time. Remove used batteries promptly. Never short-circuit batteries as this may lead to high temperatures, leakage, or explosion. Never heat batteries in order to revive them. Do not disassemble batteries. Remember to switch off devices after use. Keep batteries out of the reach of children, to avoid risk of ingestion, suffocation, or poisoning. Utilize used batteries as prescribed by your country’s laws.
Levenhuk International Lifetime Warranty
All Levenhuk telescopes, microscopes, binoculars, and other optical products, except for their accessories, carry a lifetime warranty against defects in materials and workmanship. A lifetime warranty is a guarantee on the lifetime of the product on the market. All Levenhuk accessories are warranted to be free of defects in materials and workmanship for six months from the purchase date. The warranty entitles you to the free repair or replacement of the Levenhuk product in any country where a Levenhuk office is located if all the warranty conditions are met.
For further details, please visit: www.levenhuk.com/warranty
If warranty problems arise, or if you need assistance in using your product, contact the local Levenhuk branch.
Levenhuk Inc. (USA): 928 E 124th Ave. Ste D, Tampa, FL 33612,
USA, +1-813-468-3001, [email protected]
Levenhuk Optics s.r.o. (Europe): V Chotejně 700/7, 102 00 Prague 102,
Czech Republic, +420 737-004-919, [email protected]
Levenhuk®, Ermenrich® are registered trademarks of Levenhuk, Inc.
© 2006–2023 Levenhuk, Inc. All rights reserved.
www.levenhuk.com
20221219
References
Доживотна гаранция на Levenhuk – Официален уебсайт на Levenhuk в България
Levenhuk optical instruments store | Levenhuk - best optical equipment
Levenhuk lifetime warranty details | Levenhuk - best optical equipment
Doživotní záruka společnosti Levenhuk – Oficiální webové stránky Levenhuk pro Českou republiku
Levenhuk Lebenslange Garantie – Die offizielle Website von Levenhuk in Deutschland
| Levenhuk, los mejores equipos ópticos
Levenhuk Lifetime Warranty – Levenhuk’s official website in Europe
A Levenhuk élettartamra szóló szavatossága – A Levenhuk hivatalos magyarországi weboldala
Gwarancja bezterminowa Levenhuk – Oficjalna witryna internetowa Levenhuk w Polsce
Поддержка - Гарантийное обслуживание Левенгук - Levenhuk Russia
















