SUBOL-GD-001 Gas Detector

User’s Manual
Thank you for choosing Subol. Subol Gas Detector is an internet-connected device, that detects the presence of a high concentration of flammable gases, then emits a light, sound alarm, and push notification through the mobile application. This allows one to take the necessary security measures and precautions.
Features and Content
- Power Indicator: Flashes at the center every 5 seconds. Blue: Not connected to the internet. Green: Connected to the internet. Yellow: Disconnected from the internet.
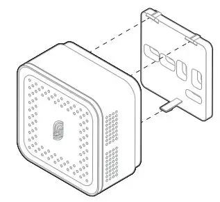
- Air Inlets: This is where gases enter the detector.
- User Button: Press the button for 3 seconds to self-test. Press the button for 10 seconds to factory reset. Press the button once to mute the alarm.
- Power Adapter Inlet
- Mount Plate: 2x
- Screw and Plug: 2x
Self-Test: Press the user button for 3 seconds to confirm that the device is working properly.
Alarm: Receive a visual and audio alert from your device when gas levels are above safe levels.
Use Subol Home App
Subol Gas Detector can be used as a standalone, but you can use the free Subol Home app for a better user experience. Using the app will allow you to monitor the environment’s gas level, temperature and humidity values. These features ensure your comfort and peace of mind.
Follow these instructions to install and use the app.
- Scan the QR to download the app
- Create a user account
- Follow the in-app instructions to connect your device
Mount Your Device
Use the mounting plate as a guide. Use a pencil to mark the location of the screws. Then use an electric drill to make two holes and insert plugs into holes. Finally, attach the plate and screws. The device will easily snap to the mounting plate.
Choose an appropriate place that is:
- Near to the oven by 3’3-13’1 range and near to the ceiling by 3.9-11.8 inches in case of LNG (natural gas).
- Near to the oven by 3’3-13’1 range and near to the floor by 3.9-11.8 inches in case of LPG (gas cylinder).
Simply snap the device onto the mounting plate in accordance with all the index marks.
Precautions
- The Subol Gas Detector is only for indoor use.
- Put the device in an area that has stable Wi-Fi coverage to enjoy all the connectivity features.
- Avoid installing the device in areas where the unit may get wet.
- Avoid exposure to direct heat sources.
- For correct usage, put the detector in the specified temperature range.
- It is recommended to install the device with screws (included). If you have chosen to use adhesive tape, make sure the selected mounting surface is smooth, flat, dry, and clean.
Color Codes
- Not connected to the internet:
The blue light indicates that the device is operating as a standalone. It means that the device is ready to start pairing. The blue light is displayed when the user button is pressed for 10 seconds to perform a factory reset. - Disconnected from the internet:
The yellow light indicates that the device is disconnected from the internet. You should recheck your connection status. - Safe. Connected to the internet:
The green light indicates that the device is connected successfully. It means that the gas level is below the recommended level and the environment is safe.
FEATURES AND CONTENT
Power Indicator
Flashes at the center every 5 seconds.
- Blue: Not connected to the internet.
- Green: Connected to the internet.
- Yellow: Disconnected from the internet.
Air Inlets
This is where gases enter the detector.
User Button
- Press the button for 3 seconds to self-test.
- Press the button for 10 seconds to factory reset.
- Press the button once to mute the alarm.


Self-Test:
Press the user button for 3 seconds to confirm that the device works properly.
Alarm:
Receive a visual and audio alert from your device when gas levels are above safe levels.
USE THE SUBOL HOME APP
Subol Gas Detector can be used as a standalone, but you can use the free “Subol Home“ app for a better user experience. Using the app will allow you to monitor the environment’s gas level, temperature and humidity values. These features ensure your comfort and peace of mind.
Follow these instructions to install and use the app.
- Scan the QR to download the app
- Create a user account
- Follow the in-app instructions to connect your device



MOUNT YOUR DEVICE
Use the mounting plate as a guide. Use a pencil to mark the location of the screws. Then use an electric drill to make two holes and insert plugs into holes. Finally, attach the plate and screws. The device will easily snap to the mounting plate.
Choose an appropriate place that is:
- Near to the oven by 3’3”-13’1” range and near to the ceiling by 3.9-11.8 inches in case of LNG (natural gas).
- Near to the oven by 3’3”-13’1” range and near to the floor by 3.9-11.8 inches in case of LPG (gas cylinder).
- Simply snap the device onto the mounting plate in accordance with all the index marks.

PRECAUTIONS
The Subol Gas Detector is only for indoor use. Put the device in area that has stable Wi-Fi coverage to enjoy all the connectivity features. Avoid installing the device in areas where the unit may get wet. Avoid exposure to direct heat sources. For correct usage, put the detector in the specified temperature range.It is recommended to install the device with screws (included). If you have chosen to use adhesive tape, make sure the selected mounting surface is smooth, flat, dry, and clean.
COLOR CODES
Not connected to the internet
The blue light indicates that the device is operating as a standalone. It means that the device is ready to start pairing. The blue light is displayed when the user button is pressed for 10 seconds to perform a factory reset.
Safe Connected to the Internet
The green light indicates that the device is connected successfully. It means that the gas level is below the recommended level and the environment is safe.
Disconnected from the internet
The yellow light indicates that the device is disconnected from the internet. You should recheck your connection status.
Danger Gas level is high
The red light indicates that the device is in an alarm state due to a rise in the gas measurements above the recommended level.
TECHNICAL SPECIFICATIONS
- Power supply: 5.0V DC, 1A
- Dimensions: Length x Width: 3.9” x 3.9”, Height: 2.7”
- Weight: 0.36 lbs
- Target gases: Methane, propane, iso-butane, and ethanol
- Speaker volume: 80 dBm
- Operational temperature: 14°F – 140°F / -10°C – 60°C
- Warm-up time: 2 to 3 minutes
- Measurement range: 500 to 10000 ppm (0.05% to 1%)
SPECIFICATIONS
Subol Products Design W.L.L
- Name: Subol Gas Detector
- Model: SUBOL-GD-001
- FCC ID: 2BAE2-SUBOL-GD-001
CERTIFICATIONS
FCC Compliance
This device complies with Part 15 of the FCC Rules. Operation is subject to the following two conditions: (1) this device may not cause harmful interference, and (2) this device must accept any interference received, including interference that may cause undesired operation.
Changes or modifications not expressly approved by the party responsible for compliance could void the user’s authority to operate the equipment.
This equipment has been tested and found to comply with the limits for a Class B digital device, pursuant to Part 15 of the FCC Rules. These limits are designed to provide reasonable protection against harmful interference in a residential installation. This equipment generates, uses, and can radiate radio frequency energy and, if not installed and used in accordance with the instructions, may cause harmful interference to radio communications. However, there is no guarantee that interference will not occur in a particular installation.
If this equipment does cause harmful interference to radio or television reception, which can be determined by turning the equipment off and on, the user is encouraged to try to correct the interference by one or more of the following measures:
- Reorient or relocate the receiving antenna.
- Increase the separation between the equipment and the receiver.
- Connect the equipment to an outlet on a circuit different from that to which the receiver is connected.
- Consult the dealer or an experienced radio/TV technician for help.
FCC Radiation Exposure
This equipment complies with FCC radiation exposure limits set forth for an uncontrolled environment. This equipment should be installed and operated with a minimum distance of 20cm between the radiator and your body. This transmitter must not be co-located or operating in conjunction with any other antenna or transmitter.
WARRANTY NOTICE
This Limited Warranty gives you specific rights, and you may also have other rights that vary by country, state, or province. The disclaimers, exclusions, and limitations of liability under this Limited Warranty will not apply to the extent prohibited by applicable law. For a full understanding of your rights you should refer to the laws applicable in your jurisdiction and you may wish to contact a relevant consumer advisory service.
Limited Product Warranty
Subol warrants that the product is free from defects in materials and workmanship under normal use and service for a period of one (1) year from the date of purchase by the original end-user purchaser Warranty Period.
If a defect arises during the Warranty Period, the original end-user purchaser must contact the Manufacturer’s customer service department to obtain a return merchandise authorization number. The original end-user purchaser is responsible for returning the product to the Manufacturer, freight prepaid. The Manufacturer will, at its sole discretion, either (a) repair or replace the product with a new or refurbished product of equal value; or (b) accept the return of the Product and refund the money paid by the original end-user purchaser for the Product. Any repaired or replaced product will be covered under this limited warranty for the remainder of the original Warranty Period.
Subol does not guarantee that the operation of the Product will be error-free. Subol is not liable for damages arising from non-compliance with the instructions related to the use of the Product. This limited warranty is non-transferable and applies only to products purchased from an authorized dealer.
Return Policy
If you are the original end-user purchaser of the Product and you are not happy with this Product for any reason, you may return it in its original condition within thirty (30) days of the original purchase and receive a full refund.
Warranty Service
To obtain warranty service, you must deliver the Product to the address specified by Subol. Subol will bear all costs of return shipping to the owner.
Exclusions and Limitations
This warranty does not cover the following: Products that have been subject to:
- modifications, alterations, tampering, or improper maintenance or repairs.
- handling, storage, installation, testing, or use not in accordance with the User Manual or other instructions provided by Subol
- abuse or misuse of the Product.
- breakdowns, fluctuations, or interruptions in electric power or the telecommunications network.
- use of lighters to test the gas sensor directly may damage the sensor and reduce its lifespan.
- Acts of God, including lightning, flood, tornado, earthquake, or hurricane.
Disclaimer of Warranties
Disclaimer of warranties. The services and any content or information accessed through the services are provided “as is” and without warranty of any kind. To the maximum extent permitted by applicable law, Subol disclaims all warranties, whether express, implied, statutory, or otherwise, including, but not limited to, any implied warranty of merchantability, fitness for a particular purpose, title, non-infringement, and any warranties arising from a course of dealing or usage of trade. Subol does not warrant that the services will be uninterrupted, error-free, or completely secure. You acknowledge that you are solely responsible for any damage to your computer system or loss of data that results from any materials and/or data downloaded from or otherwise provided through the services.
Limitation of Liability
Subol’s liability for any direct damages arising out of your use or inability to use our product or service shall be limited to the amount you paid for the product or service. Subol shall not be liable for any indirect, incidental, special, or consequential damages arising out of your use or inability to use our product or service. Subol shall not be liable for any damages caused by third-party products or services that you use in conjunction with our product or service. Subol’s liability shall be limited to the fullest extent permitted by applicable law, whether in contract, tort, or any other legal theory.
Warranty Update
Subol reserves the right to make adjustments and/or changes to this warranty policy from time to time without notice.
For customers:
if you have any concerns or inquiries about the Product, please send an email to our customer support team at [email protected]. Our team will assist you and address any questions or issues you may have shortly.







Not connected to the internet
Safe Connected to the Internet


















