JENNAIR JMC6224HL Small Built-In Speed Oven
BUILT-IN MICROWAVE OVEN SAFETY
Your safety and the safety of others are very important
We have provided many important safety messages in this manual and on your appliance. Always read and obey all safety messages.
- This is the safety alert symbol.
- This symbol alerts you to potential hazards that can kill or hurt you and others.
- All safety messages will follow the safety alert symbol and either the word “DANGER” or “WARNING.”
- These words mean:
DANGER
- You can be killed or seriously injured if you don’t immediately follow instructions.
WARNING
- You can be killed or seriously injured if you don’t follow instructions.
All safety messages will tell you what the potential hazard is, tell you how to reduce the chance of injury, and tell you what can happen if the instructions are not followed.
IMPORTANT: Save for local electrical inspector’s use.
INSTALLATION REQUIREMENTS
Tools and Parts
- Gather the required tools and parts before starting installation. Read and follow the instructions provided with any tools listed here.
Tools Needed
- PZ2® Pozidriv®† screwdriver
- Flat-blade screwdriver
- Measuring tape
- Level
- Drill (for wall cabinet installations)
- PZ2® 4×12 for bottom trim
- PZ2® 4×25 for oven installation on cabinet
Parts Needed
- UL listed wire connectors
Parts Supplied
- Spacer bars (2)
- Bottom trim (1) (optional)
Check local codes. Check existing electrical supply. See “Electrical Requirements.”
It is recommended that all electrical connections be made by a licensed, qualified electrical installer.
Location Requirements
IMPORTANT: Observe all governing codes and ordinances.
- The Cabinet opening dimensions that are shown must be used. Given dimensions provide minimum clearance with microwave oven.
- The recessed installation area must provide a complete enclosure around the recessed portion of the microwave oven.
- A grounded electrical supply is required. See the “Electrical Requirements” section.
- The electrical supply junction box should be located 3″ (7.6 cm) maximum below the support surface when the microwave oven is installed in a wall cabinet. A 1″ (2.5 cm) minimum diameter hole should have been drilled in the left rear corner of the support surface to pass the appliance cable through to the junction box.
- For installation above single built-in oven, the junction box must locate inside the upper cabinet.
- If you are installing the junction box on the rear wall behind the microwave oven, the junction box must be recessed and located in the upper or lower right or left corner of the cabinet; otherwise, the microwave oven will not fit into the cabinet opening.
- The microwave oven support surface must be solid, level, and flush with the bottom of the cabinet cutout. The floor must be able to support a weight of 90 lbs (41.0 kg).
IMPORTANT: To avoid damage to your cabinets, check with your builder or cabinet supplier to make sure that the materials used will not discolor, delaminate, or sustain other damage. This oven has been designed in accordance with the requirements of UL and CSA International and complies with the maximum allowable wood cabinet temperatures of 194°F (90°C).
Product Dimensions
235/8″ (60.0 cm) Microwave Oven 
- A. 237/16″ (59.5 cm)
- B. 1715/16″ (45.6 cm)
- C. 217/8″ (55.6 cm)
- D. 179/16″ (44.6 cm)
- E. 3/8″ (1 cm)
NOTE: True dimensions are in cm and converted to inches.
Minimum Dimensions
Cabinet Dimensions – Standard Installation
- For proper installation, the following minimum clearances must exist above and below the cutout opening.
Installed in Cabinet
Front View
Rear View
- A. 235/8″ (60 cm) minimum width of the cabinet
- B. 22″ (55.8 cm) width of the cutout
- C. 173/4″ (45 cm) recommended height of cutout*
- D. 1/2″ (1.2 cm) minimum top of the cutout to bottom of upper cabinet door
- E. 1/2″ (1.2 cm) minimum bottom of the cutout to top of the lower cabinet door or 5/16″ (8 mm) without bottom trim installed
- F. 211/16″ (53.5 cm) minimum depth of the cutout
- g. Recommended junction box location
- H. 369/16″ (92.8 cm) minimum bottom of cutout to the floor (Canada only)
NOTE: True dimensions are in mm or cm and converted to inches.
Installed under Counter (Without cooktop installed above)
NOTE: Under-counter oven installation can only be done in the US. Canada cannot install this oven under the counter.
- A. 235/8″ minimum (60 cm) width of the cabinet
- B. 22″ (55.8 cm) width of the cutout
- C. 173/4″ (45 cm) recommended height of cutout
- D. 1/2″ (1.2 cm) top of the cutout to underside of the countertop
- E. 1/2″ (1.2 cm) bottom of the cutout to floor or 5/16″ (8 mm) without bottom trim installed
- f. Recommended junction box location
Will fit cutout height from 179/16″ (44.6 cm) to 1715/16″ (45.6 cm).
NOTE: True dimensions are in mm or cm and converted to inches.
Cabinet Dimensions – Flush Installation
Installed in Cabinet
Front View
Rear View
- A. 2311/16″ (60.2 cm) width of flush inset cutout (min.)
- B. 22″ (55.9 cm) width of opening (min.)
- C. 189/16″ (47.2 cm) height of flush inset cutout (min.)
- D. 181/4″ (46.4 cm) height of opening (min.)
- E. 361/16″ (91.6 cm) Bottom of the cutout to floor
- F. 217/8″ (55.6 cm) depth of cutout (min.)
- e. Recommended junction box location
NOTE: True dimensions are in cm and converted to inches.
Installed under Counter (Without cooktop installed above)
NOTE: Under-counter oven installation can only be done in the US. Canada cannot install this oven under the counter.

- A. 2311/16″ (60.2 cm) width of flush inset cutout (min.)
- B. 22″ (55.9 cm) width of opening (min.)
- C. 189/16″ (47.2 cm) height of flush inset cutout (min.)
- D. 181/4″ (46.4 cm) height of opening (min.)
- e. Recommended junction box location
Top View
- A. 217/8″ (55.6 cm) Depth of cutout (min.)
NOTE: True dimensions are in mm or cm and converted to inches.
Electrical Requirements
GROUNDING INSTRUCTIONS
For a permanently connected microwave oven:
The microwave oven must be connected to a grounded, metallic, permanent wiring system, or an equipment grounding conductor should be run with the circuit conductors and connected to the equipment-grounding terminal or lead on the microwave oven.
SAVE THESE INSTRUCTIONS
If codes permit and a separate ground wire is used, it is recommended that a qualified electrical installer determine that the ground path and wire gauge are in accordance with local codes. Check with a qualified electrical installer if you are not sure the oven is properly grounded. This oven must be connected to a grounded metal, permanent wiring system. Be sure that the electrical connection and wire size are adequate and in conformance with the National Electrical Code, ANSI/ NFPA 70 – latest edition or CSA Standards C22.1-94, Canadian Electrical Code, Part 1 and C22.2 No. O-M91 – latest edition, and all local codes and ordinances.
A copy of the above code standards can be obtained from:
- National Fire Protection Association
- 1 Batterymarch Park
- Quincy, MA 02169-7471
- CSA International
- 8501 East Pleasant Valley Road
- Cleveland, OH 44131-5575
Electrical Connection
To properly install your microwave oven, you must determine the type of electrical connection you will be using and follow the instructions provided for it here.
- Microwave oven must be connected to the proper electrical voltage and frequency as specified on the model/serial/rating plate. The model/serial/rating tag is located on the left side of the oven frame.

- The microwave oven rated 240 V, 20 A, has 4 wires (L1, L2, N, and G) in the flex conduit, and should be connected to a 20 A maximum-rated circuit, overcurrent protected on both the L1 and L2 circuits.
- A time-delay fuse or circuit breaker is recommended.
- A flexible cable from the microwave oven should be connected directly to the junction box.
- Do not cut the conduit. The length of a conduit provided is for serviceability of the microwave oven.
- A UL-listed or CSA-approved conduit connector must be provided.
If the house has aluminum wiring, follow the procedure below:
- Connect the aluminum wiring using special connectors and/or tools designed and UL listed for joining copper to aluminum.
- Follow the electrical connector manufacturer’s recommended procedure. Aluminum/copper connection must conform with local codes and industry accepted wiring practices.
For power requirements, refer to the following table.
| Voltage | Microwave With Convection Oven |
| 120/240 VAC | 19.9 A/3400 W |
| 120/208 VAC | 19.9 A/3400 W |
INSTALLATION INSTRUCTIONS
Prepare Built-In Microwave Oven
- Locate existing wiring to avoid drilling into or severing wiring during installation.
WARNING
- Excessive Weight Hazard
- Use two or more people to move and install a microwave oven.
- Failure to do so can result in back or another injury.
- To avoid floor damage, set the microwave oven onto cardboard prior to installation. Do not use the handle or any portion of the front frame for lifting.
- Remove the shipping materials and tape from the microwave oven.
- Remove and set aside racks and other items from inside the microwave oven.
- Remove the hardware package from inside the bag containing the literature.
- Move the microwave oven and cardboard close to the microwave oven’s final location.
Make Electrical Connection
WARNING
- Electrical Shock Hazard
- Disconnect power before servicing.
- Use 12 gauge copper wire.
- Electrically ground oven.
- Failure to follow these instructions can result in death, fire, or electrical shock.
The microwave oven is manufactured with a neutral (white) power supply wire and a cabinet-connected yellow-green ground wire.
- Disconnect power.
- Feed the flexible conduit from the microwave oven through the opening in the cabinet.
- Remove junction box cover if it is present.
- Install a UL listed or CSA-approved conduit connector to the junction box.

- A. UL listed or CSA approved conduit connector
- Route the flexible conduit from the microwave oven to the junction box through a UL listed or CSA approved conduit connector.
- Tighten screws on conduit connector.
- Complete electrical connection.
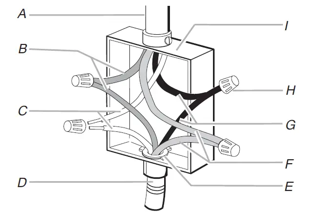
Wire Cable with Ground from Home Power Supply to Microwave Oven Cable with 4 Wires
- A. Cable from home power supply
- B. Yellow-green wires
- C. White wires
- D. 4-wire cable from the microwave oven
- E. UL listed or CSA approved conduit connector
- F. Red wires
- G. Black wires
- H. UL listed wire connector
- I. Junction box
- Connect the 2 black wires (G) together using a UL-listed wire connector.
- Connect the 2 white wires (C) using a UL-listed wire connector.
- Connect the 2 red wires (F) together using a UL-listed wire connector.
- Connect the 2 yellow-green wires (B) together using a UL-listed wire connector.
- Install junction box cover.
Install Microwave Oven
- Using 2 or more people, lift the microwave oven partially into the cabinet cutout. If a spacer kit has been installed, lift the microwave oven over it and position the microwave oven between the guide strips.
- Push against the front frame of the microwave oven to insert the oven into the cabinet. Push microwave oven completely into cabinet and center in cabinet cutout.
NOTE: Open the microwave oven door and push against seal area of the microwave oven front frame when pushing microwave oven into the cabinet. Do not push against outside edges.
- Securely fasten microwave oven to the cabinet using two 3/4″ (1.9 cm) flat-head screws provided. Insert the screws through holes in mounting rails. Do not overtighten screws.

- A. Flat-head screws
- B. Mounting rail
- Replace convection grid, turntable, and support hub.
- Reconnect power.
- Display panel will light briefly and the clock should appear in the display.
- If the display panel does not light, please reference the “Assistance or Service” section of the Use and Care Guide or contact the dealer from whom you purchased your microwave oven.
Complete Installation
- Check that all parts are now installed. If there is an extra part, go back through the steps to see which step was skipped.
- Check that you have all of your tools.
- Dispose of recycling all packaging materials.
- For microwave oven use and cleaning, read the Use and Care Guide.
If you need Assistance or Service:
Please reference the “Assistance or Service” section of the Use and Care Guide or contact the dealer from whom you purchased your built-in microwave oven.





















