MORRIS B6128MW Built-In Microwave Oven Instruction Manual
INSTALLATION
First drill the corresponding hole in the kitchen cabinet according to the drawings (Figure 1)
Install holder (Figure 2)
Install the anti-till limit block on the bottom plate of the product and fix 2 anti-tilt limit block (Figure 3)
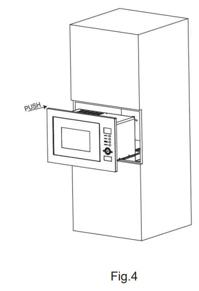
Push the product into the kitchen cabinet in the direction of the arrow in the picture until the limit block sinks, push it to the end, and install it in place (Figure 4)
Open the oven door and screw the product to the kitchen cabinet (Figure 5)
Fit the outer cover sheet into the outer frame screw hole (Figure 6)
Microwave oven instalment is done.
Cabinet details:

Pictures in this manual are only for reference





















