JENNAIR JMC2427IL 27-Inch Built-In Microwave Oven

BUILT IN MICROWAVE OVEN SAFETY
We have provided many important safety messages in this manual and on your appliance. Always read and obey all safety messages.
SYMBOLS
This is the safety alert symbol. This symbol alerts you to potential hazards that can kill or hurt you and others. All safety messages will folow the safety alert symbol and either the word DANGER.
DANGER
You can be killed or seriously injured if you don’t immediately follow instructions.
WARNING
You can be killed or seriously injured if you don’t follow instructions. All safety messages will tell you what the potential hazard is, tell you how to reduce the chance of injury, and tell you what can happen if the instructions are not followed.
Tools and Parts
Gather the required tools and parts before starting installation. Read and follow the instructions provided with any tools listed here.
Tools Needed
- Phillips screwdriver
- Flat blade screwdriver
- Measuring tape
- Level
- Drill for wall cabinet installations1/8 (3 mm) drill bit for wall cabinet installations.
- 1 (2.5 cm) drill bit (for wall cabinet installations.
Parts Needed
- UL listed or CSA approved conduit connector
- UL listed wire connectors
Flush Installation
- W10801485 Stainless steel flush installation kit for 27 (68.6 cm) models
- W10801486 Stainless steel flush installation kit for 30 (76.2 cm) models
- W10801487 Black flush installation kit for 30 (76.2 cm) models.
Parts Supplied
A. Spacer bars 2.- B. Bottom vent 1.
- C. 3/8 (9.5 mm) hex head washer screws 4.
- D. 3/4N(1.9 cm) pan head screws 4.
Check local codes. Check existing electrical supply. It is recommended that all electrical connections be made by a licensed, qualified electrical installer.
Location Requirements
IMPORTANT
Observe all governing codes and ordinances.
- Cabinet opening dimensions that are shown must be used.
- Given dimensions provide minimum clearance with microwave oven.
- Recessed installation area must provide complete enclosure around the recessed portion of the microwave oven.
- Grounded electrical supply is required.
- Electrical supply junction box should be located 3″ (7.6 cm) maximum below the support surface when the microwave oven is installed in a wall cabinet.
- A 1(2.5 cm) minimum diameter hole should have been drilled in the left rear corner of the support surface to pass the appliance cable through to the junction box.
- For installation above single built-in oven, the junction box must located inside upper cabinet.
- If you are installing the junction box on rear wall behind the microwave oven, the junction box must be recessed and located in the upper or lower right or left corner of the cabinet; otherwise, the microwave oven will not fit into the cabinet opening.
- Microwave oven support surface must be solid, level, and flush with bottom of cabinet cutout. Floor must be able to support a weight of 108 lbs (49.0 kg).
IMPORTANT
To avoid damage to your cabinets, check with your builder or cabinet supplier to make sure that the materials used will not discolor, delaminate, or sustain other damage. This oven has been designed in accordance with the requirements of UL and CSA International and complies with the maximum allowable wood cabinet temperatures of 194°F 90°C.
Product Dimensions
27 (68.6 cm) and 30 (76.2 cm) Microwave Ovens

27 (68.6 cm) models
- A. 253/8 (64.5 cm)
- B. 173/8 (44.1 cm)
- C. 2211/16 (57.7 cm)
- D. 263/4 (68.0 cm) overall width
- E. 197/8 (50.3 cm) overall height
- F. JMC2427IM: 259/16 (64.9 cm) JMC2427IL: 243/4″ (62.9 cm)
30 (76.2 cm) models
- A. 283/8 (72.1 cm)
- B. 173/8 (44.1 cm)
- C. 2211/16 (57.7 cm)
- D. 293/4 (75.6 cm) overall width
- E. 197/8 (50.3 cm) overall height
- F. JMC2430IM: 259/16 (64.9 cm) JMC2430IL: 243/4 (62.9 cm)
27 (68.6 cm) and 30 (76.2 cm) Microwave Oven Spacer Kit
27 (68.6 cm) models
A. 263/4 (67.9 cm) overall width.
30 (76.2 cm) models
A. 293/4 (75.6 cm) overall width.
NOTE
The microwave oven spacer kit will allow the microwave oven to be installed in a 173/8 to 173/4 (44.1 to 45.1 cm) maximum cutout height.
A microwave oven spacer kit is available from your dealer that will allow the microwave oven to be installed in a 19″ to 1913/16″ (48.3 to 50.2 cm) maximum cutout height. Match the oven size to the following kits
- 27 (68.6 cm) Stainless Steel Model W10469901
- 30 (76.2 cm) Stainless Steel Model W10469903
Cabinet Dimensions
27 (68.6 cm) and 30 (76.2 cm) Microwave Ovens

27 (68.6 cm) models
- A. 27(68.6 cm) min. cabinet width
- B. 197/8 (50.3 cm) from bottom of cutout to bottom of upper cabinet door.
- C. 40 (101.6 cm) bottom of cutout to floor recommended.
- D. 251/2 (64.8 cm) cutout width.
- E. 11/2 (3.8 cm) min. bottom of cutout to top of cabinet door.
- F. 175/8 (44.7 cm) recommended cutout height will fit cutout height from 173/8 44.1 cm to 173/4 (45.1 cm)
- G. 217/8(55.5 cm) min. cutout depth.
30 (76.2 cm) models
- A. 30 (76.2 cm) min. cabinet width.
- B. 197/8 (50.3 cm) from bottom of cutout to bottom of upper cabinet door.
- C. 40 (101.6 cm) bottom of cutout to floor recommended.
- D. 281/2 (72.4 cm) cutout width.
- E. 11/2 (3.8 cm) min. bottom of cutout to top of cabinet door.
- F. 175/8 (44.7 cm) recommended cutout height will fit cutout height from (173/8 )44.1 cm to (173/4) 45.1 cm.
- G. 217/8 (55.5 cm) min. cutout depth.
Minimum Installation Clearances
For proper installation, the following minimum clearances must exist above and below the cabinet opening.
Installation Above Single Built In Oven

- A. Upper cabinet
- B. Lower single oven
Electrical Requirements
GROUNDING INSTRUCTIONS
For a permanently connected microwave oven.The microwave oven must be connected to a grounded, metallic, permanent wiring system, or an equipment grounding conductor should be run with the circuit conductors and connected to the equipment grounding terminal or lead on the microwave oven.
SAVE THESE INSTRUCTIONS
If codes permit and a separate ground wire is used, it is recommended that a qualified electrical installer determine that the ground path and wire gauge are in accordance with local codes. Check with a qualified electrical installer if you are not sure the oven is properly grounded. This oven must be connected to a grounded metal, permanent wiring system. Be sure that the electrical connection and wire size are adequate and in conformance with the National Electrical Code, ANSI/NFPA 70 – latest edition or CSA Standards C22.1-94, Canadian Electrical Code, Part 1 and C22.2 No. O-M91 – latest edition, and all local codes and ordinances. A copy of the above code standards can be obtained from
- National Fire Protection Association Batterymarch Park Quincy, MA 02169-7471
- CSA International 8501 East Pleasant Valley Road
- Cleveland, OH 44131-5575
Electrical Connection
To properly install your microwave oven, you must determine the type of electrical connection you will be using and follow the instructions provided for it here.Microwave oven must be connected to the proper electrical voltage and frequency as specified on the model/serial/rating plate. The model/serial/rating plate is located underneath the control panel along the oven vent.

The microwave oven rated 120/240 V, 20 A, has 4 wires (L1, L2, N, and G) in the flex conduit, and should be connected to a 20 A maximum-rated circuit, overcurrent protected on both the L1 and L2 circuits. A time-delay fuse or circuit breaker is recommended. Flexible cable from the microwave oven should be connected directly to the junction box.Do not cut the conduit. The length of conduit provided is for serviceability of the microwave oven. A UL listed or CSA approved conduit connector must be provided. If the house has aluminum wiring, follow the procedure below. Connect the aluminum wiring using special connectors and/or tools designed and UL listed for joining copper to aluminum. Follow the electrical connector manufacturer’s recommended procedure. Aluminum/copper connection must conform with local codes and industry accepted wiring practices.For power requirements
| Voltage | Microwave With Convection Oven |
| 120/240 VAC | 15 A |
| 120/208 VAC | 15 A |
Spacer Kit Installation
NOTES
The microwave oven spacer kit allows the microwave ovento be installed in an 177/16 to 177/8 (44.1 cm to 45.3 cm)maximum cutout height. If your cabinet cutout height is more than 177/16 (44.1 cm),you must install the spacer kit. Proceed to Assemble SpacerKit. If your cabinet cutout height is less than 177/16″ (44.1 cm),you do not have to install the spacer kit. Proceed to “PrepareBuilt-In Microwave Oven.
Assemble Spacer Kit
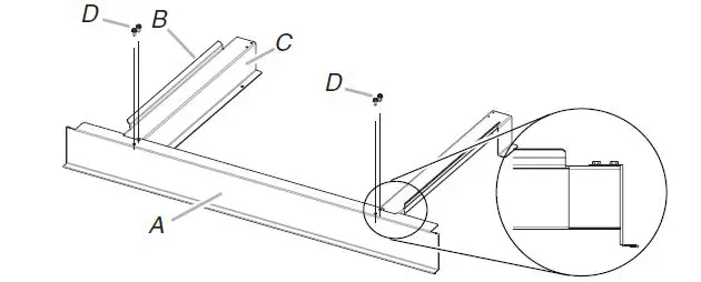
Attach the bottom vent to spacer bars using four3/8 (9.5 mm) hex-head washer screws.
NOTE
Spacer bar flanges should be facing out.

- A.Bottom vent
- B.Spacer bar flange
- C.Spacer bars
- D.3/8 (9.5 mm) hex-head washer screws.
Install Spacer Kit
- Center assembled microwave oven spacer kit against lowerfront edge of the cabinet cutout.
- Using an 1/8 (3.2 mm) drill bit, drill through the mountingholes in the spacer bars to create pilot holes.
- Attach the assembled spacer kit to the cabinet using four3/4 (1.9 cm) flat head screws.
- Do not overtighten screws.

- 3/4 (1.9 cm) flat-head screws
- Spacer kit assembly
Prepare Built In Microwave Oven
Locate existing wiring to avoid drilling into or severing wiringduring installation.
WARNING
Excessive Weight HazardUse two or more people to move and install microwave oven.Failure to do so can result in back or other injury.
- To avoid floor damage, set the microwave oven ontocardboard prior to installation.
- Do not use handle or anyportion of the front frame for lifting.
- Remove the shipping materials and tape from the microwaveoven.
- Remove and set aside racks and other items from inside themicrowave oven.
- Remove the hardware package from inside the bagcontaining literature.
- Move the microwave oven and cardboard close to themicrowave oven’s final location.
Make Electrical Connection
WARNING
Electrical Shock Hazard Disconnect power before servicing. Use 12 gauge copper wire.Electrically ground oven.Failure to follow these instructions can result in death, fire, or electrical shock. The microwave oven is manufactured with a neutral (white) power supply wire and a cabinet-connected green (or bare) ground wire.
- Disconnect power.
- Feed the flexible conduit from the microwave oven through the opening in the cabinet.
- Remove junction box cover if it is present.
- Install a UL listed or CSA approved conduit connector to the junction box.

Route the flexible conduit from the microwave oven to the junction box through a UL listed or CSA approved conduit connector. Tighten screws on conduit connector. Complete electrical connection.Route the flexible conduit from the microwave oven to the junction box through a UL listed or CSA approved conduit connector. Tighten screws on conduit connector. Complete electrical connection.
Wire Cable with Ground from Home Power Supply to Microwave Oven Cable with 4 Wires

- A. Cable from home power supply
- B. Green (or bare) wires
- C. White wires
- D. 4-wire cable from microwave oven
- E. UL listed or CSA approved conduit connector
- F. Red wires
- G. Black wires
- H. UL listed wire connector
- I. Junction box
- Connect the 2 black wires (G) together using a UL listed wire connector.
- Connect the 2 white wires (C) using a UL listed wire connector.
- Connect the 2 red wires (F) together using a UL listed wire connector.
- Connect the 2 green (or bare) wires (B) together using a UL listed wire connector.
- Install junction box cover.
Install Microwave Oven
- Using 2 or more people, lift the microwave oven partially into the cabinet cutout. If a spacer kit has been installed, lift the microwave oven over it and position the microwave oven between the guide strips.
Push against the front frame of the microwave oven to insert oven into cabinet. Push microwave oven completely into cabinet and center in cabinet cutout.
NOTE
Open microwave oven door and push against seal area of microwave oven front frame when pushing microwave oven into cabinet. Do not push against outside edges.

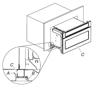
Using an 1/8 (3.2 mm) drill bit, predrill pilot holes through the mounting rails on each side of the microwave oven. Securely fasten microwave oven to cabinet using two 3/4″ (1.9 cm) flat-head screws provided. Insert the screws through holes in mounting rails. Do not overtighten screws.
A. Mounting rail- B. Flat head screws
Replace convection grid, turntable, and support hub. Reconnect power. Display panel will light briefly and the clock should appear in the display. If display panel does not light, Use and Care Guide or contact the dealer from whom you purchased your microwave oven.
Complete Installation
- Check that all parts are now installed. If there is an extra part, go back through the steps to see which step was skipped.
- Check that you have all of your tools.
- Dispose of/recycle all packaging materials.
- For microwave oven use and cleaning.
- Check Operation of Microwave Oven.
- Fill a microwave-safe container with 1 cup 250 mL of water and place container on the turntable inside the microwave oven. Close door firmly.
- Touch COOK.
- Set power level, temperature, and cook time to “2:00” minutes.
- Press START.
- If microwave oven does not operate, check the following
- Household fuse is intact and tight or circuit breaker has not tripped.
- Electrical supply is connected.
- When the display reads 1:00 minute, open the microwave oven door.
- The microwave oven should stop cooking. Close door firmly. The interior microwave oven light should turn off.
- Touch START to resume a preset cycle. The microwave oven should begin cooking and the microwave oven interior light should be ON.
- Let microwave oven complete cooking time.
- Tones will sound at the end of the cooking time and the microwave oven will shut off.
- Open microwave oven door and slowly remove container.Water in container should be hot.
- To set the clock and other microwave oven functions.

A. Spacer bars 2.
27 (68.6 cm) models
A. Mounting rail

















