Vorago MO-100 Mouse 100 Wired Mouse

Limited product warranty
Vorago equipment and / or accessories are covered by a limited warranty for the time indicated in the annexed validity table, counting from the date of acquisition, against any manufacturing and operation defect, provided they have been used under normal conditions of use during the warranty period and for which it was manufactured. Vorago guarantees the buyer the absence of anomalies regarding the materials.
| PRODUCTS | VALIDITY |
| PC, Tablets, Cell phones, Audio, Keyboards, Mouse, Networks and Accessories | 12 Months |
| LCD Monitor * Except in Panel (Screen Display) for which it will only be 12 months. | 36 Months* |
Guarantee Policy
Important: Please read and complete this warranty policy and seal it in the store when purchasing the product.
Responsibilities
The total responsibility of vorago will be to repair or replace the product, including labor and parts, at no cost to the buyer when it is returned to the point of sale, presenting this guarantee policy duly completed and stamped by the establishment where it was purchased. The product or copy of the receipt or receipt or invoice, in which the specific data of the product object of the sale, in which the date of purchase is specified, to verify the times within the guarantee. vorago may use new parts, restored or used in good condition to repair or replace any product, at no additional cost to the consumer. in the case of equipment and / or accessories that do not have repair, the change will be generated by a similar product or with superior characteristics.
this guarantee covers the transportation expenses of the product derived from its fulfillment; which will be directly attributable to the supplier of the product. In all replacement products, the original warranty period will be renewed. Vorago is governed by international standards for the manufacture of products.
How to obtain warranty support
Guarantee claims are processed through the point of sale, during the first 15 days after the purchase, as long as they meet the requirements. Guarantee claims that can not be processed through the point of sale and any concerns related to the product purchased should be sent with the prepaid guide by Vorago to the address of the Vorago headquarters in Francisco Villa No. 3, Col. San Agustín, CP 45645, Tlajomulco de Zúñiga, Jalisco, Mexico.
Except in situations of force majeure or fortuitous event, the repair time in no case will be greater than 30 calendar days from the date of receipt of the equipment in Vorago
Exclusions
This guarantee is not valid in the following cases:
- a) When the product had been used in conditions other than normal.
- b) When the product has not been operated in accordance with the instructions for use that accompany it.
- c) When the product has been altered or repaired by unauthorized persons by Vorago.
Vorago does not offer any other express warranty for this product.
To make the guarantee valid, as well as the acquisition of parts, components, consumables and accessories
To validate a guarantee, the following information must be sent to the email: [email protected]
- Model and color
- Product failure
- Ticket or purchase invoice (digitized)
- Your address with CP, telephone and full Name.
Available in the establishment where the product was purchased and / or in our central offices:
Vorago, S.A. de C.V.
Francisco Villaº No. 3
Col. San Agustín, C.P. 45645 Tlajomulco de Zúñiga, Jalisco, México. Tel. 01 (33) 3044 6666
Importadora Global Rida S.A. de C.V. Matilde Márquez No. 68
Colonia Peñón de los Baños C.P. 15520 Alcaldía Venustiano Carranza, CDMX RFC: IGR1510164C2
WARNINGS
- Avoid spilling liquids on your mouse, can cause a malfunction of it.
- Wipe your mouse with a dry cloth.
- Do not direct light from the optical sensor to the eyes.
- The use of this device in conditions other than normal may cause electric shock.
INSTRUCTIONS FOR USE
- Locate an available USB port on your computer.
- Connect the USB cable of the mouse to the port of your computer.
- Wait a few moments for the operating system to recognize and configure the drivers automatically.
- Now your mouse is ready to use.
TROUBLESHOOTING
- If your mouse does not work.
- Make sure it is properly connected to the USB port and that the optical sensor on the bottom of the mouse is turned on.
- Make sure your computer is working properly.
- The mouse does not work properly on certain surfaces, especially polished or reflective surfaces.
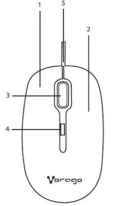
KNOW YOUR DEVICE

| Number | Name |
| 1 | Left button |
| 2 | Right button |
| 3 | Scrolling wheel / Click central |
| 4 | Selection of DPI |
| 5 | USB cable |
TECHNICAL SPECIFICATION
| Voltage | 5.5 V ––––– <50mA |
| Connector | USB |
| Sensor | Optical |
| Resolution | 800,1200 DPI* |
| Weight | 55g |
| Buttons | 4 |
| Plug and play | Yes |
| Cable length | 1.2 m |
| Compatibility | XP, Vista, 7, 8, 10, OSX |
* Note: DPI = Dots per inch 1 inch = 2.54 cm
















