Wired mouse

Remark:
When using this mouse for the first time, please read this manual carefully to ensure good results.
Package details:
Wired mouse 1 pcs
First use and installation:
Wired mouse
Installation:
Insert the mouse USB interface into the computer USB interface.
When the mouse cursor appears on the computer screen, you can use the mouse!
Wired mouse is compatible with most audio-visual devices with USB interface, compatible with a variety of systems, ergonomic and easy to carry.
Cautions:
Keep away from the strong sources of interference when using the mouse. Such as Microwave oven…
Clean the mouse with a small amount of anhydrous alcohol, don’t place the whole mouse in the liquid.
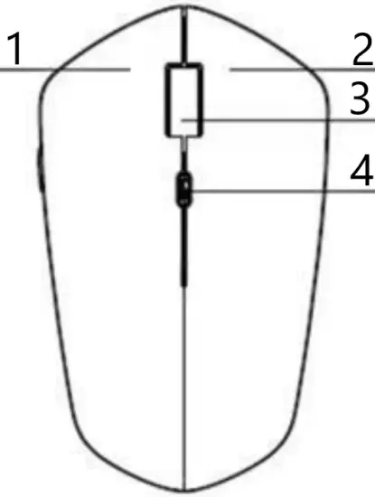
Wireless Bluetooth mouse

- Left
- Right
- Scroll Wheel
- DPI
Remark:
When using this mouse for the first time, please read this manual carefully to ensure good results.
Package details:
Wireless mouse 1pcs
USB nano receiver 1pcs
User manual 1pcs
First use and installation:
This wireless Bluetooth mouse
Installation:
Step one:Take the receiver from the bottom of the mouse
Step two:Insert the nano receiver into the USB port of the computer.
Step three:Turn on the switch on the bottom of the mouse, when the mouse cursor appears on the computer screen, then you can use your mouse normally.
With unique environmental protection and energy-saving design: Energy saving and environmental protection (power-saving mode) smart wireless, Automatic power off; Quality Assurance. Smart connection.
Cautions:
Keep away from the strong sources of interference when using the mouse. Such as Microwave oven…
Clean the mouse with a small amount of anhydrous alcohol, don’t place the whole mouse in the liquid.
When the batteries is used up, please throw them into the battery recycling box. Don’t thrown them to trash can, don’t throw them away or into fire.
This device complies with Part 15 of the FCC Rules. Operation is subject to the following two conditions: (1) this device may not cause harmful interference, and (2) this device must accept any interference received, including interference that may cause undesired operation
NOTE: This equipment has been tested and found to comply with the limits for a Class B digital device, pursuant to Part 15 of the FCC Rules. These limits are designed to provide reasonable protection against harmful interference in a residential installation. This equipment generates, uses and can radiate radio frequency energy and, if not installed and used in accordance with the instructions, may cause harmful interference to radio communications. However, there is no guarantee that interference will not occur in a particular installation. If this equipment does cause harmful interference to radio or television reception, which can be determined by turning the equipment off and on, the user is encouraged to try to correct the interference by one or more of the following measures:
— Reorient or relocate the receiving antenna.
— Increase the separation between the equipment and receiver.
— Connect the equipment into an outlet on a circuit different from that to which the receiver is connected.
— Consult the dealer or an experienced radio/TV technician for help.
Warning: changes or modifications not expressly approved by the party responsible for compliance could void the user’s authority to operate the equipment



















