PLT C423100 4 Pack Led Multi Color Changing Tape Lights with Remote

Product Information
The 4-pack LED multi-color changing tape lights with remote (Item #1005 875 035, Model #C423100) are a set of adhesive LED strips that can be used to light up your home or office space. The lights come with a remote control that allows you to change the color of the lights and also control the lighting effects, such as flash, strobe, fade, and smooth. The lights can be cut to size and customized to fit your desired installation location. The lights are powered by a +12V adapter that is included in the package.
Product Usage Instructions
Pre-Installation
- Consider the best layout configuration for your installation and how to run and conceal the wires to your LED tape lighting.
- Temporarily mount the LED light strip using painter’s tape to experiment with tape light positioning before permanent installation. Power on the LEDs to ensure you are achieving the desired lighting effect before removing the 3M paper backing for final installation.
PACKAGE CONTENTS

Part | Description | Quantity |
| A | Adapter | 1 |
| B | 12 in. LED strip | 4 |
| C | Infrared receiver (Assembled to the adapter (A)) | 1 |
| D | Remote | 1 |
| E | Connector wire | 1 |
| F | Large connector wire | 2 |
Installation
- Connect the LED tape to the connector by aligning at the +12V on the LED tape and the arrow on the connector. Connect the connector to the LED tape by aligning the arrow on the connector and the +12V on the LED tape. Connect LED tape to LED tape by aligning at the +12V on the LED tape. Connect the connector to the connector by aligning the arrows on the connectors.
- Cut the LED strip in the center of copper pads (optional) and use an optional connector (C760011) or accessory (C760110) pack for a more custom installation.
- Adjust the lighting to various angles and positions to get the desired level of illumination and lighting appearance. If the LEDs create undesirable light spots on walls or reflections, reposition the tape light strip farther away from surfaces or try a different mounting angle.
- Once you have determined your final mounting position, clean the surface to ensure the 3M self-adhesive backing will adhere properly. Before removing the 3M paper backing, test the LED strip in the space you intend to light. Once the 3M paper backing is removed and the lighting is fully installed, you cannot reposition or move the LED tape light to another location. The tape may not stick securely.
Installation considerations
- What is the best layout configuration for your installation?
- How will you run and conceal the wires to your LED tape lighting?
- Temporarily mounting the LED light strip using painter’s tape allows you to experiment with tape light positioning before permanent installation.

IMPORTANT:
Using painter’s tape or masking tape, temporarily place the LED light strip into your desired mounting position. Power on the LEDs to make sure you are achieving the desired lighting effect before removing the 3M paper backing for the final installation.
Connecting LED tape and adapter
- Use the following four ways to connect the LED tape and adapter according to installation requirements.
- Connect LED tape to the connector
- Connect connector to LED tape
- Connect LED tape to LED tape
- Connect connector to connector

NOTE:
Connect LED tape to the connector by aligning at the +12V on the LED tape and the arrow on the connector.

NOTE:
Connect the connector to LED tape by aligning at the arrow on the connector and the +12V on the LED tape.
NOTE:
Connect LED tape to LED tape by aligning at the +12V on the LED tape.
NOTE:
Connect the connector to the connector by aligning at the arrows on the connectors.
Cutting the LED strip (optional)
By cutting the strip and exposing the copper pads, an optional connector (C760011) or accessory (C760110) pack can be used for a more custom installation.
Preparing the assembly location
- Power the LED tape lighting and temporarily hold or tape into position with painter’s tape or masking tape – do not remove the 3M paper backing.
- Adjust the lighting to various angles and positions to get the desired level of illumination and lighting appearance. If the LEDs create undesirable light spots on walls or reflections, reposition the tape light strip farther away from surfaces or try a different mounting angle.
- Once you have determined your final mounting position, clean the surface to ensure the 3M self-adhesive backing will adhere properly.

IMPORTANT:
Before removing the 3M paper backing, it is important to test the LED strip in the space you intend to light. Once the 3M paper backing is removed and the lighting is fully installed, you cannot reposition or move the LED tape light to another location. The tape may not stick securely.
Installing the LED strip
- 5A Tape method: Working from one end to the other, remove the 3M paper backing and press into place. Press between the LEDs to help ensure secure contact with the mounting surface. Avoid pressing on the individual LEDs as this could damage the LED solder connections.

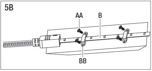
- 5B Clip and screw method: Place the LED strip (B) in the desired position. Use the clips (BB) and screws (AA) to secure the LED strip as shown. Clips should be placed in open areas of the strip. Do not cover the LED lights.
- Plug the adapter (A) into the wall receptacle and then use the remote (D) to turn the LEDs on.

NOTE:

- Use an angle greater or equal to 90 degrees when there is an LED chip on the corner while placing the strip in a concave position. (Angle≥90°)
- Use an angle greater or equal to 60 degrees when there is no LED chip on the corner while placing the strip in a concave position. (Angle≥60°)
- Use an angle greater or equal to 60 degrees when there is an LED chip on the corner while placing the strip in a convex position. (Angle≥60°) In the convex position, the angle should not reach 90 degrees. See the above diagram.
Installing the infrared receiver
- There are two options:
- A. Remove the protective tape from the adhesive back of the infrared receiver (C), then place the infrared receiver (C) onto the position and press to ensure proper adhesion to the surface.
- B. Use the two screws to install the infrared receiver in the position.

NOTE:

- A. The sensor efficiency distance is ≤5 meters and the sensor efficiency angle is about 60°.
- B. The infrared receiver must face the transmitter to operate properly.
Connecting to the power supply
Connect the adapter (A) to a power outlet.
Using the Remote Control
The remote control allows you to turn the lights on and off, change the color of the lights, and control the lighting effects.
The following buttons are available on the remote:
- Off/On: Turn the lights off or on.
- R: Change the lights to red.
- G: Change the lights to green.
- B: Change the lights to blue.
- W: Change the lights to white.
- Flash: Set the lights to flash.
- Strobe: Set the lights to strobe.
- Fade: Set the lights to fade.
- Smooth: Set the lights to smooth.
For any further questions or interests, please visit www.pltsolutions.com.
Operation
Using the remote
Direct the remote (D) towards the infrared receiver (C) to change the RGBW colors of the strip.
- A— Use to increase or decrease color brightness and to slow down or accelerate speed.
NOTE: there are 10 light intensity options and 10-speed setting options - B— ON/OFF switch.
- C— R, G, B, W:
Choose colors: red, green, blue, or warm white. - D— Flash key: 7 color jump change.
- E— Strobe key: Strobe color effect.
- F— Fade key: 7 color fade change.
- G— Smooth key: 3-color jump change.

NOTE: Sensor efficiency distance ≤ 5 meters.
Changing the battery
- To replace the battery, push in the tab on the side of the battery tray, and pull the tray out of the remote. Refer to the instructions on the back of the remote.

- Always purchase the correct size and grade of battery that is most suitable for the intended use.
- Clean the battery contacts and also those of the device before battery installation.
- Ensure the batteries are installed correctly about polarity (+ and -).
- Remove batteries from the equipment when it is not being used for an extended period.
- Remove used batteries promptly.
WARNING:
The remote contains a CR2025 DC 3V button battery. If swallowed, it could cause severe injury or death within 2 hours. Seek medical attention immediately.
Care and Cleaning
- To clean the fixture, disconnect the power by unplugging the adapter. Use a dry or slightly dampened, clean cloth to wipe the exterior surface of the fixture.
- Do not use any cleaners with chemicals, harsh abrasives, or solvents. Use only a dry, soft cloth to dust or wipe carefully.
Troubleshooting
| Problem | Possible Cause | Solution |
| The LED will not light. | The LED is burned out. | Discontinue the use of the lamp. |
| The power is off. | Ensure the power supply is turned on. | |
| The power cord is not plugged in. | Ensure the power cord is plugged into the outlet. | |
| The connector has faulty connections. | Check the connections of the connectors. | |
| The circuit breaker is turned off. | Ensure the circuit breaker is in the “ON” position. | |
| The fuse blows or a circuit breaker trips when the light is turned on. | A wire is exposed. | □ Discontinue use of the lamp. □ Unplug the unit from the wall. □ Contact a qualified electrician or call the Customer Care Service Team |
FCC Statement
This device complies with part 15 of the FCC Rules. Operation is subject to the following two conditions:
- This device may not cause harmful interference, and
- This device must accept any interference received, including interference that may cause undesired operation.
CAUTION:
Any changes or modifications not expressly approved by the party responsible for compliance could void the user’s authority to operate the equipment.
NOTE:
This equipment has been tested and found to comply with the limits for a Class B digital device, pursuant to part 15 of the FCC Rules. These limits are designed to provide reasonable protection against harmful interference in a residential installation. This equipment generates, uses, and can radiate radio frequency energy and, if not installed and used in accordance with the instructions, may cause harmful interference to radio communications. However, there is no guarantee that interference will not occur in a particular installation. If this equipment does cause harmful interference to radio or television reception, which can be determined by turning the equipment off and on, the user is encouraged to try to correct the interference by one or more of the following measures:
- Reorient or relocate the receiving antenna.
- Increase the separation between the equipment and the receiver.
- Connect the equipment to an outlet on a circuit different from that to which the receiver is connected.
- Consult the dealer or an experienced radio/TV technician for help.
Any further questions or interests, please visit
www.pltsolutions.com.



























