PLT SOLUTIONS PLTS-12257 LED Tape Light Strip Light Kit with Remote

WARNING
- Before installing, servicing, or performing routine maintenance upon this equipment, follow these general precautions.
- To reduce the risk of death, personal injury, or property damage from fire, electric shock, falling parts, cuts/abrasions, and other hazards, read all warnings and instructions included with and on the tape light box and all tape light labels.
- Proper grounding is required to ensure safety.
- Power must be turned off at the breaker before installation or maintenance.
- Installation, service, and maintenance of luminaires should be performed by a qualified licensed electrician.
- Wear gloves and eye protection at all times while installing, servicing, or performing maintenance on the tape light, and avoid direct eye exposure to the light source while it is on.
- Do not install damaged product. Inspect tape light for damage that may have occurred during transit. If damaged, contact the manufacturer immediately.
- These instructions do not purport to cover all details or variations in equipment nor to provide every possible contingency to meet in connection with installation, operation, or maintenance. Should further information be desired or should particular problems arise which are not covered sufficiently for the purchaser’s or owner’s purposes, contact the manufacturer.
CAUTION
- Install this product in accordance with country, regional and local laws and regulations.
- If unsure about the installation or maintenance of this product, consult a qualified electrician and check the local electrical code.
- Verify the supply voltage is correct by comparing it with the product label.
- Do not use the products close to flammable materials.
- Suitable for indoor/dry locations only. Do not use outdoors or under water.
FCC Statement
This device complies with part 15 of the FCC Rules. Operation is subject to the following two conditions:
- This device may not cause harmful interference, and
- this device must accept any interference received, including interference that may cause undesired operation.
Any changes or modifications not expressly approved by the party responsible for compliance could void the user’s authority to operate the equipment. This equipment has been tested and found to comply with the limits for a Class B digital device, pursuant to part 15 of the FCC Rules. These limits are designed to provide reasonable protection against harmful interference in a residential installation. This equipment generates, uses and can radiate radio frequency energy and, if not installed and used in accordance with the instructions, may cause harmful interference to radio communications. However, there is no guarantee that interference will not occur in a particular installation.
If this equipment does cause harmful interference to radio or television reception, which can be determined by turning the equipment off and on, the user is encouraged to correct the interference by one or more of the following measures:
- Reorient or relocate the receiving antenna.
- Increase the separation between the equipment and receiver.
- Connect the equipment into an outlet on a circuit different from that to which the receiver is connected.
- Consult the dealer or an experienced radio/TV technician for help.
Package Contents


Installation Instructions
Considerations Before Installation
- What is the best layout configuration for your installation?
- How will you run and conceal the wires to your LED tape lighting?
- Temporarily mounting the LED light strip using painter’s tape allows you to experiment with tape light positioning before permanent mounting.
- Power on the LEDs to make sure you are achieving the desired lighting effect before removing the 3M paper backing for final installation.

Installation
Use the following four ways to connect the LED tape and adapter according to installation requirements (see diagrams below).
- Connect the LED tape to the connector by aligning the +12V on the LED tape and the arrow on the connector.
- Connect the connector to the LED tape by aligning the arrow on the connector and the +12V on the LED tape.
- Connect the LED tape to the LED tape by aligning the +12V on the LED tape.
- Connect the connector to the connector by aligning the arrows on the connectors.

- Cut the LED tape in the center of the copper pads

- Power the LED tape lighting and temporarily hold or tape into position with painter’s tape or masking tape. Do not remove the 3M paper backing at this point.
- See the below installation recommendations for any angles in the LED tape light
- Use an angle greater or equal to 90 degrees when there is an LED chip on the corner while placing the strip in a concave position (see figure A).
- Use an angle greater or equal to 60 degrees when there is no LED chip on the corner while placing the strip in a concave position (see figure B).
- Use an angle greater or equal to 60 degrees when there is an LED chip on the corner while placing the strip in a convex position. In the convex position, the angle should not reach 90 degrees (see figure C).

- Adjust the lighting to various angles and positions to get the desired level of illumination and lighting appearance. If the LEDs create undesirable light spots on walls or create reflections, reposition the tape light strip farther away from surfaces or try a different mounting angle.
- Once you have determined your final mounting position, clean the surface to ensure the 3M self-adhesive backing will adhere properly.
- Working from one end to the other, remove the 3M paper backing and press into place (see figure 5A). Press between the LEDs to help ensure secure contact with the mounting surface. Avoid pressing on the individual LEDs as this could damage the LED solder connections.
- Once the 3M paper backing is removed and the lighting is fully installed, you cannot reposition or move the LED tape light to another location as the adhesive tape may not stick securely.

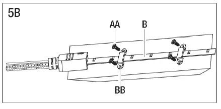
- If the clip and screw method (see figure SB) is preferred over the adhesive tape, place the LED strip (B) in the desired position and use the clips (BB) and screws (AA) to secure the LED strip as shown. Clips should be placed in open areas of the strip. Do not cover the LED lights.

- To install the infrared receiver (C), use one of the following two options:
- Remove the protective tape from the adhesive back of infrared receiver, then place the infrared receiver into the desired position and press to ensure proper adhesion to the surface.
- Use the two screws to install the infrared receiver into the desired position.
- Once the infrared receiver is installed, connect the LED tape light to the infrared receiver.

- The infrared receiver must face the transmitter of the remote in order to operate properly (see figure B).
- The sensor efficiency is a distances 5 meters (~16 feet) and an angle of 60 degrees (see figure A).

- The sensor efficiency is a distances 5 meters (~16 feet) and an angle of 60 degrees (see figure A).
- To connect the power supply, plug the adapter (A) into a power outlet. Connect the adapter plug into the infrared receiver (C).
- Inspect and test the LED tape light for proper opertation.
Remote Operation Instructions
Using the Remote
- Direct the remote (D) towards the infrared receiver (C) to change RGBW colors of the strip.
- Sensor efficiency distances 5 meters (-16 feet) and an angle of 60°.

- A— Use to increase or decrease color brightness and to slow down or accelerate speed.
(NOTE: there are 10 light intensity options and 1 o speed setting options) - B— ON/OFF switch.
- C— R,G,B,W: Choose color: red, green, blue, or warm white.
- D— Flash key: 7 color jump change.
- E— Strobe key: Strobe color effect.
- F— Fade key: 7 color fade change.
- G— Smooth key: 3 color jump change.
Using the Remote
- To replace the battery, push in the tab on the side of the battery tray, and pull the tray out of the remote.
- Refer to the instructions on the back of the remote.
- This remote requires a CR2025 DC 3V battery for proper operation
- Clean the battery contacts and also those of the device prior to battery installation.
- Ensure the battery is installed correctly with regard to polarity ( + and -).
- Remove the battery from the equipment when it is not being used for an extended period of time.
- Properly dispose of used batteries promptly.

Maintenance
- To clean the LED tape light, disconnect the power by unplugging the adapter. Use a dry or slightly dampened, clean cloth to wipe the exterior surface of the LED tape light.
- Do not use any cleaners with chemicals, harsh abrasives, or solvents. Use only a dry, soft cloth to dust or wipe carefully.
Troubleshooting

972-535-0926 I pltsolutions.com Iver 012723



























