ggmgastro BSW100 Floor Scrubber Drier

PRESENTATION
The machine is designed to wash and dry hard surfaces, in an environment-friendly way, since the mechanical action of the revolving brush allows cleaning with the aid of water only. As the machine moves forward, the dirt removed by the brush and the liquid delivered to dissolve it are picked up by the sucking action of the machine, which allows perfect, instantaneous drying. Operation with a water and detergent solution is possible for stubborn dirt, disinfection or giving fragrance to surfaces. The machine must only be used for this purpose. It provides its best performance if used correctly and kept in perfect working order. You are therefore requested to read this instruction manual carefully and to reread it whenever difficulties arise in use of the machine.
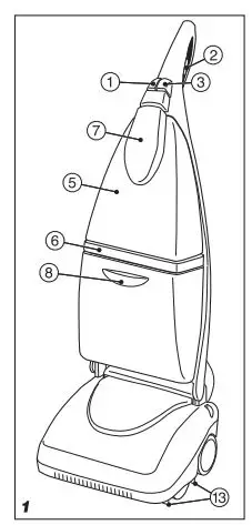
GENERAL DESCRIPTION

- Brush operation and master on switch
- Detergent dispenser switch
- Suction on switch
- Handle
- Clean solution tank
- Filter unit
- Clean solution tank cap – release handle
- Dirty solution tank
- Transport locking pedal
- Hook for winding power lead
- Intake lines
- Brush
- Squeegee blades
- Technical data sticker
overview
GENERAL PRECAUTIONS
To reduce the risks of fire, electric shock and accidental damage deriving from improper use:
- Read the instructions for use of the appliance carefully before use and keep this instruction manual in a safe place.
- Read the technical data label on the back of the appliance with care.
- Use indoors only.
- Do not immerse the appliance in any liquid.
- The power socket for the power lead must have an earth connection to legal standards.
- Disconnect the appliance after use and before any maintenance procedure.
- Do not leave the appliance unattended when connected to the electrical mains or when switched on.
- Do not pass the machine over the power lead when in operation, do not bend the lead at an acute angle, do not tread on it, do not apply loads of any kind.
- Do not pull the machine by the power lead.
- Keep the power lead away from heat sources.
- Do not use the machine if the power lead is damaged. For replacement, contact an authorised service centre only.
- Keep the machine indoors, protected from rain and frost.
- Use the machine only for the purposes for which it is intended.
- Do not use the machine on surfaces on which flammable solids or liquids are present (such as hydrocarbons, ash, soot)
- Do not use foaming detergents or detergents not specifically for scrubber-dryer machines. The detergent recommended by the manufacturer should be used.
- Do not use floor wax.
- Do not fill the tanks with acids, solvents, flammable substances or other liquids which may damage the mechanical parts and generate toxic vapours.
- Do not fil water solutions with temperatures above 40°C.
- Keep fingers, hair and loose clothing away from the moving parts of the machine
- Do not use the machine unless all removable parts are firmly closed.
- Do not remove parts of the machine which require the use of tools. For maintenance operations, refer to the instructions provided in this manual.
- Do not use the machine in environments where the vapours of flammable substances, paints or solvents persist and where flammable powders are in suspension.
- Do not use the machine over power sockets set into floors
- Keep the air intakes unobstructed and clean.
- Keep children and animals away from the machine when in operation
- Do not wash the machine with direct jets of water
- Do not transport the machine when switched on
- Do not allow children or the incapable to use the machine.
- The use of electrical power lead extensions is not recommended. If their use is necessary, make sure that the wire gauges and length correspond to the values stated in the table below and that the cable is completely unwound:
- 1,0 mm2 max 12,5 m
- 1,5 mm2 max 20 m
- 2,5 mm2 max 30 m
BEFORE USE
UNPACKING THE MACHINE
The machine is sold with all parts already assembled except for back hoses, not mounted on the machine. After removing the machine from the packaging make sure that it is intact. If in doubt do not use it and contact your dealer or an Authorised Service Centre. Insert back hoses as per drawing (fig.17). Read the technical data sticker (fig.2) carefully, and make sure that the machine is electrically compatible with the mains to which it is to be connected. The packaging must be disposed of in accordance with the laws in force, taking care not to leave hazardous parts in reach of children (e.g. plastic bags and small parts).
OPERATION OF THE PEDAL n° 9 (fig. 2)
USE POSITION: To use the machine simply release the pedal by pressing it and tilt the steering handle (fig.3).
TRANSPORT POSITION:
For transfer from one room to another, the machine absolutely must be switched off and the brush and squeegee blades must be raised above the ground (fig.4). To connect the handle rigidly to the base, tilt the handle forward until the pedal locks, engaging the catch (fig.5).
PUSH-BUTTON LAYOUT
The machine is equipped with 3 push-buttons (fig.1) with the following functions:
- Master and washing brush rotation switch
- Delivery of detergent liquid
- Suction of the liquid delivered
TOP TANK n° 5
This has a capacity of about 2.8 litres max. and is designed to contain the clean detergent liquid. The machine needs at least one litre of solution in the tank to be able to start delivery. To avoid making the machine heavier than necessary, only the amount of liquid strictly necessary to clean the surface for washing should be placed in the top liquid tank.
REMOVAL:
Simply turn the cap-knob anti-clockwise until the retainer is released (fig.6) and separate the tank from the handle (fig.7). To open the filler inlet, remove the cap-knob by pulling it towards you.
FILTER UNIT n° 6
This conveys the dirty liquid sucked up by the squeegee blades to the bottom tank.
REMOVAL:
Lift it off the bottom tank by taking hold of it at the sides and connect it to the support provided (fig.8). It is important not to bend the dirty liquid lines at an acute angle (fig.18)
BOTTOM TANK n° 8
This collects the dirty liquid sucked up during drying
REMOVAL:
This can only be removed after removal of the top tank and filter unit. It must be emptied whenever the machine is filled up with clean detergent liquid. To remove it, take hold of it in the gripping zone, lift it slightly until it disengages from the back of the handle and extract it (fig.8).
DETERGENT LIQUID
The detergent liquid may consist of pure water or of water to which a small amount of non-foaming detergent specifically for floor cleaning machines, of the type supplied with the machine, has been added. It is important to comply with the dosage recommended on the pack to avoid the production of foam, which may damage the suction circuit. Before fitting the tank filled with the clean solution on the machine, make sure that the collection tank has been emptied.
CLEANING PAVED SURFACES
PRELIMINARY OPERATIONS:
- Fill the machine with water and floor detergent.
- Prepare the surface for cleaning by using a brush or vacuum cleaner to remove crumbs, hairs, soil, lumps of dust, etc. The machine will give its best performance on surfaces which have first been brushed, so they are ready for washing and drying.
- Connect the plug of the power lead to the mains socket.
- Press the handle release pedal.
WASHING TECHNIQUE:
- Press button 1 to start the brush rotating.
- Press button 2 to deliver the detergent liquid, setting the dosage to suit the type of surface and the type of dirt and trying not to use more than necessary.
- Press button 3 to suck up the detergent applied to the floor.
- Move the machine slowly forward and back, following a washing pattern as shown in figure 9 if possible.
- Keep using the rotating brush in the most difficult points to remove the most stubborn dirt.
WARNINGS
- Before starting to wash the floor, users are advised to try out the machine on a small area to check whether the detergent about to be used is suitable for the surface to be cleaned and to perfect the method of use.
- Do not leave the machine stationary with the rotating brush on. This might damage the floor.
- The detergent solution dosage must ensure that the squeegee blades do not work dry.
MAINTENANCE
AFTER WORK
- After disconnecting the plug from the mains socket, wind the lead around the hooks provided (fig.2) and move the machine’s handle to the vertical position, until the pedal catch is heard.
- Empty both the tanks and rinse and dry them carefully.
- Return the tanks to the handle and place the machine in a protected place, where it is not at risk of knocks, frost, humidity or water. The machine must be placed on the stand provided to avoid damaging the squeegee blades (fig.10).
CLEANING THE BRUSH
- With the aid of a screwdriver, unscrew the 2 screws shown in fig.11.
- Free the brush by taking hold of it from the side of the 2 screws just removed and extract if from the pin on the opposite side
- Clean the brush under running water, taking care to dry it perfectly before putting it back in place.
- To reconnect the brush, turn the drive pin to the position shown in fig.12.
- Place the brush on the drive pin.
- Bring the bearing towards its seat.
- Turn the brush by hand while free to position the bearing correctly.
- Re-close by tightening the 2 screws, taking care not to trap the bristles of the brush.
CLEANING THE SQUEEGEE BLADES
- To remove the squeegee blades, they must be separated by releasing the retainers at the ends (fig.13) and extracting them in opposite directions (fig.14)
- Clean them under running water with the aid of a non-aggressive detergent and insert them in the guides, remembering to re-engage the end retainers.
TROUBLESHOOTING
THE BRUSH DOES NOT TURN
- Check that the plug is connected to the mains socket.
- Check that the switch is pressed correctly..
- If you are using a power lead extension, make sure that it complies with the minimum dimensions stated in the safety precautions section.
- The brush motor has accidentally overheated: check that the air intakes in the base have not become blocked and wait for the overload cutout to reset.
- Check that there are no jammed objects preventing the brush from rotation.
- If the problem persists contact the nearest Service Centre.
THE MACHINE DOES NOT DELIVER DETERGENT
- Check that there is detergent in the tank
- The tank has not been fitted correctly and the delivery valve is not working. Reposition the tank.
- After removing the brush, clean the 4 detergent delivery nozzles with the pin provided (fig.15)
- If the problem persists contact the nearest Service Centre
THE MACHINE DOES NOT DRY
- Check that the suction squeegee blades are properly positioned and that their end retainers are closed (see maintenance section).
- Empty the dirty detergent collection tank.
- Check that the hoses are connected (figs.16 and 17) and not bent at an acute angle (fig.18).
- Check the wear of the pattern on the squeegee blades (fig.19). If necessary replace them, referring to the maintenance section.
- Check the wear of the pattern on the squeegee blades (fig.19). If necessary replace them, referring to the maintenance section.
- If the problem persists contact the nearest Service Centre.
THE MACHINE DOES NOT CLEAN PROPERLY
- Check that the brush and the squeegee blades have been fixed correctly (see maintenance section).
- Check the brush for wear (the min. bristle length is 20mm). If necessary replace them, referring to the maintenance section.
- If the problem persists contact the nearest Service Centre
EXCESSIVE FOAM PRODUCTION
- Too much detergent in the water.
- If the problem persists contact the nearest Service Centre
THE DETERGENT SOLUTION IS NOT EVENLY DISTRIBUTED
- After removing the brush, clean the 4 detergent delivery nozzles with the pin provided
- If the problem persists contact the nearest Service Centre
THE MACHINE LEAKS WATER
- Empty the dirty detergent collection tank
- Check that the O-ring seal is present and undamaged (fig.20)
- If the problem persists contact the nearest Service Centre.
WARRANTY
All our appliances have undergone thorough checks and are covered by a 12-month warranty against manufacturing defects. The warranty period starts from the date of purchase. If the machine is repaired during the warranty period, a copy of the purchase document must be enclosed.
The warranty is only valid if:
- The defects are of material or manufacturing (defects which cannot be clearly attributed to the material or manufacture will be examined by one of our technical service centres or on our premises, and the charges will be allocated.
- The instructions in this manual have been followed to the letter.
- The repairs have been carried out by authorized repairers.
- The machine has not been subjected to overloads such as knocks, dropping or frost.
- Suitable detergents have always been used.
- The machine has not been hired or has not been used for commercial/professional purposes in any other way.
The warranty does not cover:
- Parts subject to normal wear and tear (brush, squeegee blades, paintwork).
- Accidental damage, damage during transport, damage due to negligence or improper treatment, or damage due to use or maintenance not in accordance with the instructions provided in the this instruction manual.
- The cleaning of functional parts.
A repair under warranty includes the replacement of faulty parts, while shipment and packaging are not included. Any replacement of the appliance and extension of the warranty further to work done on defects is not possible. The repair is carried out at one of our authorised technical service centres or on our premises and the machine must reach us freight prepaid, i.e. with freight costs paid by the user. The manufacturer declines any liability for any injury or damage caused by poor installation or imperfect use of the appliance.
DISPOSAL
As the owner of electrical or electronic equipment, the law (in accordance with the EU Directive 2002/96/ EC of 27 January 2003 on waste from electrical and electronic equipment and the national laws of the EU Member States that have implemented this Directive) prohibits you from disposing of this product or its electrical / electronic accessories as municipal solid waste and obliges you to make use of the appropriate waste collection facilities. The product can be disposed of by returning it to the distributor when a new product is purchased. The new product must be equivalent to that being disposed of. Disposing of the product in the environment can cause great harm to the environment itself and human health. The symbol in the figure indicates the urban waste containers and it is strictly prohibited to dispose of the equipment in these containers. Non-compliance with the regulations stipulated in the Directive 2002/96/EC and the decrees implemented in the various EU Member States is administratively punishable


















