P-1030R Drum Pedal PEARL DRUM PEDAL

Congratulations on your purchase!
To get optimum performance of your “P-1030R / P-1030” Drum Pedal, please read this Instruction Manual before playing.
overview

The Pearl Drum Pedal is a high-performance drum pedal designed to provide optimum performance. The drum pedal comes with the Control Core Quad Beater and Dual Chain for effortless playing. The product comes in two models, P-1030R and P-1030.
Product Features
- Control Core Quad Beater
- Dual Chain
- Footboard
- Heel Plate
- Power Plate
- Beater Setting Stopper
- Beater Holder Link
- Beater Angle Cam
- Spring Adjustment Knob (for Hoop Clamp)
- Upper Nut
- Lower Nut
- Click Lock Anchor Screw
- Wing Bolt (for Hoop Clamp)
- DuoBeat Beater (P-1030)
- Allen screw
- PowerShifter (P-1030R)
Product Usage Instructions
Beater Angle Adjustment
Depending on your preference, the Beater can be positioned closer or farther away from the Bass Drum Head. This is accomplished by loosening the Key Bolt on the Beater Angle Cam and swinging the Beater to the desired angle. Use the Set Screw in conjunction with the Index Marks on the Beater Angle Cam as a guide for adjustments. Re-tighten the Key Bolt to
secure the angle (Fig.3).
Tip
The most popular settings are between the “A” to “B” Index Marks. Settings toward “A” offer increased power, and settings toward “B” offer increased finesse. Settings extending beyond that range will be more extreme. For general use, adjust the Set Screw to the center of the “A” and “B” Index Marks on the Beater Angle Cam as shown (Fig.4).
Beater Setting
Insert the Control Core Quad Beater into the Beater Holder Link with the desired face toward the bass drum head until it stops against the Beater Setting Stopper. Tighten the Key Bolt with a Tuning Key to secure (Fig.1-A). Make sure that the Beater Setting Stopper is flush against the Beater Holder Link (Fig.1-B). To adjust the height of the Quad Beater, loosen the Allen Screw on the Beater Setting Stopper with the provided hexagonal wrench. Set the Quad Beater to the desired height and re-tighten the Allen Screw (Fig. 1-C).
Tip
The Beater Setting Stopper preserves the height setting if the beater is removed when transporting the pedal.
Tip
In the initial factory setting, the Index Mark on the Beater Holder Link and Marking on the Shaft is aligned in the Window as shown (Fig. 2).
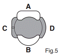
Control Core Quad Beater (P-1032R)
The Control Core Quad Beater has four striking surfaces, each capable of producing a different sound. Please refer to the following chart to determine the sound best suited to your playing style (Fig.5). 
| Surface | Surface Material | Contact Area | Sound |
|---|---|---|---|
| A | Felt | Horizontal | Warm Sound with Fat Attack |
| B | Felt | Vertical | Warm Sound with Sharp Attack |
| C | Plastic | Horizontal | Bright Sound with Fat Attack |
| D | Plastic | Vertical | Bright Sound with Sharp Attack |
DuoBeat Beater (P-1032)
The DuoBeat Beater features a Felt Surface (A) for a full, warm sound and a Plastic Surface (B) for a sharper, punchier sound. Use the side that best suits your playing style.
| Surface | Surface Material | Sound |
|---|---|---|
| A | Felt | Full, Warm Sound |
| B | Plastic | Sharper, Punchier Sound |
Spring Tension Adjustment
The P-1030R / P-1030 Pedal features our patented Click Lock spring tension retention system. To adjust the spring tension, disable the Click Lock by lifting the lever upward (Fig.7-B) and loosen the Upper Nut shown in (Fig. 7-A). To increase spring tension, turn the Lower Nut clockwise. To decrease spring tension turn the Lower the Click Lock lever to engage the grooves around the Lower Nut until you feel the lever “Click.” Before playing, make sure that both Upper and Lower Nuts are tight and the Click Lock lever is in a vertical position with both sides of the lever engaged in the grooves around the Lower Nut (Fig.8).

Anchor Screw
To prevent the bass drum from creeping forward while playing turn the Anchor Screws clockwise to extend the spikes downward into the floor (Fig.9).

CAUTION
Recommended for carpeted surfaces only. Use on hard flooring may result in damage to the surface from spikes. Check to ensure spikes are retracted when used on these surfaces.
Hoop Clamp system
To attach your pedal to the bass drum, slide the bass drum hoop between the Hoop Clamp and the bottom lip of the pedal. Square the pedal and tighten the Wing Bolt to secure the pedal to the bass drum hoop. The Hoop Clamp system is fully adjustable and comes preset from the factory to accommodate a variety of hoop thicknesses. To adjust, use the hexagonal wrench provided to loosen the Allen Screw on the side of the Adjustment Knob. Rotate the Adjustment Knob until proper fit is achieved then tighten the Allen Screw to secure setting (Fig.10).

Note
If the heel of the pedal lifts while playing, loosen the Adjustment Knob to change the angle of the Hoop Clamp until the pedal remains flat.
PowerShifter
The PowerShifter function allows you to change the feel and action of the pedal by shifting the footboard position back and forth. To change the position, loosen the Key Bolt in the heel of the footboard and move the footboard to the desired position: A, B or C. Tighten the Key Bolt again (Fig.11).

Note
Make sure that the heel is flush with the Power Plate to prevent damage to the pedal.
Rubber Mats
To maximize traction of the rubber mats underneath the Power Plate keep them clean and dust free using a damp cotton towel.
CAUTION
Periodically check all Allen Screws for tightness and tighten them with the provided hexagonal wrench as needed. Periodically apply lube to all moving parts such as the Chain, Cam Roller, Footboard Hinge, etc. for optimal speed and extended life of your pedal.
http://www.pearldrum.com Products and specifications are subject to change without notice.
Printed in China -1912-

















