GAGGENAU VP 414 611 15 Inch Vario 400 Series Teppan Yaki
INTRODUCTION
Cooking directly on the hard-chromed metal surface, without any pots or pans Exact temperature control up to 240 °C Optimum heat distribution Solid stainless steel knob, also selectable with black robust finishing, for precise control and personalisation Precision crafting of 3 mm stainless steel For surface mounting with a visible edge or for flush mounting Can be combined perfectly with other Vario appliances of the 400 series
Cooking zones
Usable area 31 x 44cm (WxD)
Handling
Control knobs with illuminated ring, cooking zone and temperature markings. Electronic temperature control from 120 °C to 240 °C.
Features
Two zones, each 1500 W, can be operated together as a complete surface or each half separately. Keep warm setting. Cleaning stage. Easy to clean, similar to a cast pan.
Safety
Safety shut-off. Pre-heat and residual heat indicator.
Planning notes
Depending on the type of installation (surface-mounted or flush-mounted, with or without an appliance cover), the specific location of the cut-out and the knob positions may vary. If combining several Vario appliances of the 400 series, a connection strip VA 420 must be placed between the appliances. Depending on the type of installation, the corresponding connection strip must be provided. The bearing capacity and stability, in the case of thin worktops in particular, must be supported using suitable substructures. Take into account the appliance weight and additional loads. Additional instructions for flush mounting: Installation is possible in worktops made of stone, synthetics or solid wood. Heat resistance and watertight sealing of the cut edges must be observed. Concerning other materials please consult the worktop manufacturer. The groove must be continuous and even, so that uniform placing of the appliance on the gasket is ensured. Do not use discontinuous lining. The joint width may vary due to size tolerances of the combinations and of the worktop cut-out. If installing several appliances in individual cut-outs allow for a division bar of minimum 50 mm between the individual cut-outs. A minimum lateral clearance of at least 40 mm from adjacent heat-sensitive furniture or contact surfaces must be observed or thermal insulation fitted. Appliance can be snapped into the worktop from above. Appliance weight: approx.
Connection
Total connected load 3.0 KW. Connecting cable 1.5 m without plug.
CHARACTERISTICS



- A: When installing with appliance cover, take the deeper cut-out into consideration (observe separate planning notes)
- B: 130 mm in the area of the cable clamp (left, on the rear side) measurements in mm
Installation with appliance cover, flush mounting
Installation with appliance cover, surface mounting

Cross-section
- A: 3.5-0.5
- 6.50in combinations with frameless induction hobs
- B: Fill with silicone
- When installing with appliance cover, pay attention to the deeper cut-out and the front and rear groove width. measurements in mm
View from above
- A: When installing with appliance cover, take the deeper cut-out into consideration (observe separate planning notes) measurements in mm
Longitudinal section
- A: 3.5-0.5 6.505in combinations with frameless induction hobs
- B: Fill with silicone measurements in mm
Installation with appliance cover, flush mounting
- A: 3.505 measurements in mm
Installation with appliance cover, surface mounting

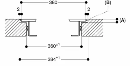
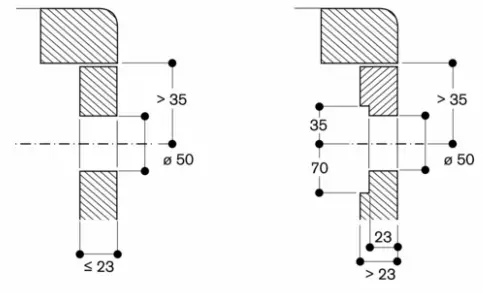
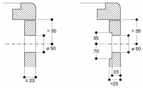
Installation of the control knob; surface mounting

Installation of the control knob; flush installation

- A: When installing with appliance cover, take the deeper cut-out into consideration (observe separate planning notes)
- B: 133 mm in the area of the cable clamp (left, on the rear side)
- C: 3.5-05 6.505in combinations with frameless induction hobs measurements in mm






















