TEKA EFX SERIE Modular Teppan Yaki Instruction Manual
WARNING: The appliance and its accessible parts become hot during use.
Care should be taken to avoid touching heating elements. Children less than 8 years of age shall be kept away unless continuously supervised.
This appliance can be used by children aged from 8 years and above and persons with reduced physical, sensory or mental capabilities or lack of experience and knowledge if they have been given supervision or instruction concerning use of the appliance in a safe way and understand the hazards involved.
Children shall not play with the appliance.
Cleaning and user maintenance shall not be made by children without supervision.
WARNING: Unattended cooking on a hob with fat or oil can be dangerous and may result in fire. NEVER try to extinguish a fire with water, but switch oñ the appliance and then cover flame e.g. with a lid or a fire blanket.
WARNING: Danger of fire: do not store items on the cooking surfaces.
Do not use a steam cleaning unit of the stove, hobs and ovens.
The hobs is not designed to work with an external timer, or with a remote control system.
WARNING: Use only hob guards designed by the manufacturer of the cooking appliance or indicated by the manufacturer of the appliance in the instructions for use as suitable or hob guards incorporated in the appliance. The use of inappropriate guards can cause accidents.
WARNING: The cooking process has to be supervised. A short term cooking process has to be supervised continuously.
TEPPANYAKI DESCRIPTION
MODEL: EFX 30 TEPPANYAKI
EFX 30.1 TEPPANYAKI
of (A) 1200 – (B) 2400 W
- Hotplate “partial-total”
- Control knob kitchen area:
(across the plate position 2 (total Fig. B) or position 1, only the front (Fig. A partial) - Control knob temperature adjustment
- light general function, indicating that the unit is in operation
- operation indicator light connected to the thermostat: when it turns off, this indicates that the desired temperature has been reached.
Caution: this appliance is designerf for personal fioose/io/r/ ose only.
Warning: during operation the work surfaces of the cooking area become very hot: keep children away!
This cook fop was cfesipned fo be osecf exc/osive/y as a cooking appliance: any offier ose (such as heal/ng rooms) is to be considered improper and r/angeroos.
USE
USE AND ADVICE ON THE TEPPANYAKI
The Teppanyaki appliance grants you the choice of cooking on both grilling zones or solely the frontal grilling zone and with the use of a thermostat knob, it allows you to adjust the temperature in the range of between 0 and 250°C.
- The Teppanyaki grill allows you to cook meat, vegetables, fruit, etc…using small quantities of vegetable fats (butter, oil, coconut oil, lard. In addition to cooking, the appliance can also be used to keep already cooked food hot, even food still in the pans.
- Before using the appliance for the first time, carefully clean the appliance including its components as specified in the Chapter 2 on page 6, subsequently, for a few minutes, heat up the empty grilling surface with no food on it.
- During this time the appliance may emit smoke or unpleasant odours (due to the burning of the grease used in the manufacturing processes of the appliance), so the room should be well aired during its operation.
USING THE APPLIANCE
After selecting whether to cook solely on the front grilling zone (fig. A)
or the entire
grilling zone (fig. B) rotate the knob (6) to the desired position (figure 2).
Illumination of the indicator light (8) indicates that the appliance is being powered. If you choose to only use the front grilling zone, due to the flush arrangement of the grill surface, the back grilling zone will also heat up (for example, if the front grilling zone is heated to 200°C, the back drilling zone will reach a temperature of 100°C) and can therefore be used to keep cooked food hot.
Burn hazard! Do not touch the back grilling zone with hands thinking that it will be coo/! The TEPPANYAKI is controlled by an energy regulator to multiple positions (see fig. 1).
Its insertion is performed by rotating clockwise the knob right (7) to the desired position (from 45 °C to250 °C). You will hear a slight click indicating that the exclusion of the thermostat and the plate will become in a short red-hot, the indicator (9) will light to go off when it reaches the set value. The choice of temperature depends on the type of food that you want to cook, its size and its water content. Wait a few minutes until the grill heats up well, subsequently, with the help of a spatula, if necessary spread fats or oils across the grill surface and place the food to be cooked on this surface.
- Whilst cooking, if required, it is possible to adjust the temperature: a few minutes may be required for heating or cooling down of the grill surface before reaching the newly set temperature: the turning off of the indicator light (9) indicates that the newly set temperature has been reached.
When you have finished cooking, turn both knobs to the “0 – off” position. - If you choose to only use the front grilling zone, you can take advantage of the back grilling zone (which will also be hot) to keep already cooked food hot.
- 7fze grill stzzface remains hot even aner being switched off; in order to same energy, you can theref’ore switch fhe appliance off be/’ore fhe end of cooking lime an4 conf/ntze cooking using fhe remaining heal or you can izse this heal to keep already cookez/ food hot. the following fable provides some approximate information.
Place the food evenly across the grill surface, ensuring that the the food rests completely on the grill surface.
We strongly reccomend to not cut up food on the grill surface, but that pieces are cooked after having already been divided into small, individual portions.
On/y turn file food once it comes away eas//y from fhe grill surface: fake care not to scratch fhe cooking surface with utensils: carefully choose k/fchen eqiz/pmenf with rotznzfezf erfges.
WARNINGSANDADVICEFOR THE USER:
Before or at the time of/nsezfion, howev’er, /ffhe TeRRanyaki rema/nerf ill/e for a long lime is necessary in order fio e/#mmm_nafe any moisture absorbez/ by the insulating mafezia/ should 6e cfriecf by placing fhe 7eppanyaki for 10 minutes on the posiffon of 100 OC contro/ ov’er the enffre plate. to tzse correctly remember:
- When Using fhe 7eppanyakr, zfo nof leave fhe app/lance zinaftenzfer/ anrf make store thaf children are not nearby. In particular, enszzre and supervise the cooking of foods that tise oils and fats as highly 8ammabfe. Danger of burns.
- During operaffon, some parfs of fhe eqzzipmenf may become hot! Do not come into contact witfi ffiese parts without appropriate personal protection.
- Even affier Use, the Tefi›m nyaki remains hot fâra long lime; Do notp/ace your hands or ofherob/eels in order to avoid hums.
- As soon as yoti see a crack on fñe surface of fñe heating e/ement, /mmecf/ate/y disconnect the unit fmm fhe mains.
- The instructions for hobs should incficafe that the device is not intended to be put into operation by means of an external timer or a separate remote ontrol system.
- **o**O*9 fi› to modify fhe technical characteristics of the product, as it can ge r/angerous.
- Do not touch the appliance with wet or clamp hands or feet;
- Do nof Use the app/lance barefoot;
- 7he manufacturer will not be //ab/e fâr any zfamage resulting from improper, incorrect or unreasonable use;
- /\/ever leave fhe app/lance tznaffenr/er/ wfi/ie Using the gzfff, and keep children af a safe r//sfance. in particular, enstzre that fhe handles are in fhe correct position inwards and watch out when cooking faod with oil and fât as they are easi/yinffammab/e.
- lfyou should decide not to zzse this app/lance (orieplace an old model) gefore taking it to fhe shredder will be marfe inoperative in the manner provided by law in fhe fie/zf of’ health profecfion and env/ronmenfa/ pollution, making harm/ess ones also 4angerotzs parts , especially far ch//4ren, who may zise an abandoned app/lance to play.
- After having used fhe hob make sure fhaf the index of’fhe knobs is in fhe c/osezfposifion (0)
Below is a table with some data indicative only for cooking
| ALIMENTOS | °C |
| Pescado | 170 °C – 180 °C |
| Verdura/fruta | 200 °C |
| Carnes (cerdo, res, ternera) | 180 °C – 200 °C |
| Carnes (cordero, aves de corral) | 150 °C – 180 °C |
CLEANING
CAUTION: before cleaning of any kind, this connect the appliance from the mains.
CLEANING TEPPANYAKI
To maintain the plate surface of the Teppanyaki always clean and to extend the lifespan of the appliance, it is very important to wash it after every use with warm, soapy water, rinse, and dry thoroughly.
Let the barbecue and all its parts cool off before cleaning. Do not use scouring pads, abrasive cleaners or corrosive sprays.
Never allow vinegar, coffee, milk, salt water, lemon or tomato juice to remain in contact with the surfaces for long periods of time.
The plale:
The teppanyaki surface: should be cleaned when it is at a temperature in the range of approximately 50-60 °C; at this temperature, it is easier to remove food residue. If the plate surface is cold, move the thermostat knob (7) to 50-60 °C, if it is still hot, wait until it has cooled down: in such a case, when you have decided to carry out the cleaning procedure, in order to determine the plate surface temperature, rotate the knob thermostat (7) until the indicator light illuminates (9) and read the indicated temperature (figure 1), then return the knob (7) to the “0-off”
position.
Remove, with the help of a spatula, the larger residues (select utensils with rounded edges in order to avoid scratching the plate surface), subsequently, wet the plate surface with a little water mixed with washingup detergent and leave it to soak for a few minutes in order to remove the encrustations. Using a cloth or kitchen roll, remove residues which have become stuck to the plate surface and the water mixed with the detergent. Rinse the plate surface numerous times using a wet cloth and carefully dry.
If you wish to clean the plate surface between two cooking operations, using a spatula, remove the larger residues and place ice cubes and lemon juice on the hot plate surface. The melting ice cubes will soften the encrustations whilst the lemon juice will remove the odours of the previously cooked food. Use the spatula to remove the remaining residues.
WARNING:
- to maintain the grill in good condition after tise, it should be freafezf with he special products ava/lag/e on ffie market so that ffie surface always remains c/ean. This formation is necessary to prevent the formal/on ofrtzsf.
- Don;t use steam jets for the equipment cleaning.
WARNING: this appliance has been designed for domestic user or similar such as:
- kitchen facilities inside shops, offices, working environments;
- farm holidays facilities;
- guest facilities in hotels, motels and other residentials environments;
- in the Bed & Breakfast
TECHNICAL DATA FOR INSTALLERS
Installation and maintenance listed in this section must only be carried out by qualified personnel.
IMPORTANT: a perfect installation, adjustment or transformation of the cook top to use other gases requires a QUALIFIED INSTALLER: a failure to follow this rule will void the warranty.
The appliance must be correctly installed in conformity with current law and the manufacturer’s instructions.
A faulty installation can cause damage to persons, animals or objects, towards whom the manufacturer cannot be held responsible. The cut-off or automatic control devices of the appliance can only be modified by the manufacturer or by a duly authorized supplier.
INSTALLING THE TEPPANYAKI T
Take the Teppanyaki out of its packaging, unpack the various loose parts, then make sure it is not damaged. In case of doubt do not use the appliance and contact a qualified technician.
Packaging (cardboard, bags, expanded polystyrene, nails…) must not be left within children’s reach as they are potential sources of danger.
An opening in the table top of the piece of modular furniture must be made with the dimensions indicated in fig. 3,
making sure that the dimensions of the space required to install the appliance are observed (see fig. 4).
USEFUL MEASUREMENTS
(mm)
| A | B | C | D | E | F |
| 282 | 482 | 59 | 59 | 100 min. | mín. 120 mm |
SECURING THE TEPPANYAKI
To secure the teppanyaki to the worktop the fastening clamps accompanying this booklet must be assembled. The following procedures must be carried out to do this:
- remove all movable parts from the teppanyaki;
- turn the appliance over taking care to place it on a soft surface to avoid damaging the external surfaces;
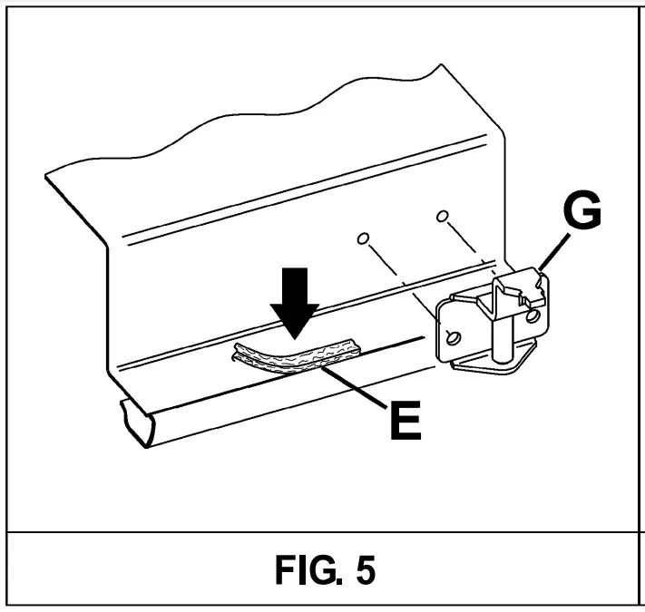
- remove the clamps “G” from the package and install them according to the diagram in fig. 5.
After these steps have been carried out, the special gasket that prevents liquids from leaking can be installed. To fit this gasket correctly, please strictly follow the directions below:
- detach the gasket strips from their support taking care that the transparent protection remains attached to the gasket.
- Put the gasket “E” (fig. 5) in the correct position under the edge of the table top, so that the outer side of the gasket fits perfectly with the external perimeter of the worktop. The ends of the strips must fit without overlapping.

- Make sure the gasket adheres to the countertop evenly all around, press it down with your fingers, then remove the protective strip of the gasket and position the teppanyaki in the opening made in the worktop. – Secure the appliance by tightening the clamp screws “F” (see fig. 6).

- In order to prevent any accidental contact with the bottom surface of the teppanyaki heated during use, you must apply a separation in wood must be inserted and fastened with screws at a minimum distance of 120 mm from the top. (fig. 7).

WARNING:
note that the adhesive which joins the plastic laminate to the worktop must be resistant to temperatures of no less than 150 °C to prevent the covering from detaching. The installer is advised that the rear wall, adjoining and surrounding surfaces of the barbecue must be resistant to a temperature of 90 °C.
ELECTRICAL CONNECTIONS
IMPORTANT: the appliance must be installed following the manufacturer’s instructions. The manufacturer will not be liable for injury to persons or animals or property damage caused by an incorrect installation.
The electrical connection must be made in conformity with current rules and regulations. Before making a connection, check that:
- the voltage matches the value shown on the specification plate and the section of the wires of the electrical system can support the load, which is also indicated on the specification plate.
- The capacity and outlets of the electrical installation are suitable for the maximum power output of the appliance (see the information label attached on the underside of the housing).
- The outlet or installation is provided with a ground connection according to standards and provisions currently in force. All responsibility is declined for failure to comply with these provisions.
- If a power cord is not supplied with the appliance, connect a cable with a suitable section to the terminal board (see the table in paragraph 6) keeping the ground wire longer than the lead wires in conformity with the diagram in fig. 8.

When connection to the power circuit is made through an outlet:
- apply to power cable “C”, if not provided, a standard plug suitable for the load indicated on the information label. Connect the wires as in the diagram in fig. 8 taking care to observe the responses listed below:
letter L (phase) = brown cable;
letter N (neutral) = blue cable;
symbol + (earth) = yellow-green cable. - The power cord must be placed in a way that it does not reach an temperature of 90 °C in any position.
- To connect, do not use adaptors or switches as they may cause false contacts resulting in dangerous overheating.
- The outlet must be accessible after the built-in.
When connection is made directly to the power circuit:
- place a switch between the appliance and the circuit of an appropriate size for the load of the appliance and with a minimum aperture between contacts of 3 mm.
- Remember that the earth cable must not be broken by the switch.
- The electrical connection may also be protected by a high sensitivity differential switch.
It is strongly recommended that the yellow-green earth cable provided be connected to a good earth installation. Before performing any service on the electrical part of the appliance, it must absolutely be disconnected from the electrical network.
If the installation requires modifications to the home’s electrical system or if the socket is incompatible with the appliance’s plug, have changes or replacements performed by professionally-qualified person. In particular, this person must also make sure that the section of the wires of the socket is suitable for the power absorbed by the appliance.
WARNING: all of our appliances are designed and manufactured according to European standards EN 60 335-1, EN 60 335-2-6 and relative amendments. This appliance satisfies the requirements of European directives: – CEE 2004/108/CE concerning electromagnetic compatibility.
- CEE 2006/95/CE concerning electrical safety.
- CEE 2011/65 / UE on the restriction of use of certain hazardous substances.
- Regulation (EU) No. 66/2014 supplementing Directive 2009/125/ EC. Standards EN 60350-2.
MAINTENANCE
Before carrying out maintenance of any kind, disconnect the appliance from the mains. All maintenance must be carried out by authorized personnel only.
Procedure in case of malfunction
- Before contacting your nearest Service Centre, do the following.
- Collect data from the equipment data plate on the bottom (model and serial number).
Attention! While waiting for resolution of the problem, you should stop using the appliance and disconnect it from the power supply. Do not attempt to repair or modify the appliance in any of its parts: in addition to voiding the Guarantee, this may be dangerous.
PART REPLACEMENT
Note: in the event the power cord is replaced, the ground wire must be left longer than the lead wires (fig. 9) and the instructions in the paragraph “ELECTRICAL CONNECTIONS” must be observed.
TECHNICAL SPECIFICATIONS OF ELECTRICAL COMPONENTS
To facilitate the task of the installer a table with component specifications is included below.
ELECTRICAL COMPONENTS OUTPUT
| Name | Power (W) |
| Teppanyaki | 2400 |
TYPE AND SECTION OF POWER CABLES
| Type of cable | Total output of appliance | Single-phase power supply 220-240 V- |
| Rubber H05 RR-F | 2400 W | 3 X 1.5 mmi (*) |
| Neoprene H05 RN-F | 2400 W | 3 X 1.5 2 (+) |
| Neoprene H07 RN-F | 2400 W | 3 X 1.5 mm° (*) |
Specification
| Voltage | 220-240 V – |
| Frequency | 50/60 Hz |
| Total nominal power | 2400 W |
IF THE POWER CABLE IS DAMAGED, SHOULD BE REPLACED BY THE MANUFACTURER OR ITS AFTER SALES SERVICE
WARNING: MAINTENANCE MUST ONLY BE PERFORMED BY AUTHORIZED PERSONS.
Before leaving the factory, this equipment was tested and adjusted by skilled personnel so as to guarantee the best operating results.
Original spare parts can only be found at our technical service centres and authorized stores. Every repair or adjustment necessary thereafter must be carried out with the greatest care by qualified personnel. For this reason we recommend you always contact the dealer you purchased it from or our nearest service centre stating the make, model, series and type of problem experienced with the equipment. The relevant specifications are stamped on the information label attached on the underside of the appliance and on the label attached to the packing box. This information will allow the technician to procure the appropriate spare parts and guarantee that the right action is taken promptly. It is recommended that you note these specifications below so that they are readily available at all times.
MARK:
MODEL:
SERIES:
Keep the warranty Certificate or the sheet of technical date with the instructions Handbook during the appliance life. It contains important technical data.
Disposal
This appliance is marked according to the European directive 2002/96/EC on Waste Electrical and Electronic Equipment (WEEE).
This guideline is the frame of a European-wide validity of return and recycling on Waste Electrical and Electronic Equipment.






















