VR414111
Vario electric grill 400 series
Stainless steel Width 38 cm
Instruction Manual
VR414111 400 Series Vario Electric Grill
Color Variants
VR414111
Stainless steel
Width 38 cm
Included accessories
- 1 x cast pan.
- half size.
- 2 x cast iron grill.
- 1 x lava stones.
- 1 x cleaning brush.
Two zones can be operated together or separately
Cast pan, half size, for simultaneous frying and grilling on two separate surfaces
Open cast grill, lava stones
Solid stainless steel control knob
Precision crafting of 3 mm stainless steel
For surface mounting with a visible edge or for flush mounting
Can be combined perfectly with other Vario appliances of the 400 series
Capacity
Control knobs with illuminated ring, cooking zone and output level markings.
Electronic control in 12 output levels.
Features
Cooktop, lava stone trough and grease collecting insert from stainless steel.
Two zones, each 1500 W, can be operated together as a complete surface or each half separately.
Two-part cast grill.
Safety
Safety shut-off.
Pre-heat and residual heat indicator
Performance
Depending on the type of installation (surface-mounted or flush-mounted, with or without an appliance cover), the specific location of the cut-out and the knob positions may vary.
If combining several Vario appliances of the 400 series, a connection strip VA 420 must be placed between the appliances. Depending on the type of installation, the corresponding connection strip must be provided.
The bearing capacity and stability, in the case of thin worktops in particular, must be supported using suitable substructures. Take into account the appliance weight and additional loads.
Additional instructions for flush mounting:
Installation is possible in worktops made of stone, synthetics or solid wood. Heat resistance and watertight sealing of the cut edges must be observed. Concerning other materials please consult the worktop manufacturer.
The groove must be continuous and even, so that uniform placing of the appliance on the gasket is ensured. Do not use discontinuous lining.
The joint width may vary due to size tolerances of the combinations and of the worktop cut-out.
If installing several appliances in individual cut-outs allow for a division bar of minimum 50 mm between the individual cut-outs.
A minimum lateral clearance of at least 100 mm from adjacent heat-sensitive furniture or from the wall must be observed.
Appliance can be snapped into the worktop from above.
Appliance weight: approx. 26. kg
| Connection Total connected load 3.0 KW. Connecting cable 1.5 m without plug. Characteristics Product name/family Vario/Domino barbecue grill Built-in / Free-standing Built-in Energy input Electric Type of control Electronic | Grill grating material Cast iron Min. required niche size for installation (HxWxD) 118 x 360 x 492 Width of the appliance 380 Dimensions 118 x 380 x 520 Dimensions of the packed product (HxWxD) 400 x 460 x 600 Net weight 26.4 |
| Gross weight 30.2 Residual heat indicator Separate Location of control panel Hob front Basic surface material Cast iron Color of surface Stainless steel, Stainless steel Color of frame Stainless steel Length electrical supply cord 150 EAN code 4242006280154 | Electrical connection rating Gas connection rating Fuse protection 16 Voltage 220-240 Frequency 50-60 Included accessories 1 x cast pan, half size, 2 x cast iron grill, 1 x lava stones, 1 x cleaning brush Consumption and connection features 2023-01-27 Page 1 |
A: When installing with appliance cover, take the deeper cut-out into consideration (observe separate planning notes)
B: 133 mm in the area of the cable clamp (left, on the rear side)
C: 3.5 -0.5
6.5 +.50 in combinations with frameless induction hobs
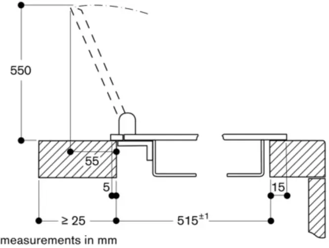
measurements in mm
A: When installing with appliance cover, take the deeper cut-out into consideration (observe separate planning notes)
B: 130 mm in the area of the cable clamp (left, on the rear side)
measurements in mm
Installation of the control knob; flush installation
Installation of the control knob; surface mounting
Installation with appliance cover, surface mounting
Longitudinal section
A: 3.5 -0.5
6.5+0.5:Stasin combinations with frameless induction hobs
B.: Fill with silicone
measurements in nun
View from above
A: When installing with appliance cover, take the deeper cut-out into consideration (observe separate planning notes)
measurements in mm
Ceoss-section
A: 3.5 -0.5
6.5+ 0.5 in combinations with frameless induction hobs B: Fill with silicone
When installing with appliance cover, pay attention to the deeper cut-out and the front and rear groove width.
measurements in mm
Installation with appliance cover, surface mounting
Installation with appliance cover, flush mounting


















