GAGGENAU VR414111 Vario Electric Grill 400 Series Width 38 cm User Guide
Handling
Control knobs with illuminated ring, cooking zone and output level markings. Electronic power control in 12 output levels.
Features
Stainless steel Cooktop, lava stone trough and grease collecting insert from stainless steel. Two zones, each 1500 W, can be operated together as a complete surface or each halve separately. Two-part cast grill.
Safety
Pre-heat and residual heat indicator. Safety shut-off.
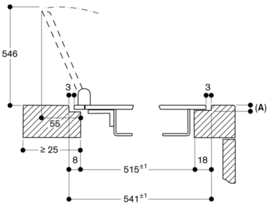
Planning notes
Depending on the type of installation (surface-mounted or flush-mounted, with or without an appliance cover), the specific location of the cut-out and the knob positions may vary. Appliance can be snapped into the worktop from above. If installing with the appliance cover VA 440 take into account the additional space required for the depth. If combining several Vario appliances of the 400 series, a connection strip VA 420 must be placed between the appliances. Depending on the type of installation, the corresponding connection strip must be provided. The bearing capacity and stability, in the case of thin worktops in particular, must be supported using suitable substructures. Take into account the appliance weight and additional loads. Additional instructions for flush mounting: Installation is possible in worktops made of stone, synthetics or solid wood. Heat resistance and watertight sealing of the cut edges must be observed. Concerning other materials please consult the worktop manufacturer. The groove must be continuous and even, so that uniform placing of the appliance on the gasket is ensured. Do not use discontinuous lining. The joint width may vary due to size tolerances of the combinations and of the worktop cut-out. If installing several appliances inindividual cut-outs allow for a division bar of minimum 50 mm between the individual cut-outs. A minimum lateral clearance of at least 100 mm from adjacent heat-sensitive furniture or from the wall must be observed. Appliance weight: approx. 26.
Characteristics Product name/family
Vario/Domino barbecue grill
Built-in / Free-standing
Built-in
Energy input
Electric
Type of control
Electronic
Grill grating material
Cast iron
Required niche size for installation (HxWxD)
118 x 360 x 492
Width of the appliance
380
Dimensions (HxWxD)
118 x 380 x 520
Dimensions of the packed product (HxWxD)
400 x 460 x 600
Net weight 26.386
Gross weight 30.2
Residual heat indicator separate
Location of control panel Hob front
Basic surface material Cast iron
Color of surface Stainless steel, Stainless steel
Color of frame Stainless steel
Approval certificates
Australia Standards, CCC, CE, China, China ROHS 20, Eurasian, G-Mark, Ukraine, VDE
Length electrical supply cord 150
EAN code 4242006280154
Electrical connection rating 3000
Gas connection rating
Fuse protection 16
Voltage 220-240
Frequency 50-60
VR414111
Vario electric grill 400 series Width 38 cm 2022-01-21
DIMENSION


INSTALLATION




LONGITUDINAL SECTION



INSTALLATION



















