lindab | for a better climate
Sealing clamp
SVK
Assembly
When installing the duct system leave an opening that is one or more cm longer than the fitting you may want to remove later on.
It is preferable to install the clamp before the fitting, in the direction of air flow, as this increases the likelihood of the fitting not being pushed out at the end, which is only pushed in. In particular, this applies to fittings with a large pressure drop, such as closed dampers. 
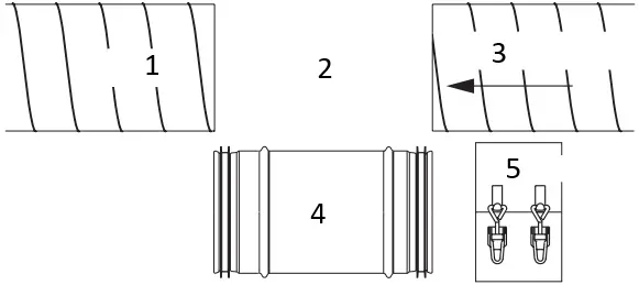
- Duct
- Opening
- Direction of air
- Fitting
- Sealing clamp
First install the clamp by inserting it from the side of the opening and then pushing it further along the duct past the end so that the opening remains free.

Then install the fitting by inserting it from the side of the opening and then pushing it in the opposite direction along the duct in the same way. A gap then develops between the fitting and the end of the duct.

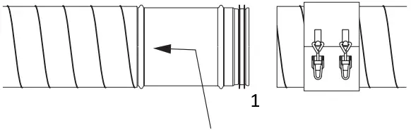
- Gap
This gap is covered by the clamp by pushing it back a bit. Then lock the clamp by closing the two eccentric locks.

Maintenance
The sealing clamp normally doesn’t requires any maintenance.
2022-06-14


















